TOP
|
特許
|
意匠
|
商標
特許ウォッチ
Twitter
他の特許を見る
10個以上の画像は省略されています。
公開番号
2025181334
公報種別
公開特許公報(A)
公開日
2025-12-11
出願番号
2024089264
出願日
2024-05-31
発明の名称
コーティング材製造方法、電極材料の製造方法、および電池の製造方法
出願人
株式会社神戸製鋼所
,
国立大学法人秋田大学
代理人
個人
,
個人
,
個人
主分類
H01M
4/525 20100101AFI20251204BHJP(基本的電気素子)
要約
【課題】本開示は、電極材料を好適にコーティングできるコーティング材製造方法の提供を目的とする。
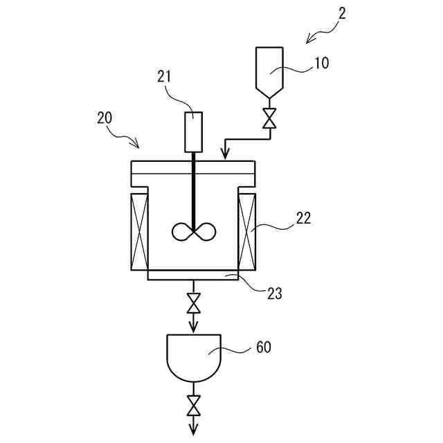
【解決手段】本開示のコーティング材製造方法は、リチウム酸化物を含む電極材料のコーティング材製造方法であって、植物系バイオマスの溶剤への混合によりスラリーを得るバイオマス混合工程と、上記バイオマス混合工程で得られた上記スラリーを加熱する加熱工程と、上記加熱工程で加熱した上記スラリーを固液分離する固液分離工程と、上記固液分離工程で得られた液相を蒸留する蒸留工程とを備える。
【選択図】図1
特許請求の範囲
【請求項1】
リチウム酸化物を含む電極材料のコーティング材製造方法であって、
植物系バイオマスの溶剤への混合によりスラリーを得るバイオマス混合工程と、
上記バイオマス混合工程で得られた上記スラリーを加熱する加熱工程と、
上記加熱工程で加熱した上記スラリーを固液分離する固液分離工程と、
上記固液分離工程で得られた液相を蒸留する蒸留工程と
を備えるコーティング材製造方法。
続きを表示(約 880 文字)
【請求項2】
上記リチウム酸化物がニッケルマンガン酸リチウムを含む請求項1に記載のコーティング材製造方法。
【請求項3】
上記加熱工程における加熱温度が280℃以上400℃以下である請求項1または請求項2に記載のコーティング材製造方法。
【請求項4】
リチウム酸化物を含有する電極材料前駆物質をコーティング材で被覆する被覆工程を備え、
上記コーティング材として、請求項1に記載のコーティング材製造方法により製造されたコーティング材を用いる電極材料の製造方法。
【請求項5】
上記被覆工程が、
上記コーティング材を上記電極材料前駆物質と混合するコーティング材混合工程と、
上記コーティング材混合工程で得られた混合物を酸素含有雰囲気下で焼成する焼成工程と
を備える請求項4に記載の電極材料の製造方法。
【請求項6】
上記焼成工程における焼成温度が280℃以上450℃以下である請求項5に記載の電極材料の製造方法。
【請求項7】
上記リチウム酸化物がリン酸鉄リチウムを含み、
上記被覆工程が、
上記コーティング材を上記電極材料前駆物質と混合するコーティング材混合工程と、
上記コーティング材混合工程で得られた混合物を不活性雰囲気下で焼成する焼成工程と
を備える請求項4に記載の電極材料の製造方法。
【請求項8】
上記焼成工程における焼成温度が400℃以上900℃以下である請求項7に記載の電極材料の製造方法。
【請求項9】
上記コーティング材混合工程において、上記焼成工程後のカーボン量が0.l質量%以上3.0質量%以下となるように混合比率を調整する請求項5から請求項8のいずれか1項に記載の電極材料の製造方法。
【請求項10】
正極材料を製造する正極材料製造工程を備え、
上記正極材料製造工程で、請求項4に記載の電極材料の製造方法が用いられる電池の製造方法。
発明の詳細な説明
【技術分野】
【0001】
本開示は、コーティング材製造方法、電極材料の製造方法、および電池の製造方法に関する。
続きを表示(約 2,100 文字)
【背景技術】
【0002】
化石燃料からの脱却が望まれる中、電気自動車などの市場伸長に伴い、リチウムイオン電池の高容量化や高出力化の需要が高まっている。リチウム二次電池用の電極材としては、高電位かつ高容量であることが求められる。例えばLiCoO
2
は高容量な正極材料として広く使われているが、コバルト(Co)の生産国の偏りによるサプライチェーンやコストの安定性の問題、充電時の不安定性といった安全性の問題などがある。そこで、コバルトの一部をニッケル(Ni)やマンガン(Mn)に置換した三元系(NCM系)正極材や、コバルトを使わないリン酸鉄系正極材などが開発されている。
【0003】
電極材の性能としては高電位かつ高容量の他にサイクル特性も要求される。例えばNCM系の正極材は、電解液と接触することと、電解液の分解および表面抵抗の増加によって、サイクル特性の劣化が生じる。また、リン酸鉄系の正極材であるLiFePO
4
(LFP)は相対的に電気伝導度が低く(10
-10
~10
-5
S/cm)、高電流レートでは電位や容量が低下するなど、高速充放電時の性能に難がある。加えて、広く普及しているLiCoO
2
(LCO)においても、その電気伝導度の大きさ(約10
-3
S/cm)は必ずしも十分とはいえない。
【0004】
LiNi
0.5
Mn
1.5
O
4
(LNMO)は、比較的大きな理論容量に加え高い動作電位(約4.7V vs. Li/Li
+
)を持ち、さらにレアメタルであるコバルトフリーであるため、高エネルギー密度の新規正極材料としての期待が高い。一方で、高電圧ゆえに電解液との反応によるサイクル特性の低下が顕著である点、電気伝導度が低く(10
-6
S/cm)高速充放電時に電位・容量が低下しやすい。
【0005】
これらの問題を解決するため、正極材表面のコーティングが行われている。例えば、無機ポリマーの一種であるポリシラザンをLFP、LCO、LNMOなどの正極活物質に添加することでSiO
2
コーティングを施し、電解液が正極と反応することを抑制する手法が提案されている(特許文献1参照)。また、グリセロール等の有機溶媒やグルコース、スクロース等の有機化合物を炭素源としてLFP前駆体と混合し、不活性雰囲気下で焼成することで炭素コーティングされたLFPナノ粉末を製造する手法が提案されている(特許文献2-4参照)。
【先行技術文献】
【特許文献】
【0006】
特開2022-071406号公報
特表2015-530965号公報
特表2016-509564号公報
特表2015-530344号公報
【発明の概要】
【発明が解決しようとする課題】
【0007】
しかし、無機材料によるコーティングでは電子伝導性の改善は期待できない。また、炭素によるコーティングでは、不活性雰囲気下での炭素との混合焼成は、炭素が正極活物質中のCo、NiおよびMnを還元する。Coを含む材料では、正極材への適用には制限がある。また、NiおよびMnを含む材料では、結晶構造の不安定化につながりやすい。このため、焼成は空気中(酸素存在下)で行う必要があるが、Niの触媒作用により、空気雰囲気では炭素がCO
2
となる量が増加するため、良好なコーティングを得にくい。また、CO
2
の排出は、深刻化する地球温暖化問題にも反することとなる。
【0008】
本開示は、上述のような事情に基づいてなされたものであり、電極材料を好適にコーティングできるコーティング材製造方法、このコーティング材製造方法により製造されたコーティング材を用いた電極材料の製造方法および電池の製造方法の提供を目的とする。
【課題を解決するための手段】
【0009】
本開示の一態様に係るコーティング材製造方法は、リチウム酸化物を含む電極材料のコーティング材製造方法であって、植物系バイオマスの溶剤への混合によりスラリーを得るバイオマス混合工程と、上記バイオマス混合工程で得られた上記スラリーを加熱する加熱工程と、上記加熱工程で加熱した上記スラリーを固液分離する固液分離工程と、上記固液分離工程で得られた液相を蒸留する蒸留工程とを備える。
【0010】
本開示の別の一態様に係る電極材料の製造方法は、リチウム酸化物を含有する電極材料前駆物質をコーティング材で被覆する被覆工程を備え、上記コーティング材として、本開示のコーティング材製造方法により製造されたコーティング材を用いる。
(【0011】以降は省略されています)
この特許をJ-PlatPat(特許庁公式サイト)で参照する
関連特許
他の特許を見る