TOP
|
特許
|
意匠
|
商標
特許ウォッチ
Twitter
他の特許を見る
公開番号
2025181314
公報種別
公開特許公報(A)
公開日
2025-12-11
出願番号
2024089226
出願日
2024-05-31
発明の名称
車両制御装置、および、エネルギー制御方法
出願人
株式会社デンソーテン
代理人
弁理士法人 佐野特許事務所
主分類
B60W
20/15 20160101AFI20251204BHJP(車両一般)
要約
【課題】災害時にハイブリッド車両を利用して電源電力を適切に確保することができる技術を提供する。
【解決手段】例示的な車両制御装置は、外部から車載バッテリの充電が可能なハイブリッド車両の制御装置である。当該制御装置は、前記ハイブリッド車両の存在場所における災害および停電の発生を検出した場合に、エンジンを駆動させて前記車載バッテリの充電を行わせる。
【選択図】図2
特許請求の範囲
【請求項1】
外部から車載バッテリの充電が可能なハイブリッド車両の制御装置であって、
前記ハイブリッド車両の存在場所における災害および停電の発生を検出した場合に、エンジンを駆動させて前記車載バッテリの充電を行わせる、車両制御装置。
続きを表示(約 1,000 文字)
【請求項2】
前記災害および停電の発生の検出に加えて、前記存在場所における津波情報を検出した場合に、前記車載バッテリの充電を行わせる、請求項1に記載の車両制御装置。
【請求項3】
前記災害および停電の発生を検出した場合であって、前記津波情報を検出しない場合に、前記ハイブリッド車両のユーザに対する確認通知の結果に応じて、前記車載バッテリの充電を行わせるか否かを変更する、請求項2に記載の車両制御装置。
【請求項4】
前記車載バッテリの充電を行わせない場合に、前記車載バッテリを前記ユーザの家庭用電源として機能させる、請求項3に記載の車両制御装置。
【請求項5】
前記ユーザの家庭に停電時の代替電源が有る場合、前記確認通知の処理を行うことなく、前記車載バッテリの充電を行わせる、請求項4に記載の車両制御装置。
【請求項6】
前記車載バッテリの残量が閾値以上である場合に、前記車載バッテリの充電を行わせる代わりに、前記ハイブリッド車両のユーザに燃料の補給を促す通知処理を行う、請求項1から5のいずれか1項に記載の車両制御装置。
【請求項7】
前記車載バッテリの残量が閾値以上である場合に、前記車載バッテリの充電を行わせる代わりに、前記ハイブリッド車両のユーザに前記車載バッテリを前記ユーザの家庭用電源として利用するか否かを確認する通知処理を行う、請求項1から5のいずれか1項に記載の車両制御装置。
【請求項8】
前記災害の発生を検出した場合であって前記停電を検出しない場合に、前記車載バッテリの外部充電を行わせる、請求項1から5のいずれか1項に記載の車両制御装置。
【請求項9】
前記災害の発生を検出した場合であって前記停電を検出しない場合に、前記ハイブリッド車両のユーザに対して、前記車載バッテリの外部充電を推奨する通知処理を行う、請求項1から5のいずれか1項に記載に車両制御装置。
【請求項10】
コンピュータによって実行される、外部から車載バッテリの充電が可能なハイブリッド車両におけるエネルギー制御方法であって、
前記ハイブリッド車両の存在場所における災害および停電の発生を検出すると、エンジンの駆動による前記車載バッテリの充電を自動的に行う、エネルギー制御方法。
発明の詳細な説明
【技術分野】
【0001】
本発明は、ハイブリッド車両におけるエネルギーの制御を行う技術に関する。
続きを表示(約 1,600 文字)
【背景技術】
【0002】
従来、災害後の電力を可能な限り確保する技術が知られる(例えば特許文献1参照)。特許文献1には、情報センターから災害情報を受信した場合に、系統電力や自然エネルギーによってハイブリッド自動車や電気自動車の車両用蓄電池を充電することが開示される。非常時において外部に電力を供給可能な機能を備えたハイブリッド自動車等においては、このように車両用蓄電池の充電を行うことで災害後の電力の確保が可能である。
【先行技術文献】
【特許文献】
【0003】
特開2013-9488号公報
【発明の概要】
【発明が解決しようとする課題】
【0004】
ところで、外部充電可能なハイブリッド車両として、PHEV(Plug-in Hybrid Electric Vehicle)が知られる。PHEVには、ガソリンでエンジンを運転することによって発電機を駆動し、発電機により発電された電力を車載バッテリに充電することが可能なタイプが存在する。
【0005】
このようなPHEVにおいては、災害の発生時に車載バッテリおよび燃料の容量を早期に満杯とすることができれば、電源電力(エネルギー)を最大限に確保できることになる。しかしながら、このようなPHEVの特性を踏まえた、災害時における電源電力の適切な確保手段については、特許文献1を含めて従来検討されていない。外部充電可能なハイブリッド車両(PHEV)を利用して、災害時に電源電力を適切に確保することができると、ハイブリッド車両の利便性をさらに向上できると考えられる。
【0006】
本発明は、上記の点に鑑みて、災害時にハイブリッド車両を利用して電源電力を適切に確保することができる技術を提供することを目的とする。
【課題を解決するための手段】
【0007】
例示的な本発明の車両制御装置は、外部から車載バッテリの充電が可能なハイブリッド車両の制御装置である。当該制御装置は、前記ハイブリッド車両の存在場所における災害および停電の発生を検出した場合に、エンジンを駆動させて前記車載バッテリの充電を行わせる。
【発明の効果】
【0008】
例示的な本発明によれば、ハイブリッド車両の存在場所において災害および停電が発生すると、ハイブリッド車両において、自動的にエンジンの駆動により車載バッテリの充電が行われる。このために、災害発生から早期に車載バッテリの充電量を増やすことができる。そして、車載バッテリの早期充電の後に燃料の補給を行うことによって、車載バッテリの充電量だけでなく、当該バッテリの充電を可能とする燃料も早期に増やすことができる。すなわち、例示的な本発明によれば、災害発生から早期に、ハイブリッド車両に蓄えられる電源電力(エネルギー)を可能な限り増やすことができる。
【図面の簡単な説明】
【0009】
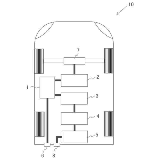
ハイブリッド車両の概略の構成を示す模式図
エネルギー制御システムの概略の構成を示す図
エネルギー制御システムを用いたエネルギー制御の基本的な考え方を説明するための図
車両制御装置の概略の構成を示すブロック図
車両用制御装置により実行されるエネルギー制御の流れを例示するフローチャート
図5において符号「A」で示す部分の処理の詳細例を示すフローチャート
図5において符号「B」で示す部分の処理の詳細例を示すフローチャート
図5において符号「C」で示す部分の処理の詳細例を示すフローチャート
【発明を実施するための形態】
【0010】
以下、本発明の例示的な実施形態について、図面を参照しながら詳細に説明する。
(【0011】以降は省略されています)
この特許をJ-PlatPat(特許庁公式サイト)で参照する
関連特許
他の特許を見る