TOP
|
特許
|
意匠
|
商標
特許ウォッチ
Twitter
他の特許を見る
10個以上の画像は省略されています。
公開番号
2025181301
公報種別
公開特許公報(A)
公開日
2025-12-11
出願番号
2024089202
出願日
2024-05-31
発明の名称
液体吐出装置および液体吐出装置の制御方法
出願人
キヤノン株式会社
代理人
弁理士法人谷・阿部特許事務所
主分類
B41J
2/01 20060101AFI20251204BHJP(印刷;線画機;タイプライター;スタンプ)
要約
【課題】操作感を損なうことなく、消費電力を抑制することができる液体吐出装置および液体吐出装置の制御方法を提供する。
【解決手段】記録部51における搬送ローラ2に記録媒体を突き当てて行う傾斜補正動作と、読取部52の動作とを排他制御する。
【選択図】図9
特許請求の範囲
【請求項1】
記録媒体に画像を記録する記録部と、
原稿の画像を読み取る読取部と、
前記記録部および前記読取部を制御する制御手段と、
を備え、
前記制御手段は、前記記録部および前記読取部の一方が、消費電力が大きい所定動作を行う期間において、他方の動作を制限することを特徴とする液体吐出装置。
続きを表示(約 850 文字)
【請求項2】
前記記録部は、液体を吐出する吐出ヘッドと、前記吐出ヘッドによって画像が記録される記録媒体を搬送する搬送手段とを有し、
前記所定動作は、記録媒体の第1面への記録を行い、前記搬送手段によって当該記録媒体の表裏を反転させた後、前記第1面の裏面である第2面への記録の前に、当該記録媒体の傾斜を補正する傾斜補正動作である請求項1に記載の液体吐出装置。
【請求項3】
前記制御手段は、前記記録部が前記傾斜補正動作を行う期間において、前記読取部の動作を制限する請求項2に記載の液体吐出装置。
【請求項4】
前記読取部の動作の制限は、動作の停止および電力消費を抑えて動作させることを含む請求項3に記載の液体吐出装置。
【請求項5】
前記搬送手段は、同一のモータにより駆動される、前記記録媒体を搬送する搬送ローラと、表裏を反転後の記録媒体を搬送する中継ローラと、を有し、
前記傾斜補正動作では、前記中継ローラが記録媒体を搬送することで、記録媒体の先端を前記搬送ローラに当接させる請求項2に記載の液体吐出装置。
【請求項6】
前記モータは、ACモータもしくは、DCモータである請求項5に記載の液体吐出装置。
【請求項7】
前記読取部は、複数枚の原稿を連続して読み取ることができるADFスキャナである、請求項1に記載の液体吐出装置。
【請求項8】
前記読取部は、原稿を固定して読み取るフラットベットスキャナである請求項1に記載の液体吐出装置。
【請求項9】
記録媒体に画像を記録する記録部と、
原稿の画像を読み取る読取部と、
を備えた液体吐出装置の制御方法であり、
前記記録部および前記読取部を制御する制御工程では、前記記録部および前記読取部の一方が、消費電力が大きい所定動作を行う期間において、他方の動作を制限することを特徴とする液体吐出装置の制御方法。
発明の詳細な説明
【技術分野】
【0001】
本発明は、液体吐出装置および液体吐出装置の制御方法に関する。
続きを表示(約 1,200 文字)
【背景技術】
【0002】
液体吐出装置では、モータや記録ヘッドなど複数の電力消費部が単一の電源から電力の供給を受けることが一般的である。一方で、装置サイズの大型化を避けるため、あるいは環境配慮の観点からも電源容量を小さくすることが求められる。そのため、各電力消費部の電力消費量合算であるピーク電力を抑えるように、各電力消費部を制御することが必要である。
【0003】
特許文献1には、読取部と記録部とを備えた制御装置において、読取動作と記録動作とを同時に行うことなく、順次、読取動作と記録動作とを行うことで、装置全体の消費電力を抑制することが開示されている。
【先行技術文献】
【特許文献】
【0004】
特開平4-068862号公報
【発明の概要】
【発明が解決しようとする課題】
【0005】
しかし、特許文献1のように読取動作と記録動作とを同時に行わず順次行う場合、読取動作と記録動作とを並行して動作する場合に比べて時間を要し、ユーザの操作感を損なう虞がある。
【0006】
よって本発明は、ユーザの操作感を損なうことなく、消費電力を抑制することができる液体吐出装置および液体吐出装置の制御方法を提供する。
【課題を解決するための手段】
【0007】
そのため本発明の液体吐出装置は、記録媒体に画像を記録する記録部と、原稿の画像を読み取る読取部と、前記記録部および前記読取部を制御する制御手段と、を備え、前記制御手段は、前記記録部および前記読取部の一方が、消費電力が大きい所定動作を行う期間において、他方の動作を制限することを特徴とする。
【発明の効果】
【0008】
本発明によれば、操作感を損なうことなく、消費電力を抑制することができる液体吐出装置および液体吐出装置の制御方法を提供することができる。
【図面の簡単な説明】
【0009】
液体吐出装置を示した図である。
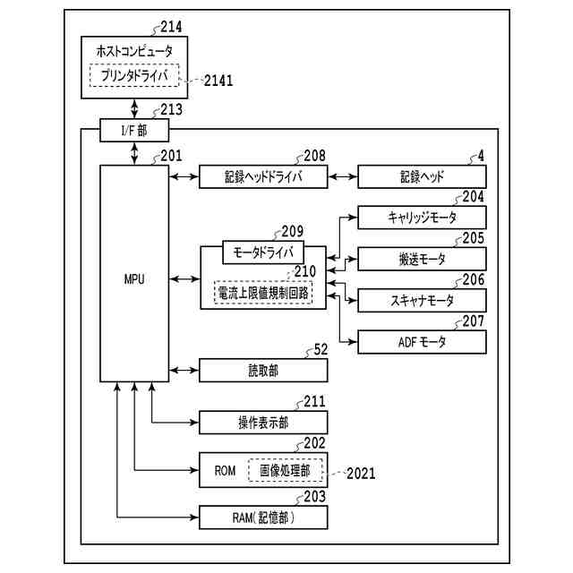
プリントシステムの制御部を示すブロック図である。
液体吐出装置の断面図である。
液体吐出装置における記録媒体の搬送部を示す断面図である。
読取動作を行うフラッドベットスキャナを示した図である。
ADFスキャナ部における媒体搬送パスを示した断面図である。
モータにおける電流とトルクとの関係を示したグラフである。
消費電力と、消費電力合計を示したグラフである。
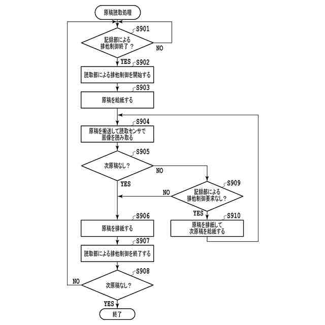
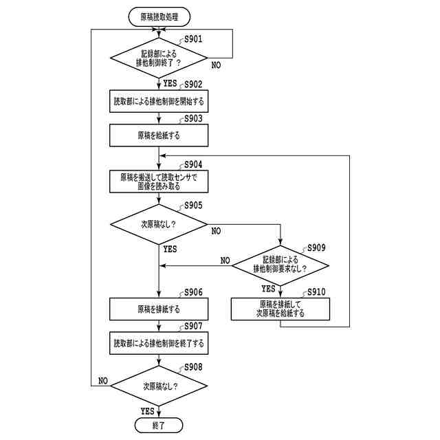
原稿読取処理を示したフローチャートである。
両面記録処理を示すフローチャートである。
表裏反転処理を示したフローチャートである。
【発明を実施するための形態】
【0010】
以下、図面を参照して本発明の実施の形態について説明する。
(【0011】以降は省略されています)
この特許をJ-PlatPat(特許庁公式サイト)で参照する
関連特許
他の特許を見る