TOP
|
特許
|
意匠
|
商標
特許ウォッチ
Twitter
他の特許を見る
公開番号
2025181237
公報種別
公開特許公報(A)
公開日
2025-12-11
出願番号
2024089091
出願日
2024-05-31
発明の名称
冷却装置、制御方法、プログラムおよび記憶媒体
出願人
キヤノン株式会社
代理人
個人
,
個人
,
個人
,
個人
,
個人
主分類
H04N
23/52 20230101AFI20251204BHJP(電気通信技術)
要約
【課題】 除湿素子の電力消費量を低減しつつ筐体内の結露を防止し、冷却対象を効率よく冷却すること。
【解決手段】 筐体内の冷却対象を冷却するための冷却装置であって、前記冷却対象を冷却する冷却手段と、前記筐体の内部を除湿する除湿手段と、前記筐体の内部温度を取得する第1の取得手段と、前記筐体の内部湿度を取得する第2の取得手段と、前記冷却手段の冷却面温度を取得する第3の取得手段と、前記除湿手段の起動および停止を制御する制御手段と、を有し、前記制御手段は、前記内部温度および前記内部湿度に基づいて、前記筐体内の露点温度を算出し、前記露点温度と前記冷却面温度との差が閾値より小さい場合に前記除湿手段を起動させ、前記冷却手段の出力に基づいて前記閾値を調整することを特徴とする。
【選択図】 図1
特許請求の範囲
【請求項1】
筐体内の冷却対象を冷却するための冷却装置であって、
前記冷却対象を冷却する冷却手段と、
前記筐体の内部を除湿する除湿手段と、
前記筐体の内部温度を取得する第1の取得手段と、
前記筐体の内部湿度を取得する第2の取得手段と、
前記冷却手段の冷却面温度を取得する第3の取得手段と、
前記除湿手段の起動および停止を制御する制御手段と、を有し、
前記制御手段は、
前記内部温度および前記内部湿度に基づいて、前記筐体内の露点温度を算出し、
前記露点温度と前記冷却面温度との差が閾値より小さい場合に前記除湿手段を起動させ、
前記冷却手段の出力に基づいて前記閾値を調整することを特徴とする冷却装置。
続きを表示(約 820 文字)
【請求項2】
前記制御手段は、前記冷却手段の出力が大きいほど前記閾値を小さくすることを特徴とする請求項1に記載の冷却装置。
【請求項3】
前記制御手段は、前記冷却手段の出力が小さいほど前記閾値を大きくすることを特徴とする請求項1に記載の冷却装置。
【請求項4】
前記筐体の外部温度を取得する第4の取得手段を更に有し、
前記制御手段は、前記内部温度が前記外部温度より低い場合に前記冷却手段の出力を下げることを特徴とする請求項1に記載の冷却装置。
【請求項5】
前記冷却手段の放熱面の熱を放熱するためのファンをさらに有し、
前記冷却手段が動作していない場合に前記ファンを停止することを特徴とする請求項1に記載の冷却装置。
【請求項6】
前記第1の取得手段は、前記筐体の内部に配置された内部温度センサであり、前記第2の取得手段は、前記筐体の内部に配置された内部湿度センサであり、前記第3の取得手段は、前記冷却手段の冷却面または該冷却面の近傍に配置された冷却面温度センサであることを特徴とする請求項1に記載の冷却装置。
【請求項7】
前記第4の取得手段は、前記筐体の外部に配置された外部温度センサであることを特徴とする請求項4に記載の冷却装置。
【請求項8】
前記冷却手段は冷却素子であって、前記除湿手段は除湿素子であることを特徴とする請求項1に記載の冷却装置。
【請求項9】
前記制御手段は、前記冷却面温度と目標温度との差に基づいて、前記冷却手段の出力を制御することを特徴とする請求項1に記載の冷却装置。
【請求項10】
前記制御手段は、前記目標温度よりも前記冷却面温度が大きい場合に、前記冷却手段の出力を上げることを特徴とする請求項9に記載の冷却装置。
(【請求項11】以降は省略されています)
発明の詳細な説明
【技術分野】
【0001】
冷却装置、制御方法、プログラムおよび記憶媒体に関する。
続きを表示(約 1,400 文字)
【背景技術】
【0002】
従来、冷却素子としてペルチェ素子を内蔵した冷却装置が知られている。冷却装置では、冷却素子が雰囲気温度以下に冷却できるという特性上、冷却装置の筐体内で冷却素子の冷却による結露が発生する可能性がある。冷却装置の筐体内で結露が発生すると、電気部品がショートする等の問題が考えられる。
【0003】
この対策として、特許文献1には、冷却素子と除湿素子を備える撮像装置において、除湿素子の除湿限界である限界湿度に到達する時間以降に、目標温度となるような電力を冷却素子に供給することで、結露の発生を防止する技術が開示されている。
【先行技術文献】
【特許文献】
【0004】
特開2009-152971
【発明の概要】
【発明が解決しようとする課題】
【0005】
しかしながら、特許文献1では、除湿素子を常に動作させるため、筐体内を結露が発生しない湿度まで除湿した後も継続的に除湿し続け、必要以上に除湿素子の電力を消費する状態となる。必要以上の電力の消費は、筐体内の温度の上昇に要因となり得る。
【0006】
したがって本発明が解決しようとする課題は、除湿素子の電力消費量を低減しつつ筐体内の結露を防止し、冷却対象を効率よく冷却することである。
【課題を解決するための手段】
【0007】
上記課題を解決するために、本発明の一態様に係る冷却装置は、筐体内の冷却対象を冷却するための冷却装置であって、前記冷却対象を冷却する冷却手段と、前記筐体の内部を除湿する除湿手段と、前記筐体の内部温度を取得する第1の取得手段と、前記筐体の内部湿度を取得する第2の取得手段と、前記冷却手段の冷却面温度を取得する第3の取得手段と、前記除湿手段の起動および停止を制御する制御手段と、を有し、前記制御手段は、前記内部温度および前記内部湿度に基づいて、前記筐体内の露点温度を算出し、前記露点温度と前記冷却面温度との差が閾値より小さい場合に前記除湿手段を起動させ、前記冷却手段の出力に基づいて前記閾値を調整することを特徴とする。
【発明の効果】
【0008】
本発明によれば、除湿素子の電力消費量を低減しつつ筐体の結露を防止し、冷却対象を効率よく冷却することができる。
【図面の簡単な説明】
【0009】
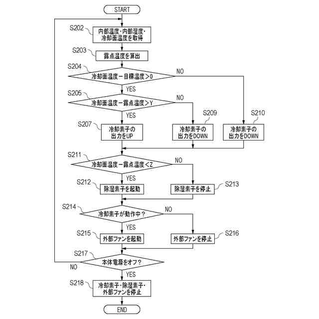
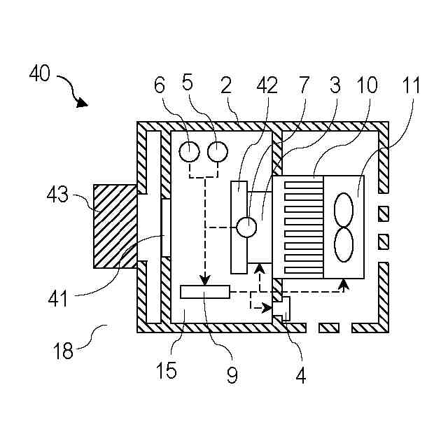
カメラハウジングの装置構成を示す図。
カメラハウジングの冷却素子による冷却処理および除湿素子による除湿処理を示すフローチャート。
カメラハウジングの異なる閾値Zの場合の冷却素子の出力に対する冷却面温度と露点温度の関係を示すグラフ。
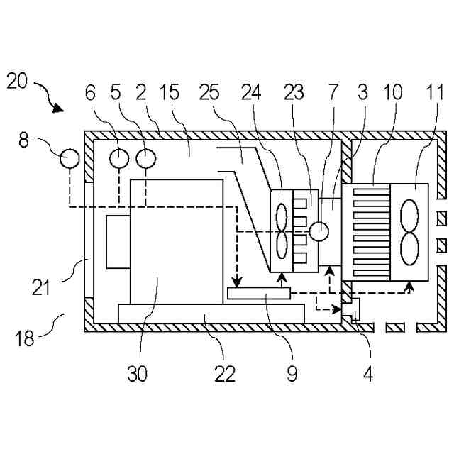
撮像装置の装置構成を示す図。
撮像装置の冷却素子による冷却処理および除湿素子による除湿処理を示すフローチャート。
【発明を実施するための形態】
【0010】
以下、添付図面を参照して、本発明を実施するための形態について詳細に説明する。以下に説明する実施形態は、本発明の実現手段としての一例であり、本発明が適用される装置の構成や各種条件によって適宜修正又は変更されるべきものであり、本発明は以下の実施形態に限定されるものではない。また、後述する各実施形態の一部を適宜組み合わせて構成してもよい。
(【0011】以降は省略されています)
この特許をJ-PlatPat(特許庁公式サイト)で参照する
関連特許
他の特許を見る