TOP
|
特許
|
意匠
|
商標
特許ウォッチ
Twitter
他の特許を見る
公開番号
2025181210
公報種別
公開特許公報(A)
公開日
2025-12-11
出願番号
2024089053
出願日
2024-05-31
発明の名称
生体適合材及び生体適合材の製造方法
出願人
デンカ株式会社
代理人
弁理士法人IPX
主分類
A61L
27/10 20060101AFI20251204BHJP(医学または獣医学;衛生学)
要約
【課題】十分な抗菌性を有する生体適合材、及び生体適合材の製造方法を提供する。
【解決手段】本発明の一態様によれば、生体適合材が提供される。この生体適合材は、金属材料で構成された基部と、基部の表面の少なくとも一部を被覆し、窒化ケイ素を含有する多孔質のセラミックス層とを備える。
【選択図】図1
特許請求の範囲
【請求項1】
生体適合材であって、
金属材料で構成された基部と、
前記基部の表面の少なくとも一部を被覆し、窒化ケイ素を含有する多孔質のセラミックス層とを備える、生体適合材。
続きを表示(約 1,000 文字)
【請求項2】
請求項1に記載の生体適合材において、
前記セラミックス層の空隙率は、3%以上70%以下である、生体適合材。
【請求項3】
請求項1に記載の生体適合材において、
前記基部は、前記セラミックス層側の表面に金属窒化物層を有する、生体適合材。
【請求項4】
請求項1に記載の生体適合材において、
前記金属材料は、周期律表の第3族~第12族に属する金属原子のうちの少なくとも1種を含有する、生体適合材。
【請求項5】
請求項4に記載の生体適合材において、
前記金属材料は、チタン(Ti)、バナジウム(V)、鉄(Fe)、クロム(Cr)、ニッケル(Ni)、モリブデン(Mo)、マンガン(Mn)、コバルト(Co)、ニオブ(Nb)、ジルコニウム(Zr)、タンタル(Ta)、タングステン(W)、銅(Cu)、パラジウム(Pd)、イリジウム(Ir)、白金(Pt)、及び金(Au)からなる群より選択される少なくとも1種を含有する、生体適合材。
【請求項6】
請求項5に記載の生体適合材において、
前記金属材料は、チタン(Ti)を主成分として含有する、生体適合材。
【請求項7】
請求項1に記載の生体適合材において、
前記セラミックス層による前記基部の前記表面の被覆率は、30%以上95%以下である、生体適合材。
【請求項8】
請求項1に記載の生体適合材において、
前記セラミックス層中の前記窒化ケイ素の含有量は、30質量%以上100質量%以下である、生体適合材。
【請求項9】
生体適合材の製造方法であって、
金属材料で構成された基部と、ケイ素(Si)粒子を含む粉末とを用意する第1の工程と、
前記基部と前記粉末とを接触させた状態で、窒素を含有する雰囲気中において焼成することにより、前記基部の表面の少なくとも一部を被覆し、窒化ケイ素を含有する多孔質のセラミックス層を形成する第2の工程とを備える、生体適合材の製造方法。
【請求項10】
請求項9に記載の生体適合材の製造方法において、
前記第2の工程において、前記粉末を前記基部の表面に付与した後、前記基部を前記粉末に埋設する、生体適合材の製造方法。
(【請求項11】以降は省略されています)
発明の詳細な説明
【技術分野】
【0001】
本発明は、生体適合材及び生体適合材の製造方法に関する。
続きを表示(約 1,600 文字)
【背景技術】
【0002】
従来から、ハイドロキシアパタイト製の焼結体が骨補填材(生体適合材)として使用されている(特許文献1参照)。ハイドロキシアパタイトは、優れた生体親和性及び高い骨伝導性を有する。しかしながら、ハイドロキシアパタイトは、抗菌性を示さないため、骨補填材を生体に移植した後には、抗菌剤等を投与して、感染症の発症を予防する処置が行われる。
【先行技術文献】
【特許文献】
【0003】
特開2003-286073号公報
【発明の概要】
【発明が解決しようとする課題】
【0004】
本発明では上記事情に鑑み、十分な抗菌性を有する生体適合材、及び生体適合材の製造方法を提供することとした。
【課題を解決するための手段】
【0005】
本発明の一態様によれば、生体適合材が提供される。この生体適合材は、金属材料で構成された基部と、基部の表面の少なくとも一部を被覆し、窒化ケイ素を含有する多孔質のセラミックス層とを備える。
【0006】
かかる態様によれば、十分な抗菌性を有する生体適合材を得ることができる。
【図面の簡単な説明】
【0007】
本実施形態の生体適合材の構成を模式的に示す図である。
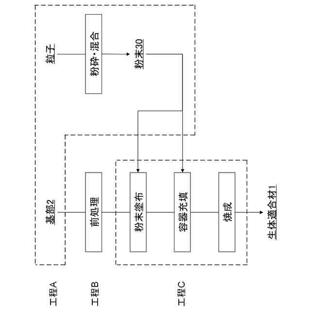
本実施形態の生体適合材の製造方法を示す工程図である。
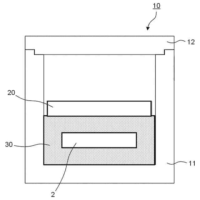
焼成の際に基部を粉末に埋設した状態を示す概略図である。
No.A1及びA2のサンプルの外観の写真である。
No.A1のサンプルのセラミックス層の厚さ方向に沿った断面の走査電子顕微鏡(SEM)画像(10000倍)である。
セラミックス層の密着性試験の方法を説明するための図である。
【発明を実施するための形態】
【0008】
以下、図面を用いて本開示の実施形態について説明する。以下に示す実施形態中で示した各種特徴事項は、互いに組み合わせ可能である。
まず、本実施形態の生体適合材について説明する。
図1は、本実施形態の生体適合材の構成を模式的に示す図である。
図1に示す生体適合材1は、金属材料で構成された基部2と、基部2の表面の少なくとも一部を被覆し、窒化ケイ素を含有する多孔質のセラミックス層3とを備えている。
【0009】
基部2を構成する金属材料には、生体為害性がないか又は極めて少ないものが好適に使用される。
かかる金属材料は、周期律表の第3族~第12族に属する金属原子のうちの少なくとも1種を含有することが好ましい。これらの金属原子を含有する金属材料で基部2を構成することにより、基部2の硬度も高め易い。
これらの中でも、金属材料は、チタン(Ti)、バナジウム(V)、鉄(Fe)、クロム(Cr)、ニッケル(Ni)、モリブデン(Mo)、マンガン(Mn)、コバルト(Co)、ニオブ(Nb)、ジルコニウム(Zr)、タンタル(Ta)、タングステン(W)、銅(Cu)、パラジウム(Pd)、イリジウム(Ir)、白金(Pt)、及び金(Au)からなる群より選択される少なくとも1種を含有することがより好ましく、チタン(Ti)を主成分として含有することがさらに好ましい。これらの金属原子を含む金属材料(金属単体又は合金)は、生体為害性が特に少ないためである。
【0010】
ここで、本明細書中において「主成分」とは、複数の成分を含む場合に最も多く含まれる成分をいう。「主成分」以外の成分を「副成分」という。基部2は、好適実施形態において、主成分であるチタンのみからなっていてもよいし、主成分とは異なる副成分を含んでいてもよい。
(【0011】以降は省略されています)
この特許をJ-PlatPat(特許庁公式サイト)で参照する
関連特許
他の特許を見る