TOP
|
特許
|
意匠
|
商標
特許ウォッチ
Twitter
他の特許を見る
10個以上の画像は省略されています。
公開番号
2025181202
公報種別
公開特許公報(A)
公開日
2025-12-11
出願番号
2024089036
出願日
2024-05-31
発明の名称
接触抵抗測定装置及び接触抵抗測定方法
出願人
株式会社神戸製鋼所
代理人
弁理士法人栄光事務所
主分類
B23K
11/24 20060101AFI20251204BHJP(工作機械;他に分類されない金属加工)
要約
【課題】実際の抵抗スポット溶接の溶接条件を正確に模擬しつつ、特定の期間の接触抵抗を選択的に測定できる接触抵抗測定装置及び接触抵抗測定方法を提供する。
【解決手段】接触抵抗測定装置100は、金属板23,25を挟み込む一対の電極29A,29Bと、一対の電極29A,29Bの間を加圧する加圧機構31と、金属板23,25に流す測定電流に対する接触抵抗を測定する抵抗測定部55と、抵抗スポット溶接時の加圧パターンに基づく加圧力の情報、及び接触抵抗の測定期間の情報が入力される入力部57と、加圧機構31及び抵抗測定部55を制御する制御部53を備える。制御部53は、加圧機構31を駆動して入力部57から入力された加圧力に応じて金属板23,25に加圧力を負荷し、入力された測定期間の間、抵抗測定部55によって測定した接触抵抗の情報を出力する。
【選択図】図3
特許請求の範囲
【請求項1】
抵抗スポット溶接する金属板に板厚方向の測定電流を流して、前記測定電流に対する前記金属板の接触抵抗を測定する接触抵抗測定装置であって、
前記金属板を挟み込む一対の電極と、
前記一対の電極の間を加圧する加圧機構と、
前記金属板に流す前記測定電流に対する接触抵抗を測定する抵抗測定部と、
抵抗スポット溶接時の加圧パターンに基づく加圧力の情報、及び前記接触抵抗の測定期間の情報が入力される入力部と、
前記加圧機構及び前記抵抗測定部を制御する制御部と、
を備え、
前記制御部は、前記加圧機構を駆動して前記入力部から入力された前記加圧力に応じて前記金属板を加圧し、入力された前記測定期間の間、前記抵抗測定部によって測定した前記接触抵抗の情報を出力する、
接触抵抗測定装置。
続きを表示(約 900 文字)
【請求項2】
前記測定期間は、抵抗スポット溶接時の初期加圧期間、通電期間、通電後の加圧保持期間の少なくともいずれかを含む、
請求項1に記載の接触抵抗測定装置。
【請求項3】
前記一対の電極に挟み込む前記金属板は、複数の金属板を重ね合わせた板組であって、
前記接触抵抗は、前記板組のうち最外側の前記金属板と、当該金属板に接する前記電極と間の表面抵抗、及び互いに対向して配置される前記複数の金属板同士の間の板間抵抗を含む、
請求項1または請求項2に記載の接触抵抗測定装置。
【請求項4】
前記一対の電極は、抵抗スポット溶接用の電極であり、前記一対の電極を交換自在に保持する電極ホルダを備える、
請求項1または請求項2に記載の接触抵抗測定装置。
【請求項5】
前記金属板は、表面に皮膜が形成された金属である、
請求項1または請求項2に記載の接触抵抗測定装置。
【請求項6】
前記加圧機構は、前記金属板を1kN以上、14kN以下の任意の加圧力で加圧する、
請求項1または請求項2に記載の接触抵抗測定装置。
【請求項7】
前記加圧機構は、電磁モータを駆動源としている、
請求項1または請求項2に記載の接触抵抗測定装置。
【請求項8】
前記電磁モータは、サーボモータ又はリニアモータである、
請求項7に記載の接触抵抗測定装置。
【請求項9】
抵抗スポット溶接する金属板に板厚方向の測定電流を流して、前記測定電流に対する前記金属板の接触抵抗を測定する接触抵抗測定方法であって、
前記金属板を一対の電極で挟み込み、
入力された抵抗スポット溶接時の加圧パターンに基づく加圧力に応じて、前記一対の電極の間の前記金属板を加圧し、
入力された前記接触抵抗の測定期間で、前記金属板の板厚方向に流す前記測定電流に対する接触抵抗を測定し、
前記測定期間で測定した前記接触抵抗の情報を出力する、
接触抵抗測定方法。
発明の詳細な説明
【技術分野】
【0001】
本発明は、接触抵抗測定装置及び接触抵抗測定方法に関する。
続きを表示(約 2,700 文字)
【背景技術】
【0002】
従来より、複数の金属板を重ねて溶接する抵抗スポット溶接が車両等の生産工程で多用されている。この抵抗スポット溶接の溶接品質を高めるには、溶接電流、加圧力、電極形状等の各種の溶接条件を調整する必要がある。これら各条件は、使用する材料、板厚、電極形状によって変化する。このため、板材の表面抵抗、板間抵抗等の接触抵抗を測定して、金属板の表面品質を評価する検査装置が種々開発されている。例えば特許文献1には、複数のシート材を挟み込む一対の電極と、一対の電極間を加圧する加圧部と、接触抵抗を測定する抵抗率測定器と、複数のシート材の面接触状態を維持する保持部とを備えた接触抵抗測定装置が開示されている。この接触抵抗測定装置では、測定ばらつきを低く抑えた安定した測定を可能にしている。
【先行技術文献】
【特許文献】
【0003】
特開2022-3316号公報
【発明の概要】
【発明が解決しようとする課題】
【0004】
抵抗スポット溶接では、加圧力、電流値、通電時間が主要な溶接条件であり、溶接性を評価する上では加圧力の設定が特に重要となる。加圧力を経時変化させる抵抗スポット溶接においては、加圧力と加圧期間によって金属板表面の状態が異なる場合がある。それら個々の状態で接触抵抗の測定ができれば、抵抗スポット溶接の溶接条件をより高精度に設定でき、溶接品質を向上させることが期待できる。
【0005】
しかしながら、これまでの接触抵抗測定装置は、基本的に規定のシーケンスに従って測定処理を行うものが多く、特定期間の接触抵抗を選択的に測定することを意識したものではなかった。例えば、初期加圧期間は、溶接品質に影響する金属板表面の皮膜を押し潰して通電を集中させる効果があり、通電後の加圧保持期間は、溶接後に発生した微小な割れ等を押し潰して溶接品質を向上させる効果がある。現状ではこれらの効果を定量的に把握することは難しく、各溶接条件に合わせた材料の良否判定が困難であった。
また、近年になって注目されている厚肉材の抵抗スポット溶接に対応した大きな加圧力を発生できるものはなく、評価対象が限られている。
【0006】
そこで本発明は、実際の抵抗スポット溶接の溶接条件を正確に模擬しつつ、特定の期間の接触抵抗を選択的に測定できる接触抵抗測定装置及び接触抵抗測定方法を提供し、以て、抵抗スポット溶接に供する金属板の品質の向上に資することを目的とする。
【課題を解決するための手段】
【0007】
本発明は下記の構成からなる。
(1) 抵抗スポット溶接する金属板に板厚方向の測定電流を流して、前記測定電流に対する前記金属板の接触抵抗を測定する接触抵抗測定装置であって、
前記金属板を挟み込む一対の電極と、
前記一対の電極の間を加圧する加圧機構と、
前記金属板に流す前記測定電流に対する接触抵抗を測定する抵抗測定部と、
抵抗スポット溶接時の加圧パターンに基づく加圧力の情報、及び前記接触抵抗の測定期間の情報が入力される入力部と、
前記加圧機構及び前記抵抗測定部を制御する制御部と、
を備え、
前記制御部は、前記加圧機構を駆動して前記入力部から入力された前記加圧力に応じて前記金属板を加圧し、入力された前記測定期間の間、前記抵抗測定部によって測定した前記接触抵抗の情報を出力する、
接触抵抗測定装置。
(2) 抵抗スポット溶接する金属板に板厚方向の測定電流を流して、前記測定電流に対する前記金属板の接触抵抗を測定する接触抵抗測定方法であって、
前記金属板を一対の電極で挟み込み、
入力された抵抗スポット溶接時の加圧パターンに基づく加圧力に応じて、前記一対の電極の間の前記金属板を加圧し、
入力された前記接触抵抗の測定期間で、前記金属板の板厚方向に流す前記測定電流に対する接触抵抗を測定し、
前記測定期間で測定した前記接触抵抗の情報を出力する、
接触抵抗測定方法。
【発明の効果】
【0008】
本発明によれば、実際の抵抗スポット溶接の溶接条件を正確に模擬しつつ、特定の期間の接触抵抗を選択的に測定できる。以て、抵抗スポット溶接に供する金属板の品質を向上できる。
【図面の簡単な説明】
【0009】
図1は、本発明の実施形態に係る接触抵抗測定装置の概略的な外観図である。
図2は、フレーム構造体の内側の構成を示す概略図である。
図3は、接触抵抗測定装置の機能ブロック図である。
図4は、抵抗スポット溶接の加圧パターン及び通電パターンと、各パターンに応じた接触抵抗測定用の測定電流の通電期間の一例を示す説明図である。
図5は、抵抗スポット溶接に用いる電極の電極形状の種類を示す説明図である。
図6は、あたり面に環状の凹溝が形成された特殊形状の電極を示す概略図である。
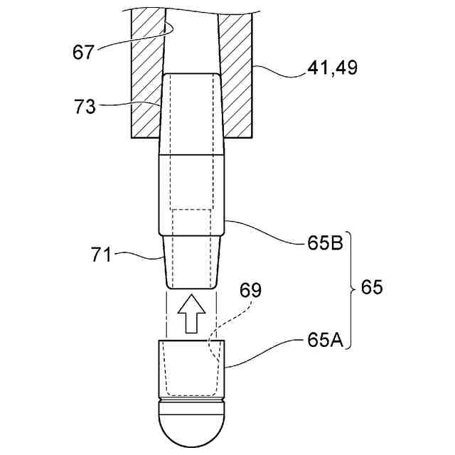
図7は、テーパー部を有する一体形の電極を保持する電極ホルダを示す概略図である。
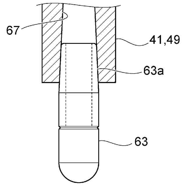
図8は、キャップチップ型の電極を保持する電極ホルダを示す概略図である。
図9は、酸化皮膜を有する2枚の金属板を重ね合わせて電極間に挟み込み、接触抵抗を測定した結果を模式的に示すグラフである。
図10は、1枚の金属板を電極間に挟み込み、接触抵抗を測定した結果を模式的に示すグラフである。
図11は、金属板の酸化皮膜の厚さと接触抵抗測定値との関係を模式的に示すグラフである。
【発明を実施するための形態】
【0010】
以下、本発明の実施形態について、図面を参照して詳細に説明する。
図1は、本発明の実施形態に係る接触抵抗測定装置100の概略的な外観図である。接触抵抗測定装置100は、抵抗スポット溶接する金属板23,25を測定対象として、板厚方向に電流を流して電流に対する接触抵抗を測定する機能を有する。測定対象の金属板23,25は、図1のように複数を重ね合わせて板組としてもよいし、1枚の板でもよい。この接触抵抗測定装置100は、基台11の上面にベースプレート13が固定され、ベースプレート13の上にフレーム構造体15が固定されている。フレーム構造体15は、下板17、上板19、及び下板17と上板19とを接続する4本のフレーム脚部21を有する。
(【0011】以降は省略されています)
この特許をJ-PlatPat(特許庁公式サイト)で参照する
関連特許
他の特許を見る