TOP
|
特許
|
意匠
|
商標
特許ウォッチ
Twitter
他の特許を見る
10個以上の画像は省略されています。
公開番号
2025181144
公報種別
公開特許公報(A)
公開日
2025-12-11
出願番号
2024088950
出願日
2024-05-31
発明の名称
回転機械
出願人
三菱重工業株式会社
代理人
SSIP弁理士法人
主分類
F04D
29/051 20060101AFI20251204BHJP(液体用容積形機械;液体または圧縮性流体用ポンプ)
要約
【課題】簡単な構造で、スラスト力が反転してもスラスト力を低減可能な回転機械を提供する。
【解決手段】回転機械は、回転シャフトと、回転シャフトに設けられ、回転シャフトの径方向に沿って延在するスラストディスク部と、スラストディスク部の軸方向の一方側の端面とケーシングとの間に形成された一方側流路と、スラストディスク部の軸方向の他方側の端面とケーシングとの間に形成された他方側流路と、一方側流路及び他方側流路の径方向における外側に接続される外周側流路と、を有するケーシングと、一方側流路に配置されたガス軸受である一方側スラスト軸受と、他方側流路に配置されたガス軸受である他方側スラスト軸受と、外周側流路に設けられ、スラストディスク部が軸方向の中間位置よりも一方側に位置した際に、スラストディスク部の外周面との間に一方側流路よりも流路面積が小さいスロートを形成する一方側スロート形成部と、を備える。
【選択図】図2
特許請求の範囲
【請求項1】
回転シャフトと、
前記回転シャフトの軸方向の一方側に取り付けられる一方側インペラと、
前記回転シャフトに設けられ、前記回転シャフトの径方向に沿って延在するスラストディスク部と、
前記回転シャフト及び前記スラストディスク部を回転可能に収容するように構成されたケーシングであって、前記スラストディスク部の前記軸方向の前記一方側の端面と前記ケーシングとの間に形成された一方側流路と、前記スラストディスク部の前記軸方向の他方側の端面と前記ケーシングとの間に形成された他方側流路と、前記一方側流路及び前記他方側流路の前記径方向における外側に接続される外周側流路と、を有するケーシングと、
前記一方側流路に配置されたガス軸受である一方側スラスト軸受と、
前記他方側流路に配置されたガス軸受である他方側スラスト軸受と、
前記外周側流路に設けられ、前記スラストディスク部が前記軸方向の中間位置よりも前記一方側に位置した際に、前記スラストディスク部の外周面との間に前記一方側流路よりも流路面積が小さいスロートを形成する一方側スロート形成部と、を備える、
回転機械。
続きを表示(約 1,200 文字)
【請求項2】
前記外周側流路に設けられ、前記スラストディスク部が前記軸方向の中間位置よりも前記他方側に位置した際に、前記スラストディスク部の前記外周面との間に前記他方側流路よりも流路面積が小さいスロートを形成する他方側スロート形成部を備える、
請求項1に記載の回転機械。
【請求項3】
前記ケーシングは、前記一方側スラスト軸受及び前記他方側スラスト軸受との間に前記外周側流路を挟んで対向する対向面を有し、
前記一方側スロート形成部は、スロート形成位置を含む部分に設けられ、前記対向面よりも前記径方向における内側に向かって突出する少なくとも1つの一方側フィンを含む、
請求項1又は2に記載の回転機械。
【請求項4】
前記一方側スロート形成部は、スロート形成位置を含む部分に設けられた、前記一方側スラスト軸受及び前記他方側スラスト軸受との間に前記外周側流路を挟んで対向する対向面を含む、
請求項1又は2に記載の回転機械。
【請求項5】
前記一方側フィンは、
前記スラストディスク部が前記軸方向の前記中間位置よりも前記一方側に位置した際に、前記軸方向において前記スラストディスク部の前記外周面に重なり合うとともに、
前記スラストディスク部が前記軸方向の前記中間位置に位置した際に、前記軸方向において前記スラストディスク部の前記外周面に重なり合わない位置に設けられた、
請求項3に記載の回転機械。
【請求項6】
前記少なくとも1つの一方側フィンは、
第1の一方側フィンと、
前記軸方向において前記第1の一方側フィンに対してずれた位置に設けられた第2の一方側フィンと、を含む、
請求項3に記載の回転機械。
【請求項7】
前記一方側スロート形成部のスロート形成位置を含む部分は、前記回転シャフトの周方向における1/4周以上の周方向範囲に形成された、
請求項1又は2に記載の回転機械。
【請求項8】
前記外周側流路から冷却ガスを前記ケーシングの外部に排出するための冷却ガス排出ラインを備え、
前記冷却ガス排出ラインは、
前記外周側流路の前記径方向における外側の一部を画定する外周側壁面に形成された排出側入口開口を含む、
請求項1又は2に記載の回転機械。
【請求項9】
前記外周側流路から冷却ガスを前記ケーシングの外部に排出するための冷却ガス排出ラインを備え、
前記冷却ガス排出ラインは、
前記スラストディスク部の前記外周面に形成された排出側入口開口を含む、
請求項1又は2に記載の回転機械。
【請求項10】
前記冷却ガス排出ラインは、
前記回転シャフトの前記一方側又は前記他方側の端面に形成された排出側出口開口を含む、
請求項9に記載の回転機械。
(【請求項11】以降は省略されています)
発明の詳細な説明
【技術分野】
【0001】
本開示は、回転機械に関する。
続きを表示(約 2,000 文字)
【背景技術】
【0002】
過給機等の回転機械のスラスト力を受けるスラスト軸受には、ガス軸受が採用されることがある(例えば、特許文献1参照)。
【先行技術文献】
【特許文献】
【0003】
国際公開WO2022/172668号公報
【発明の概要】
【発明が解決しようとする課題】
【0004】
一般的に、過給機等の回転機械は、スラスト力が軸方向の一方向に作用することを考慮して設計が行われているが、運転点次第でスラスト力が軸方向の他方側に作用することがあり、この場合には、スラスト力が軸方向の一方向に作用することを考慮した設計が、スラスト力を増加させる要因となる虞がある。また、圧力調整装置により、スラストディスクの両側の圧力を調整することで、スラスト力の調整を図ることが考えられているが、圧力調整装置を備える回転機械は、構造の複雑化を招く虞がある。仮に構造の複雑化により、回転機械の軸長が長くなると、回転機械の軸振動を増加させる虞がある。
【0005】
上述の事情に鑑みて、本開示の少なくとも一実施形態は、簡単な構造で、スラスト力が反転してもスラスト力を低減可能な回転機械を提供することを目的とする。
【課題を解決するための手段】
【0006】
本開示の少なくとも一実施形態に係る回転機械は、
回転シャフトと、
前記回転シャフトの軸方向の一方側に取り付けられる一方側インペラと、
前記回転シャフトに設けられ、前記回転シャフトの径方向に沿って延在するスラストディスク部と、
前記回転シャフト及び前記スラストディスク部を回転可能に収容するように構成されたケーシングであって、前記スラストディスク部の前記軸方向の前記一方側の端面と前記ケーシングとの間に形成された一方側流路と、前記スラストディスク部の前記軸方向の他方側の端面と前記ケーシングとの間に形成された他方側流路と、前記一方側流路及び前記他方側流路の前記径方向における外側に接続される外周側流路と、を有するケーシングと、
前記一方側流路に配置されたガス軸受である一方側スラスト軸受と、
前記他方側流路に配置されたガス軸受である他方側スラスト軸受と、
前記外周側流路に設けられ、前記スラストディスク部が前記軸方向の中間位置よりも前記一方側に位置した際に、前記スラストディスク部の外周面との間に前記一方側流路よりも流路面積が小さいスロートを形成する一方側スロート形成部と、を備える。
【発明の効果】
【0007】
本開示の少なくとも一実施形態によれば、簡単な構造で、スラスト力が反転してもスラスト力を低減可能な回転機械が提供される。
【図面の簡単な説明】
【0008】
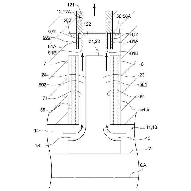
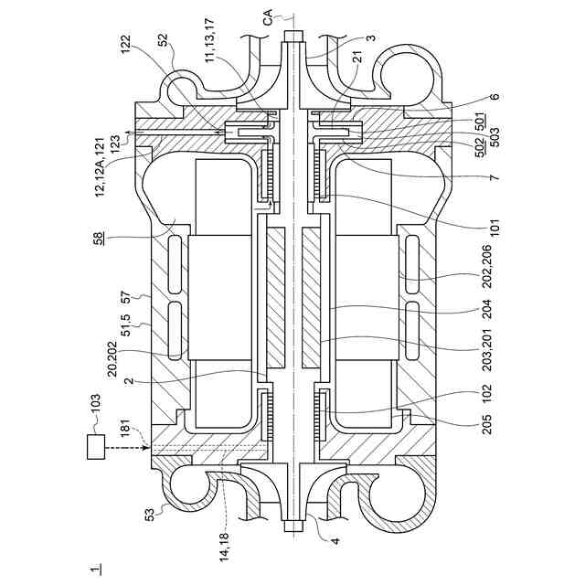
本開示の一実施形態に係る回転機械の軸方向に沿った概略断面図である。
本開示の一実施形態に係る回転機械のスラストディスク部近傍の軸方向に沿った概略断面図である。
本開示の一実施形態に係る回転機械のスラストディスク部近傍を径方向における外側から視た概略図である。
図1に示される外周側流路及び冷却ガス排出ラインを軸方向の一方側から視た概略図である。
本開示の一実施形態における一方側スロート形成部を説明するための説明図である。
本開示の一実施形態における他方側スロート形成部を説明するための説明図である。
本開示の一実施形態に係る回転機械のスラストディスク部近傍の軸方向に沿った概略断面図である。
本開示の一実施形態に係る回転機械のスラストディスク部近傍の軸方向に沿った概略断面図である。
本開示の一実施形態に係る回転機械の軸方向に沿った概略断面図である。
本開示の一実施形態に係る回転機械のスラストディスク部近傍の軸方向に沿った概略断面図である。
図10に示される外周側流路及び冷却ガス排出ラインを軸方向の一方側から視た概略図である。
本開示の一実施形態に係る回転機械を備える冷凍システムの構成図である。
【発明を実施するための形態】
【0009】
以下、添付図面を参照して本開示の幾つかの実施形態について説明する。ただし、実施形態として記載されている又は図面に示されている構成部品の寸法、材質、形状、その相対的配置等は、本開示の範囲をこれに限定する趣旨ではなく、単なる説明例にすぎない。
【0010】
以下の説明では、単に上流側と呼ぶ場合、方向の説明にかかる部位や領域における流体の主たる流れの方向に沿った上流側を指すものとする。同様に、以下の説明では、単に下流側と呼ぶ場合、方向の説明にかかる部位や領域における流体の主たる流れの方向に沿った下流側を指すものとする。
(【0011】以降は省略されています)
この特許をJ-PlatPat(特許庁公式サイト)で参照する
関連特許
他の特許を見る