TOP
|
特許
|
意匠
|
商標
特許ウォッチ
Twitter
他の特許を見る
公開番号
2025181111
公報種別
公開特許公報(A)
公開日
2025-12-11
出願番号
2024088895
出願日
2024-05-31
発明の名称
認証システム、認証装置、および認証方法
出願人
株式会社デンソーウェーブ
,
セコム株式会社
代理人
弁理士法人明成国際特許事務所
主分類
E05B
49/00 20060101AFI20251204BHJP(錠;鍵;窓または戸の付属品;金庫)
要約
【課題】認証が2段階で行われる場合に、第1認証に成功したユーザと、第2認証を指示したユーザとが異なる可能性を低減すること。
【解決手段】認証システムは、携帯端末と認証装置とを備える。認証装置が備える認証部は、携帯端末と認証装置との距離が第1基準距離より短いと判断した場合に、携帯端末から受信した識別情報に基づき、携帯端末が、予め登録された携帯端末であるか判定する第1認証を行い、第1認証に成功した場合に第1認証に成功した携帯端末の識別情報を含む結果情報を作成し、第2判断において距離が第2基準距離よりも短いと判断した場合に、携帯端末から受信した識別情報を結果情報と照合して、携帯端末が第1認証が成功済みの携帯端末であるか判定する第2認証を行う。
【選択図】図3
特許請求の範囲
【請求項1】
携帯端末と認証装置とを備える認証システムであって、
前記携帯端末は、前記認証装置に当該携帯端末の識別情報を含む識別信号を送信する信号送信部を有し、
前記認証装置は、
前記識別信号を受信する通信部と、
前記携帯端末と前記認証装置との距離を表す値に基づいて、前記距離が予め定められた第1基準距離より短いか否かを判断する第1判断と、前記距離が前記第1基準距離よりも短く設定された第2基準距離よりも短いか否かを判断する第2判断とを行う判断部と、
認証部と、を有し、
前記認証部は、
前記判断部が前記第1判断において前記距離が前記第1基準距離より短いと判断した場合に、前記携帯端末から受信した前記識別情報に基づき、当該携帯端末が、予め登録された前記携帯端末であるか判定する第1認証を行い、前記第1認証に成功した場合に当該第1認証に成功した前記携帯端末の前記識別情報を含む結果情報を作成し、
前記判断部が前記第2判断において前記距離が前記第2基準距離よりも短いと判断した場合に、前記携帯端末から受信した前記識別情報を前記結果情報と照合して、当該携帯端末が前記第1認証が成功済みの前記携帯端末であるか判定する第2認証を行う、認証システム。
続きを表示(約 1,500 文字)
【請求項2】
請求項1に記載の認証システムであって、
前記距離を表す値は、前記携帯端末との無線通信を確立しない未接続状態で受信した前記識別信号の受信強度であり、
前記認証部は、前記携帯端末との前記無線通信を確立した接続状態にて受信した前記識別信号を用いて前記第1認証を行う、認証システム。
【請求項3】
請求項2に記載の認証システムであって、
前記認証部は、第1の前記携帯端末と前記無線通信を確立して前記第1認証を行った後、当該携帯端末との前記接続状態を解除し、続いて第2の前記携帯端末との前記無線通信を確立して前記第1認証を行う、認証システム。
【請求項4】
請求項1から3のいずれかに記載の認証システムであって、
前記認証装置は、電気錠に指令を行う錠指令部を有し、
前記認証部が前記第2認証に成功した後、前記錠指令部は前記電気錠に解錠を指令する、認証システム。
【請求項5】
請求項4に記載の認証システムであって、
前記認証部は、前記携帯端末との前記第2認証に失敗した場合、当該携帯端末を対象として前記第1認証を行い、前記第1認証が成功した場合は、前記第2認証を行わずに前記錠指令部にて前記電気錠に解錠を指令する、認証システム。
【請求項6】
請求項1から3のいずれかに記載の認証システムであって、
前記認証部は、前記第2認証に成功すると、当該第2認証に成功した前記識別情報を前記結果情報から削除する、認証システム。
【請求項7】
請求項1から3のいずれかに記載の認証システムであって、
前記認証部は、前記結果情報が作成されてから、予め定められた保持時間経過すると、前記識別情報を前記結果情報から削除する、認証システム。
【請求項8】
請求項1から3のいずれかに記載の認証システムであって、
前記認証部は、前記携帯端末との前記第2認証に成功した場合、当該携帯端末の前記識別情報に当該第2認証に成功した日時を対応付けた履歴情報を作成する、認証システム。
【請求項9】
請求項1から3のいずれかに記載の認証システムであって、
前記認証装置は、前記携帯端末を携帯するユーザによる認証要求を受け付ける入力部をさらに有し、
前記認証部は、前記認証要求を受け付けたとき受信した前記識別信号に基づき前記第2認証を行う、認証システム。
【請求項10】
認証装置であって、
携帯端末から送信される当該携帯端末の識別情報を含む識別信号を受信する通信部と、
前記携帯端末と前記認証装置との距離を表す値に基づいて、前記距離が予め定められた第1基準距離より短いか否かを判断する第1判断と、前記距離が前記第1基準距離よりも短く設定された第2基準距離よりも短いか否かを判断する第2判断とを行う判断部と、
認証部と、を有し、
前記認証部は、
前記判断部が前記第1判断において前記距離が前記第1基準距離より短いと判断した場合に、前記携帯端末から受信した前記識別情報に基づき、当該携帯端末が、予め登録された前記携帯端末であるか判定する第1認証を行い、当該第1認証に成功した場合に当該第1認証に成功した前記携帯端末の前記識別情報を含む結果情報を作成し、
前記判断部が前記第2判断において前記距離が前記第2基準距離よりも短いと判断した場合に、前記携帯端末から受信した前記識別情報を前記結果情報と照合して当該携帯端末が前記第1認証の認証が成功済みの前記携帯端末であるか判定する第2認証を行う、認証装置。
(【請求項11】以降は省略されています)
発明の詳細な説明
【技術分野】
【0001】
本開示は、認証システム、認証装置、および認証方法に関する。
続きを表示(約 5,000 文字)
【背景技術】
【0002】
特許文献1には、ユーザが所持する電気キーから送信される電波を用いて認証を行い、認証に成功してからの一定時間内にドアに取り付けられた電気錠の解錠を指示する操作をユーザが行うと、電気錠を解錠する技術が開示されている。
【先行技術文献】
【特許文献】
【0003】
特開2016-194201号公報
【発明の概要】
【発明が解決しようとする課題】
【0004】
複数のユーザが1つの電気錠を使用する使用形態がある。この使用形態について上記の技術を適用した場合に、認証に成功したユーザと、電気錠の解錠を指示したユーザとが異なる場合が生じ得る。なお、この課題は、認証が成功した場合に発せられる指令に従って制御される機器に共通する。
【課題を解決するための手段】
【0005】
本開示は、以下の形態として実現することが可能である。
【0006】
(1)本開示の第1形態によれば、携帯端末と認証端末とを備える認証システムが提供される。前記携帯端末は、前記認証装置に当該携帯端末の識別情報を含む識別信号を送信する信号送信部を有し、前記認証装置は、前記識別信号を受信する通信部と、前記携帯端末と前記認証装置との距離を表す値に基づいて、前記距離が予め定められた第1基準距離より短いか否かを判断する第1判断と、前記距離が前記第1基準距離よりも短く設定された第2基準距離よりも短いか否かを判断する第2判断とを行う判断部と、認証部と、を有し、前記認証部は、前記判断部が前記第1判断において前記距離が第1基準距離よりも短いと判断した場合に、前記携帯端末から受信した前記識別情報に基づき、当該携帯端末が、予め登録された前記携帯端末であるか判定する第1認証を行い、前記第1認証に成功した場合に当該第1認証に成功した前記携帯端末の前記識別情報を含む結果情報を作成し、前記判断部が前記第2判断において前記距離が前記第2基準距離よりも短いと判断した場合に、前記携帯端末から受信した前記識別情報を前記結果情報と照合して、当該携帯端末が前記第1認証が成功済みの前記携帯端末であるか判定する第2認証を行う。この形態によれば、第2認証は第2判断に用いられる識別信号を用いて行われるため、第2認証の契機となる携帯端末を携帯するユーザと、第1認証に成功した識別信号を送信した携帯端末を携帯するユーザとが異なる可能性を低減することができる。
(2)上記形態において、前記距離を表す値は、前記携帯端末との無線通信を確立しない未接続状態で受信した前記識別信号の受信強度であり、前記認証部は、前記携帯端末との前記無線通信を確立した接続状態にて受信した前記識別信号を用いて前記第1認証を行ってもよい。この形態によれば、未接続状態よりも、通信されるデータの秘匿性の高い接続状態による通信を用いて第1認証を行うことができる。また、判断部は、距離を表す値である受信強度を用いて第1判断と第2判断とを行うことができる。
受電強度に基づいて、第1判断と第2判断とを行う方法としては、受信強度が予め定められた第1基準値より大きいか否かを判断する第1判断と、受信強度が第1基準値よりも大きい第2基準値よりも大きいか否かを判断する第2判断とを行う方法がある。この場合、前記第2認証の対象となる前記携帯端末は、前記受信強度が前記第2基準値よりも大きいと判断された前記識別信号に含まれる前記識別情報によって特定される。
距離を表す値には、受信強度の他に、ToF(Time of Flight)がある。ToF(Time of Flight)方式を用いた具体的な方法として、例えば、前記認証装置が前記携帯端末に対してビーコン信号を送信するとともに前記ビーコン信号を送信した時刻T1を記憶し、前記携帯端末は前記ビーコン信号を受信した場合に、前記識別信号に前記ビーコン信号を受信した時刻T2と、前記識別信号を送信した時刻T3を含ませて送信し、前記認証装置は、前記識別信号を受信した場合に、前記識別信号に含まれる前記時刻T2および前記時刻T3を記憶するとともに、前記識別信号を受信した時刻である時刻T4を記憶し、前記T4から前記T1を減算したものから、前記T3から前記T2を減算したものを減算することで、前記ビーコン信号が前記認証装置により送信されてから前記識別信号を前記認証装置が受信するまでの送受信時間を算出し、前記送受信時間の半分を電波の速度(光速)で割ることによって前記距離を算出することができる。この場合、前記第2認証の対象となる前記携帯端末は、第2基準距離よりも小さいと判断された前記推定距離の算出に用いられた前記識別信号に含まれる前記識別情報によって特定される。この形態によれば、上記と同様の効果を得ることができる。
(3)上記形態において、前記認証部は、第1の前記携帯端末と前記無線通信を確立して前記第1認証を行った後、当該携帯端末との前記接続状態を解除し、続いて第2の前記携帯端末との前記無線通信を確立して前記第1認証を行ってもよい。
(4)上記形態において、前記認証装置は、電気錠に指令を行う錠指令部を有し、前記認証部が前記第2認証に成功した後、前記錠指令部は前記電気錠に解錠を指令してもよい。この形態によれば、第2認証に成功した場合に、電気錠を解錠する認証システムを提供することができる。
(5)上記形態において、前記認証部は、前記携帯端末と前記第2認証に失敗した場合、当該携帯端末を対象として前記第1認証を行い、前記第1認証に成功した場合は、前記第2認証を行わずに、前記錠指令部にて前記電気錠に解除を指令してもよい。この形態によれば、第1認証が完了する前に電気錠に近づいたユーザに対しても解除のための第1認証を行い、第2認証を省いて解錠を行うことができる。
(6)上記形態において、前記認証部は、前記第2認証に成功すると、前記第2認証に成功した前記識別情報を前記結果情報から削除してもよい。第2認証における識別信号は、傍受される可能性はある。そこで、この形態によれば、不要な識別情報は結果情報から早期に削除されるため、不正に入手された識別情報を含む信号の送信による認証の成功を防ぐことができる。
(7)上記形態において、前記認証部は、前記結果情報が作成されてから、予め定められた保持時間経過すると、前記識別情報を前記結果情報から削除してもよい。この形態によれば、不要な識別情報は結果情報から早期に削除されるため、不正に入手された識別情報を含む信号の送信による認証の成功を防ぐことができる。
(8)上記形態において、前記認証部は、前記携帯端末との前記第2認証に成功した場合、当該携帯端末の前記識別情報に当該第2認証に成功した日時を対応付けた履歴情報を作成してもよい。この形態によれば、第2認証に成功したユーザについての履歴情報を作成することができる。
(9)上記形態において、前記認証装置は、前記携帯端末を携帯するユーザによる認証要求を受け付ける入力部をさらに有し、前記認証部は、前記認証要求を受け付けたとき受信した前記識別信号に基づき前記第2認証を行ってもよい。この形態によれば、ユーザが電気錠の近くにいる場合に第2判断は行われるので、受信強度が第2基準値以下である場合に行われる第2判断を省くことができるため、処理負荷を低減することができる。
(10)本開示の第2形態によれば、認証装置が提供される。この認証装置は、携帯端末から送信される当該携帯端末の識別情報を含む識別信号を受信する通信部と、前記携帯端末と前記認証装置との距離を表す値に基づいて、前記距離が予め定められた第1基準距離より短いか否かを判断する第1判断と、前記距離が前記第1基準距離よりも短く設定された第2基準距離よりも短いか否かを判断する第2判断とを行う判断部と、認証部と、を有し、前記認証部は、前記判断部が前記第1判断において前記距離が前記第1基準距離より短いと判断した場合に、前記携帯端末から受信した前記識別情報に基づき、当該携帯端末が、予め登録された前記携帯端末であるか判定する第1認証を行い、当該第1認証に成功した場合に当該第1認証に成功した前記携帯端末の前記識別情報を含む結果情報を作成し、前記判断部が前記第2判断において前記距離が前記第2基準距離よりも短いと判断した場合に、前記携帯端末から受信した前記識別情報を前記結果情報と照合して当該携帯端末が前記第1認証の認証が成功済みの前記携帯端末であるか判定する第2認証を行う。
(11)本開示の第3形態によれば、携帯端末と通信する認証装置を用いた認証方法が提供される。前記認証装置は、前記携帯端末から送信される当該携帯端末の識別情報を含む識別信号を受信する通信部を有し、前記認証方法は、前記携帯端末と前記認証装置との距離を表す値に基づいて、前記距離が予め定められた第1基準距離より短いと判断した場合に、前記携帯端末から受信した前記識別情報に基づき、当該携帯端末が、予め登録された前記携帯端末であるか判定する第1認証を行う第1認証工程と、当該第1認証に成功した前記携帯端末の前記識別情報を含む結果情報を作成する作成工程と、前記距離が前記第1基準距離よりも短く設定された第2基準距離よりも短いと判断した場合に、前記携帯端末から受信した前記識別情報を前記結果情報と照合して当該携帯端末が前記第1認証の認証が成功済みの前記携帯端末であるか判定する第2認証を行う第2認証工程と、を含む。
本開示は、上記形態以外の種々の形態で実現することが可能である。例えば、携帯端末などの形態で実現することができる。
【図面の簡単な説明】
【0007】
認証システムの概略構成を示す模式図である。
認証システムのブロック図である。
認証のシーケンス図である。
結果情報を説明する図である。
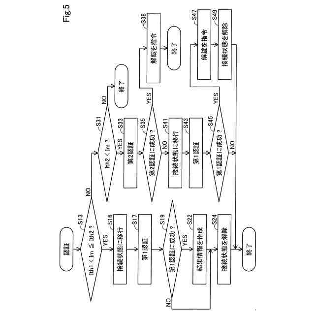
認証装置が行う認証処理のフローチャートである。
【発明を実施するための形態】
【0008】
A.第1実施形態:
A1.認証システムの全体構成:
以下の実施形態は後述する携帯端末30から受信した識別信号の受信強度が携帯端末30と認証装置10との距離を表す値である場合を説明する。
【0009】
図1は、認証システム1の概略構成を示す模式図である。図1に示すように、認証システム1は、セキュリティエリアSAに入場できる人を、予め入場が許可されている人に限定するためのシステムである。認証システム1は、携帯端末30と、認証装置10とを備える。本実施形態では、認証装置10は、セキュリティエリアSAの入口に配置された扉GEの付近に配置されている。認証装置10は、入口にいる人の手が届く程度の範囲に配置されている。具体的には、認証装置10と電気錠ELとの距離は例えば数十cm以下である。本開示において、「セキュリティエリアSAへの入場が許可されている人」を「ユーザUS」と呼ぶ。携帯端末30は、ユーザUSに携帯されている。本実施形態では、扉GEは、電気錠ELにより施解錠が行われる。本開示において、電気錠ELとは、電池式か否かによらず、電動で施解錠が制御される錠をいう。
【0010】
なお、図1では、セキュリティエリアSAが部屋として描かれ、セキュリティエリアSAの入口には扉GEが配置されているが、この形態に限定されない。例えば、セキュリティエリアSAを建物や駅構内としてもよく、駅構内の改札口や建物の入り口に配置する通行を規制する構成を、電気的に制御される自動ドアやフラッパーゲートなどでもよい。なお、通行を制限する構成は扉GEなどを用いて物理的にユーザUSの入場を制限するものに限られない。以下の説明では、主にセキュリティエリアSAへの入場について説明するが、セキュリティエリアSAからの退場の場合についても、本開示を適用することができる。
(【0011】以降は省略されています)
この特許をJ-PlatPat(特許庁公式サイト)で参照する
関連特許
他の特許を見る