TOP
|
特許
|
意匠
|
商標
特許ウォッチ
Twitter
他の特許を見る
10個以上の画像は省略されています。
公開番号
2025181104
公報種別
公開特許公報(A)
公開日
2025-12-11
出願番号
2024088880
出願日
2024-05-31
発明の名称
ステータ、モータ及びインシュレータ
出願人
株式会社デンソー
代理人
個人
,
個人
主分類
H02K
3/46 20060101AFI20251204BHJP(電力の発電,変換,配電)
要約
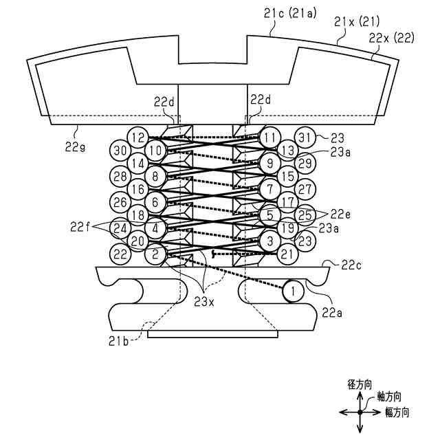
【課題】導線の線径やティース幅の選択の自由度を向上させることができる導線の巻装態様を用いたステータを提供する。
【解決手段】ステータコア21のティース21bに巻回する導線23xは、ティース21bの軸方向端部の両側で自身の幅方向に対してそれぞれ傾斜して配置され、巻回1周毎の列替えをティース21bの軸方向両側で分担する巻回態様を用いる。
【選択図】図5
特許請求の範囲
【請求項1】
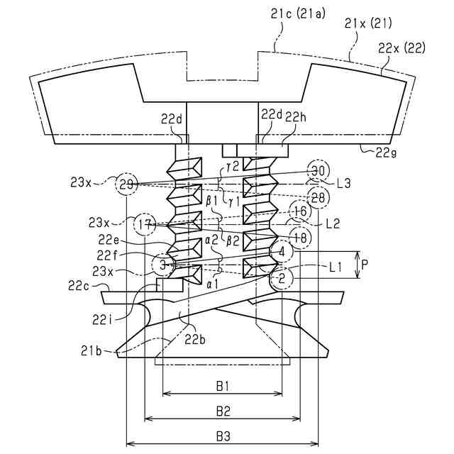
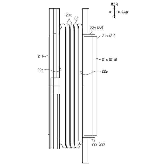
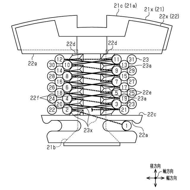
複数のティース(21b)を有するステータコア(21)と、
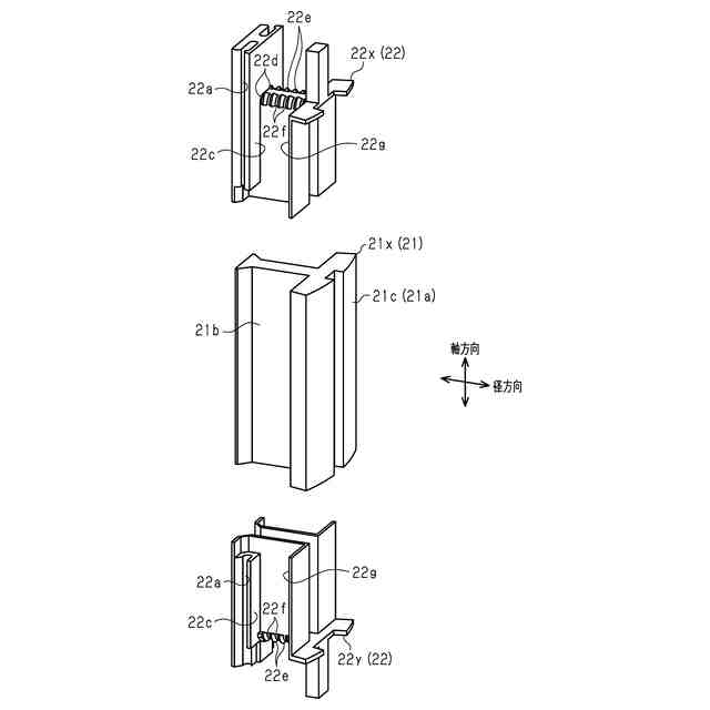
前記ティースを含む部位の前記ステータコアに設けられるインシュレータ(22,22x,22y)と、
前記インシュレータを介しての前記ティースに対する導線(23x)の巻回により構成されるコイル(23)と、を備え、
前記導線は、前記ティースの軸方向端部側で列替えしつつ集中巻にて複数層巻回されてなるステータ(11)であって、
前記導線は、前記ティースの軸方向端部の両側で前記ティースの幅方向に対してそれぞれ傾斜して配置され、前記列替えを前記ティースの軸方向両側で分担する巻回態様をなしている、ステータ。
続きを表示(約 1,000 文字)
【請求項2】
前記導線は、前記列替えにおいて前記ティースの軸方向両側での傾斜角度(β1,β2等)がそれぞれ同じ角度に設定されている、請求項1に記載のステータ。
【請求項3】
前記導線の前記列替えの際の列替え角度(β等)は、列替え角度=arctan(線間距離/巻回径距離)を用い、1周の巻回で隣接する前記導線の線間距離(P)と、前記ティースの幅方向の2層目の前記導線の巻回径距離(B2)から算出される列替え角度(β)が限界値より小さく設定されている、請求項1に記載のステータ。
【請求項4】
前記インシュレータは、前記導線の位置規制を行う配置溝(22f)を有し、
前記導線は、前記インシュレータの配置溝に沿って巻回されている、請求項1に記載のステータ。
【請求項5】
前記インシュレータの配置溝は、前記導線の巻回される前記ティースの周りの4箇所の角部(22d)に限定して設けられている、請求項4に記載のステータ。
【請求項6】
前記インシュレータは、前記導線を保持する保持溝(22a)を有し、
前記導線は、自身の巻始め部位が前記インシュレータの保持溝に保持されている、請求項1に記載のステータ。
【請求項7】
前記インシュレータは、2層目の前記導線の1層目への過度な入り込みを規制する台座部(22h,22i)を有し、
前記導線は、前記インシュレータの台座部に対する当接にて位置規制が可能に構成されている、請求項1に記載のステータ。
【請求項8】
請求項1から請求項7のいずれか1項に記載のステータ(11)を備えて構成されている、モータ。
【請求項9】
複数のティース(21b)を有するステータコア(21)と、前記ティースに対する導線(23x)の巻回により構成されるコイル(23)とを備えるステータ(11)に用いられ、前記ティースを含む部位の前記ステータコアに設けられて前記導線の集中巻による複数層の巻回がなされるインシュレータ(22,22x,22y)であって、
前記導線が前記ティースの軸方向端部の両側で前記ティースの幅方向に対してそれぞれ傾斜して配置され、前記導線の列替えを前記ティースの軸方向両側で分担する巻回態様となるように、1層目に巻回される前記導線の位置規制を行う配置溝(22f)を有している、インシュレータ。
発明の詳細な説明
【技術分野】
【0001】
本開示は、ステータ、モータ及びインシュレータに関する。
続きを表示(約 1,600 文字)
【背景技術】
【0002】
モータのステータにおいて、インシュレータが装着されたステータコアのティースに対し、一般的な丸線の導線が整列巻により複数層巻回されて構成されているものが知られている(例えば特許文献1参照)。ティースに対して先に巻回した下層の導線の上に後に巻回する上層の導線を積み重ねて巻回を複数層とする場合、導線の整列巻を適用すると占積率を高くできる等の利点がある。
【先行技術文献】
【特許文献】
【0003】
特表2021-509565号公報
【発明の概要】
【発明が解決しようとする課題】
【0004】
導線の整列巻は、同一層の巻回を進める過程で、先にティースを1周巻回した位置から次に巻回する位置に向けて導線を径方向一方に1本分ずらす列替えが行われる。このような導線の列替えを行う際、導線に対して巻回方向への引っ張り力が作用するのに加え、列替え方向への引っ張り力も作用する。そのため、列替え時では、巻回する導線の巻崩れが生じ易い。
【0005】
導線の巻崩れは、導線を複数層積み重ねる状況で、かつ次に巻回する位置に向けて導線を傾斜させる列替え角度が大きい巻回過程で生じ易い。複数層巻回する場合、層数が大きくなるに連れて列替え角度は次第に小さくなる関係のため、導線を積み重ねる状況でかつ列替え角度の最も大きい2層目の巻回時に特に巻崩れが生じる懸念が高まる。
【0006】
また、導線の線径やティース幅は、列替え角度を大小させる要素の一つである。導線に線径の大きいものを用いる程、若しくはティース幅の小さいものを用いる程、列替え角度を大きく設定する必要があり、導線の巻崩れの懸念が一層高まる。そのため、列替えを含む導線の巻装態様を工夫しないと、導線の線径やティース幅の選択の自由度が小さくなるといった問題があった。
【0007】
本開示の目的は、導線の線径やティース幅の選択の自由度を向上させることができる導線の巻装態様を用いたステータ、そのステータを用いたモータ、及びそのステータに用いられるインシュレータを提供することにある。
【課題を解決するための手段】
【0008】
本開示の一態様に係るステータは、複数のティース(21b)を有するステータコア(21)と、前記ティースを含む部位の前記ステータコアに設けられるインシュレータ(22,22x,22y)と、前記インシュレータを介しての前記ティースに対する導線(23x)の巻回により構成されるコイル(23)と、を備え、前記導線は、前記ティースの軸方向端部側で列替えしつつ集中巻にて複数層巻回されてなるステータ(11)であって、前記導線は、前記ティースの軸方向端部の両側で前記ティースの幅方向に対してそれぞれ傾斜して配置され、前記列替えを前記ティースの軸方向両側で分担する巻回態様をなしている。
【0009】
上記構成によれば、ステータコアのティースに巻回する導線は、ティースの軸方向端部の両側で自身の幅方向に対してそれぞれ傾斜して配置され、巻回1周毎の列替えをティースの軸方向両側で分担する巻回態様を用いる。つまり、巻回過程で導線を傾斜して配置する際、ティースの軸方向両側の個々の傾斜角度を小さく設定できるため、導線の巻崩れの懸念を抑えることが可能となる。これにより、導線の傾斜角度に相関のある導線の線径やティース幅の選択の自由度を向上させることが可能となる。
【0010】
本開示の一態様に係るモータは、上記記載のステータ(11)を備えて構成されている。
上記構成によれば、ステータに用いる導線の線径やステータコアのティース幅の選択の自由度の向上が可能となるため、モータの構成の自由度の向上も期待できる。
(【0011】以降は省略されています)
この特許をJ-PlatPat(特許庁公式サイト)で参照する
関連特許
他の特許を見る