TOP
|
特許
|
意匠
|
商標
特許ウォッチ
Twitter
他の特許を見る
公開番号
2025181068
公報種別
公開特許公報(A)
公開日
2025-12-11
出願番号
2024088822
出願日
2024-05-31
発明の名称
電気回路遮断装置
出願人
トヨタ自動車株式会社
代理人
弁理士法人小笠原特許事務所
主分類
H01H
39/00 20060101AFI20251204BHJP(基本的電気素子)
要約
【課題】クーラント材を用いることなくアーク放電の消弧性能を向上させることができる電気回路遮断装置を提供する。
【解決手段】本開示の電気回路遮断装置は、内部に円筒形状の空間を有するハウジングと、空間の上部に設けられた点火器と、空間内に配置され、点火器が作動することで発生するエネルギーを受けて空間を下部に向かって移動する発射体と、空間を横切るようにハウジングを貫通して設けられ、空間を移動する発射体によって切断される被切断部を有する導体片と、を備え、発射体は、点火器からエネルギーを受ける面に、空間を移動する方向を回転軸として発射体を回転させる力を発生させるための傾斜を有している。
【選択図】図1
特許請求の範囲
【請求項1】
内部に円筒形状の空間を有するハウジングと、
前記空間の上部に設けられた点火器と、
前記空間内に配置され、前記点火器が作動することで発生するエネルギーを受けて前記空間を下部に向かって移動する発射体と、
前記空間を横切るように前記ハウジングを貫通して設けられ、前記空間を移動する前記発射体によって切断される被切断部を有する導体片と、を備え、
前記発射体は、前記点火器から前記エネルギーを受ける面に、前記エネルギーを受けることによって前記空間を移動する方向を回転軸として前記発射体を回転させる力を発生させるための傾斜を有している、
電気回路遮断装置。
発明の詳細な説明
【技術分野】
【0001】
本開示は、発火式の電気回路遮断装置に関する。
続きを表示(約 1,600 文字)
【背景技術】
【0002】
特許文献1に、作動時にアーク放電を迅速に消弧することを可能とする電気回路遮断装置が開示されている。この電気回路遮断装置は、ハウジングに設けられた点火器と、作動した点火器からエネルギーを受けてハウジングの収容空間内を移動する発射体と、一部がハウジングの収容空間を横切るように配置され、移動する発射体によってその一部である被切除部が切除される導体片と、発射体が導体片の被切除部を切除した際に生じたアーク放電を消弧させるためクーラント材と、を備えている。
【先行技術文献】
【特許文献】
【0003】
特開2023-143090号公報
【発明の概要】
【発明が解決しようとする課題】
【0004】
特許文献1に記載された電気回路遮断装置では、発射体が導体片の被切除部を切除した際に生じるアークおよび被切除部の熱エネルギーを奪って冷却することによって、電流遮断時におけるアーク放電発生の抑制あるいは発生したアーク放電を消弧(消滅)させるための冷却材として、クーラント材を用いている。このため、電気回路遮断装置のコストが高くなるという課題がある。
【0005】
本開示は、上記課題を鑑みてなされたものであり、クーラント材を用いることなく、電気回路の遮断動作時におけるアーク放電の消弧性能を向上させることができる電気回路遮断装置を、提供することを目的とする。
【課題を解決するための手段】
【0006】
上記課題を解決するために、本開示技術の一態様は、内部に円筒形状の空間を有するハウジングと、空間の上部に設けられた点火器と、空間内に配置され、点火器が作動することで発生するエネルギーを受けて空間を下部に向かって移動する発射体と、空間を横切るようにハウジングを貫通して設けられ、空間を移動する発射体によって切断される被切断部を有する導体片と、を備え、発射体は、点火器からエネルギーを受ける面に、エネルギーを受けることによって空間を移動する方向を回転軸として発射体を回転させる力を発生させるための傾斜を有している、電気回路遮断装置である。
【発明の効果】
【0007】
上記本開示の電気回路遮断装置によれば、点火器からエネルギーを受けて移動する発射体が、自らが切断した導体片の被切断部を回転させてアークを引き延ばす(放電点間の距離を延ばす)。この発射体の動きにより、クーラント材を用いなくても、電気回路の遮断動作時におけるアーク放電の消弧性能を向上させることができる。
【図面の簡単な説明】
【0008】
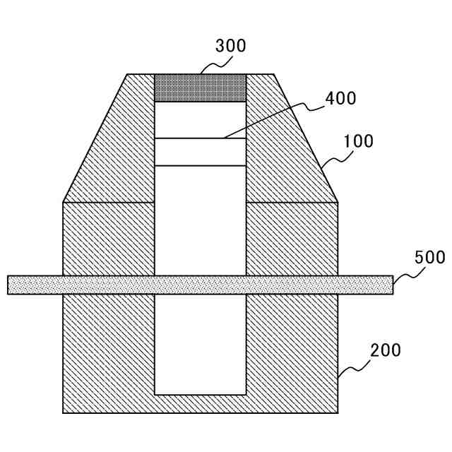
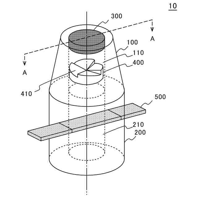
本開示の一実施形態に係る電気回路遮断装置の構造斜視図(一部透過)
図1に示す電気回路遮断装置のA-A線断面図
電気回路遮断装置の動作を説明する断面イメージ図
【発明を実施するための形態】
【0009】
<実施形態>
[構造]
図1は、本開示の一実施形態に係る電気回路遮断装置10の概略構造を説明する斜視図である。図2は、図1に示した電気回路遮断装置10をA-A線で切断した断面の概略図である。図1および図2に例示する電気回路遮断装置10は、上ハウジング100と、下ハウジング200と、点火器300と、発射体400と、導体片500と、を備える。なお、図1においては、構造を理解し易くするために、電気回路遮断装置10の主要な構成を透過させた状態で描いている。
【0010】
この電気回路遮断装置10は、例えば、電動車両などの電池パック(バッテリー)と充電用のインレットとの間に設けられ、インレットを介して外部の充電スタンドから電池パックを充電中に高圧地絡の異常が発生した際など、電池パックから流出する大電流を即時遮断するために用いられる。
(【0011】以降は省略されています)
この特許をJ-PlatPat(特許庁公式サイト)で参照する
関連特許
他の特許を見る