TOP
|
特許
|
意匠
|
商標
特許ウォッチ
Twitter
他の特許を見る
公開番号
2025181067
公報種別
公開特許公報(A)
公開日
2025-12-11
出願番号
2024088821
出願日
2024-05-31
発明の名称
電力変換制御装置
出願人
株式会社デンソー
代理人
名古屋国際弁理士法人
主分類
H02M
3/155 20060101AFI20251204BHJP(電力の発電,変換,配電)
要約
【課題】サージ電圧の発生を抑制するための処理の遅延を抑制する。
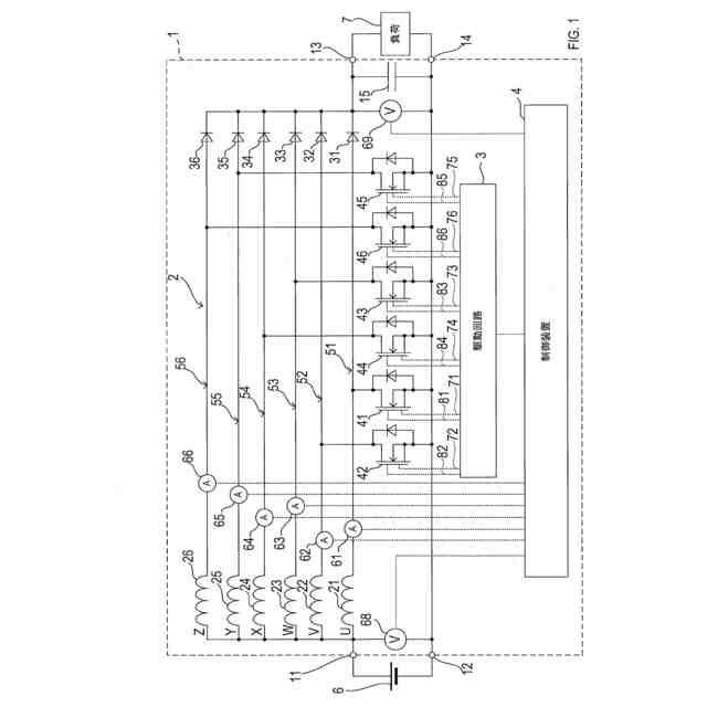
【解決手段】制御装置4は、CPUと制御レジスタとDMAコントローラとを備える。CPUは、複数の電力変換回路51~56を備える電力変換装置1を制御する。制御レジスタは、複数の電力変換回路51~56のそれぞれについて、駆動状態から停止状態へ遷移させるシャットダウン駆動信号を出力するか否かを制御するシャットダウン相制御データを記憶する。DMAコントローラは、シャットダウン条件が成立した場合に、シャットダウン間隔が経過する毎に、CPUを介することなくシャットダウン相制御データを制御レジスタへ転送することにより、複数の電力変換回路51~56を、シャットダウン間隔が経過する毎に、1つずつ順次、停止状態へ遷移させる。
【選択図】図1
特許請求の範囲
【請求項1】
複数の電力変換回路(51~56)を備える電力変換装置(1)を制御するように構成された中央演算処理装置(91)と、
複数の前記電力変換回路のそれぞれについて、前記電力変換回路が駆動している駆動状態から、前記電力変換回路が停止している停止状態へ遷移させるシャットダウン信号を出力するか否かを制御するシャットダウン制御情報(111~116,121~126)を記憶するように構成された制御レジスタ(96)と、
予め設定されたシャットダウン条件が成立したか否かを判断するように構成されたシャットダウン判断部(S10)と、
前記シャットダウン条件が成立したと前記シャットダウン判断部が判断した場合に、予め設定されたシャットダウン間隔が経過する毎に、前記中央演算処理装置を介することなく前記シャットダウン制御情報を前記制御レジスタへ転送することにより、前記駆動状態になっている複数の前記電力変換回路を、前記シャットダウン間隔が経過する毎に、1つずつ順次、前記停止状態へ遷移させるように構成された転送部(95)と
を備える電力変換制御装置(4)。
続きを表示(約 460 文字)
【請求項2】
請求項1に記載の電力変換制御装置であって、
当該電力変換制御装置は、タイマ機能を備え、
前記転送部は、ダイレクトメモリアクセス機能を備え、
前記タイマ機能により、前記シャットダウン間隔が経過する毎に転送割り込みを発生させ、
前記ダイレクトメモリアクセス機能により、前記転送割り込みが発生する毎に、前記シャットダウン制御情報を前記制御レジスタへ転送するように構成される電力変換制御装置。
【請求項3】
請求項1または請求項2に記載の電力変換制御装置であって、
前記中央演算処理装置は、複数の前記電力変換回路のうち前記駆動状態にする前記電力変換回路を示す駆動回路設定情報(100)に基づいて、複数の前記電力変換回路を制御するように構成され、
前記転送部は、前記駆動回路設定情報に基づいて、前記駆動状態になっている前記電力変換回路を優先して前記停止状態へ遷移させるように、前記シャットダウン制御情報を転送するように構成される電力変換制御装置。
発明の詳細な説明
【技術分野】
【0001】
本開示は、電力変換回路を制御する電力変換制御装置に関する。
続きを表示(約 1,500 文字)
【背景技術】
【0002】
電力変換装置は、複数のスイッチング素子を含むスイッチング回路を備えている。スイッチング素子のターンオフ時またはターンオン時にはサージ電圧が発生する。また、複数のスイッチング素子が同時にターンオフもしくはターンオンする場合に、複数のサージ電圧が重畳して、より大きなサージ電圧が発生する。
【0003】
特許文献1には、スイッチング素子のターンオンに起因するサージ電圧の発生タイミングと、スイッチング素子のターンオフに起因するサージ電圧の発生タイミングとがずれるようにデューティ比を補正することにより、大きなサージ電圧の発生を回避する電力変換装置が記載されている。
【先行技術文献】
【特許文献】
【0004】
特開2021-2925号公報
【発明の概要】
【発明が解決しようとする課題】
【0005】
フェールセーフ時には、すべての電力変換回路を所定時間内にシャットダウンする必要がある。しかし、発明者の詳細な検討の結果、大きなサージ電圧の発生を回避するために、スイッチング素子のターンオフに起因するサージ電圧の発生タイミングをずらす制御をソフトウェアで実現する場合には、他処理の割り込み禁止、または、ハンドラを呼び出す処理の数によって処理時間が長くなってしまう可能性があるという課題が見出された。
【0006】
本開示は、サージ電圧の発生を抑制するための処理の遅延を抑制することを目的とする。
【課題を解決するための手段】
【0007】
本開示の一態様は、中央演算処理装置(91)と、制御レジスタ(96)と、シャットダウン判断部(S10)と、転送部(95)とを備える電力変換制御装置(4)である。
中央演算処理装置は、複数の電力変換回路(51~56)を備える電力変換装置(1)を制御するように構成される。
【0008】
制御レジスタは、複数の電力変換回路のそれぞれについて、電力変換回路が駆動している駆動状態から、電力変換回路が停止している停止状態へ遷移させるシャットダウン信号を出力するか否かを制御するシャットダウン制御情報(111~116,121~126)を記憶するように構成される。
【0009】
シャットダウン判断部は、予め設定されたシャットダウン条件が成立したか否かを判断するように構成される。
転送部は、シャットダウン条件が成立したとシャットダウン判断部が判断した場合に、予め設定されたシャットダウン間隔が経過する毎に、中央演算処理装置を介することなくシャットダウン制御情報を制御レジスタへ転送することにより、駆動状態になっている複数の電力変換回路を、シャットダウン間隔が経過する毎に、1つずつ順次、停止状態へ遷移させるように構成される。
【0010】
このように構成された本開示の電力変換制御装置は、駆動状態になっている複数の電力変換回路を、シャットダウン間隔が経過する毎に、1つずつ順次、停止状態へ遷移させるため、停止状態へ遷移させることにより発生する複数のサージ電圧が重畳してしまう事態の発生を抑制することができる。さらに、本開示の電力変換制御装置は、中央演算処理装置を介することなくシャットダウン制御情報を制御レジスタへ転送するため、シャットダウン制御情報を制御レジスタへ転送する処理が遅延するのを抑制することができる。
(【0011】以降は省略されています)
この特許をJ-PlatPat(特許庁公式サイト)で参照する
関連特許
他の特許を見る