TOP
|
特許
|
意匠
|
商標
特許ウォッチ
Twitter
他の特許を見る
10個以上の画像は省略されています。
公開番号
2025181032
公報種別
公開特許公報(A)
公開日
2025-12-11
出願番号
2024088771
出願日
2024-05-31
発明の名称
開口部周囲の外装材構造
出願人
アイジー工業株式会社
代理人
主分類
E06B
1/62 20060101AFI20251204BHJP(戸,窓,シャッタまたはローラブラインド一般;はしご)
要約
【課題】開口部廻りで、見切り部材を留付ける胴縁がサッシから離れた位置に取付けられた場合でも、防水性を確保しつつ施工のしやすい外装材構造を提供する。
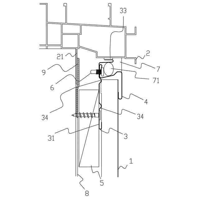
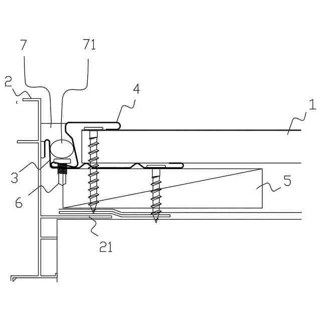
【解決手段】基底部と基底部の端部を立ち上げた立上片とから断面略L字状に形成し、さらに立上片の先端部分に高摩擦性の水密材を設けた見切下地材と、固定部と固定部の端部を立ち上げた支持部と支持部を折り曲げて固定部と略平行にした被覆部とから断面略Z字状に形成した見切材とで、見切材の固定部を見切下地材の基底部にビス留めすることにより見切材を胴縁に留付けせずに固定する。
【選択図】図4
特許請求の範囲
【請求項1】
外壁の開口部周囲において外装材の端部を見切下地材と見切材とによって挟み込むようにした外装材構造であって、
見切下地材は、基底部と基底部の端部を立ち上げた立上片とから断面略L字状に形成し、さらに立上片の先端部分に高摩擦性の水密材を設け、外装材の裏面側端部を基底部によって覆うものであり、
見切材は、固定部と、固定部の端部を立ち上げた支持部と、支持部を折り曲げて固定部と略平行にした被覆部とから断面略Z字状に形成し、外装材の側端部を支持部によって覆い、外装材の表面側端部を被覆部によって覆うものであり、
見切材の固定部を見切下地材の基底部にビス留めすることにより見切材を固定し、
見切下地材の水密材は開口部の枠に密接するようにしたことを特徴とする外装材周囲の外装材構造。
続きを表示(約 94 文字)
【請求項2】
前記見切下地材は、立上片の先端を基底部の位置する側の反対側に折り返して折返し片を形成し、折返し片に高摩擦性の水密材を設けている、請求項1に記載の外装材構造。
発明の詳細な説明
【技術分野】
【0001】
本発明は、建物における開口部周囲の外装材構造に関するものである。
続きを表示(約 1,500 文字)
【背景技術】
【0002】
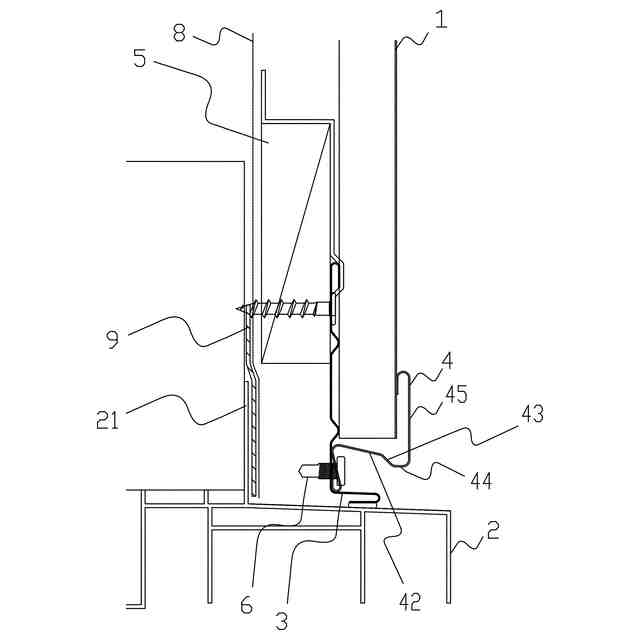
建物の開口部と外装材の取り合いにおいては、サイディング等の外装材の端部を隠す部材を用いるとともに、開口部廻りでの防水性を確保することが必要になる。
【0003】
従来、外装材用見切り部材としては、長尺状の2ピース部材を係止させて納める方法があり、施工のしやすさから使用されてきている。2ピースの見切り部材としては、外装材の施工前に配設する「係止体」の係止溝に、外装材の施工後、「化粧キャップ」の差込部を嵌合させて固定するものがある。(特許文献1)
【0004】
また、開口部の上側縁と外装材下端面の止水構造として、特許文献2のように、符号2の「水切り材」と符号6の「見切り材」を用いる例もある。
【先行技術文献】
【特許文献】
【0005】
公開特許公報平3-287971
特開2010-236247号公報
【発明の概要】
【発明が解決しようとする課題】
【0006】
サッシ等開口部において、樹脂サッシの使用などでサッシのツバが厚くなり、外装材や外装材用部材などを留付けるための胴縁は、サッシのツバに重ならないように配設されることがしばしばある。このようにサッシ枠から離れた位置に配設された胴縁に外装用部材を留付けると、サッシとの目地間隔が開き過ぎ、不定形シーリング材を適切に施工できなくなってしまう。そのため不定形シーリング材を適切に施工できるような目地間隔を確保して、外装材用部材を留付けることが必要になる。胴縁がサッシのツバに重ならないように、サッシから離れて取付けられた場合に、例えば特許文献1のような部材は、係止溝に差込部を嵌合させるとき、係止溝がある「係止体」は胴縁による下支えがなく、「係止体」の係止溝に「化粧キャップ」の差込部を嵌合させることが簡単にできなくなる。また、特許文献2のような部材では、「見切り材」のビス固定位置に胴縁がないため、「見切り材」を固定することができなくなる。
【0007】
本願発明は、以上のような事情に鑑み、胴縁がサッシ等開口部から離れた位置に配設された場合でも、サッシ等開口部と外装材の接合部分における水密性を確保しながら、外装材用の見切り部材を配設することを目的とする。
【課題を解決するための手段】
【0008】
本発明はこのような課題を解決するために、外装材用部材として、見切下地材と見切材を使って外装材を挟み込むようにした外装材構造として、見切下地材は、基底部と基底部の端部を立ち上げた立上片とから断面略L字状に形成し、さらに立上片の先端部分に高摩擦性の水密材を設け、外装材の裏面側端部を基底部によって覆い、見切材は、固定部と、固定部の端部を立ち上げた支持部と、支持部を折り曲げて固定部と略平行にした被覆部とから断面略Z字状に形成し、外装材の側端部を支持部によって覆い、また外装材の表面側端部を被覆部によって覆い、見切材の固定部を見切下地材の基底部にビス留めすることにより見切材を固定し、見切下地材の水密材は開口部の枠に密接するようにしたものである。
【0009】
また、見切下地材の立上片の先端を基底部の位置する側の反対側に折り返して折返し片を形成し、折返し片に高摩擦性の水密材を設けたものでもよい。
【発明の効果】
【0010】
本発明によれば、開口部周囲において、胴縁の位置に関わらずに施工しやすい外装材構造とすることができる。
【図面の簡単な説明】
(【0011】以降は省略されています)
この特許をJ-PlatPat(特許庁公式サイト)で参照する
関連特許
他の特許を見る