TOP
|
特許
|
意匠
|
商標
特許ウォッチ
Twitter
他の特許を見る
10個以上の画像は省略されています。
公開番号
2025180880
公報種別
公開特許公報(A)
公開日
2025-12-11
出願番号
2024088549
出願日
2024-05-31
発明の名称
野菜洗浄装置および野菜洗浄方法
出願人
株式会社クレオ
代理人
個人
,
個人
,
個人
,
個人
主分類
A23N
12/02 20060101AFI20251204BHJP(食品または食料品;他のクラスに包含されないそれらの処理)
要約
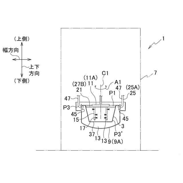
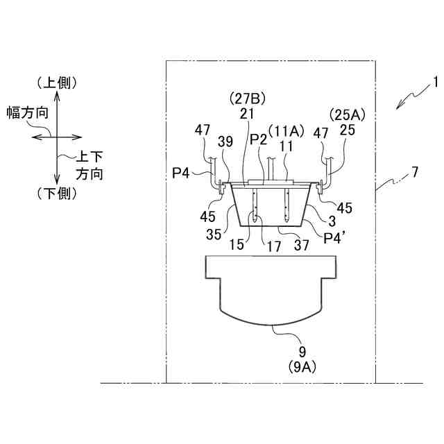
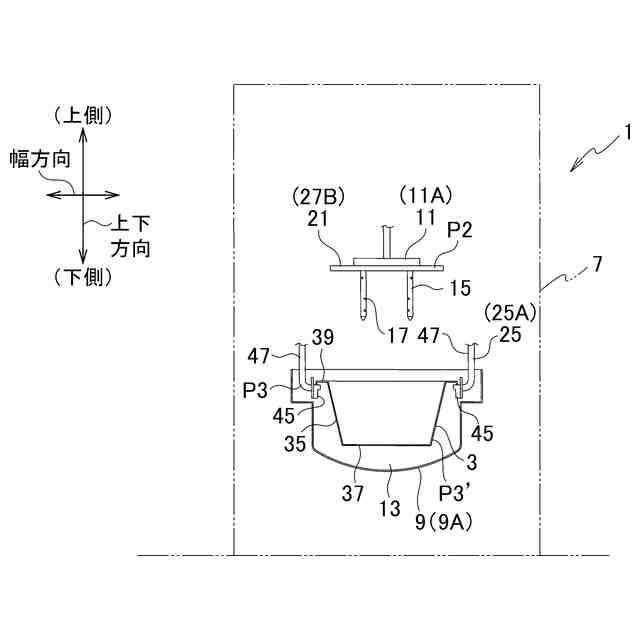
【課題】ザルカゴに入った野菜を洗浄槽内に洗浄液に浸して洗浄する野菜洗浄装置において、ザルカゴによって洗浄液の水流が妨げることなく、野菜に洗浄液の水流が十分に当たる野菜洗浄装置を提供する。
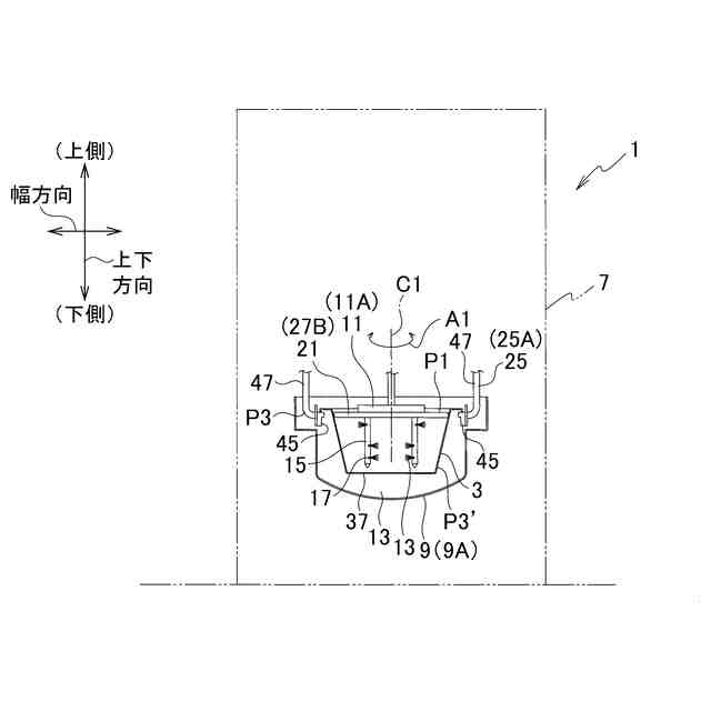
【解決手段】洗浄液13と野菜5が入れられているザルカゴ3とが入る洗浄槽9と、洗浄槽9内に入ったザルカゴ3内に入って、ザルカゴ3内で洗浄液を吐出するノズル15を備えたノズルユニット11とを有する野菜洗浄装置1である。
【選択図】図8
特許請求の範囲
【請求項1】
洗浄液と野菜が入れられているザルカゴとが入る洗浄槽と、
前記洗浄槽内に入ったザルカゴ内に入って、前記ザルカゴ内で洗浄液を吐出するノズルを備えたノズルユニットと、
を有する野菜洗浄装置。
続きを表示(約 1,700 文字)
【請求項2】
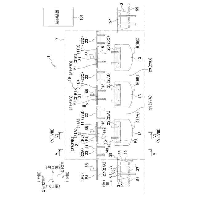
前記洗浄槽が複数設けられており、
前記ノズルユニットが複数設けられており、
複数の前記ザルカゴのそれぞれが複数の前記洗浄槽それぞれの内部に入るように構成されており、
複数の前記ノズルユニットのそれぞれが複数の前記洗浄槽それぞれの内部に入った前記ザルカゴ内に入り、前記ザルカゴ内で洗浄液を吐出するように構成されており、
複数の前記ザルカゴのそれぞれを搬送するザルカゴ搬送部を備えており、
複数の前記ザルカゴは、前記ザルカゴ搬送部によって、複数の前記洗浄槽のそれぞれに順々に入るように構成されている請求項1に記載の野菜洗浄装置。
【請求項3】
前記ザルカゴ搬送部が、前記ノズルユニットを移動するように構成されており、
前記ザルカゴ搬送部によって、前記ノズルユニットが、前記洗浄槽の内部に入った前記ザルカゴの内部に入っている下側位置と、前記洗浄槽の上部で前記洗浄槽の内部に入った前記ザルカゴの外に出た上側位置との間で移動するように構成されている請求項2に記載の野菜洗浄装置。
【請求項4】
前記ノズルユニットは、蓋部と前記ノズルとを備えて構成されており、前記ノズルは、前記蓋部から突出しており、
前記ノズルユニットが、洗浄液が入っている前記洗浄槽内に入ったザルカゴ内に入り前記ザルカゴ内で前記ノズルから洗浄液を吐出するときに、前記蓋部が前記ザルカゴの開口部を塞ぐように構成されている請求項1~請求項3のいずれか1項に記載の野菜洗浄装置。
【請求項5】
前記ザルカゴ搬送部は、搬送される前記ザルカゴをガイドする複数の固定ガイドレールと、搬送される前記ザルカゴをガイドし前記ザルカゴを上下方向で移動する複数の移動ガイドレールと、上下方向および水平な所定の一方向である出入口方向で前記ザルカゴを移動する複数の移動体とを備えて構成されており、
複数の前記固定ガイドレールのそれぞれは、上下方向では前記洗浄槽から離れ前記洗浄槽の上側に位置しており、出入口方向では、複数の前記洗浄槽のうちの互いが隣り合っている洗浄槽の間にある複数の洗浄槽間箇所に位置しており、
複数の前記移動ガイドレールのそれぞれは、出入口方向では、複数の前記洗浄槽それぞれにところに位置しており、上下方向では、前記移動ガイドレールでガイドされているザルカゴが前記洗浄槽内に入る下側位置と、前記移動ガイドレールでガイドされているザルカゴが前記洗浄槽の上側で前記洗浄槽の外に出ている上側位置との間で移動するようになっており、
前記移動体は、出入口方向で移動するときに、前記ザルカゴに係合し前記ザルカゴを搬送するようになっており、上下方向では、前記ノズルユニットのノズルを、前記ノズルが前記洗浄槽の内部に入った前記ザルカゴの内部に入っている下側位置と、前記ノズルが前記洗浄槽の上部で前記洗浄槽の外に出た上側位置との間で移動するように構成されている請求項2または請求項3に記載の野菜洗浄装置。
【請求項6】
野菜が入っているザルカゴを、洗浄液が入っている洗浄槽に入れるザルカゴ浸漬工程と、
前記ザルカゴ浸漬工程で野菜が入っているザルカゴを洗浄液が入っている洗浄槽に入れている状態で、ノズルを前記ザルカゴ内に入れ前記ノズルから洗浄液を吐出する洗浄液吐出工程と、
を有する野菜洗浄方法。
【請求項7】
前記洗浄槽は複数設けられており、
前記ザルカゴ浸漬工程は、複数の前記ザルカゴのそれぞれが複数の前記洗浄槽それぞれの入る工程であり、
前記洗浄液吐出工程は、前記ノズルを複数の前記洗浄槽それぞれの内部に入っている前記ザルカゴ内に入れ、前記ザルカゴ内で洗浄液を吐出する工程であり、
複数の前記ザルカゴのそれぞれを搬送するザルカゴ搬送工程を備えており、
前記ザルカゴ搬送工程では、複数の前記ザルカゴは、複数の前記洗浄槽のそれぞれに順々に入るようにして搬送する工程である請求項6に記載の野菜洗浄方法。
発明の詳細な説明
【技術分野】
【0001】
本発明は、野菜洗浄装置および野菜洗浄方法に関する。
続きを表示(約 1,300 文字)
【背景技術】
【0002】
従来、洗浄槽とスクリューとノズルとを備えた野菜洗浄装置が知られている(特許文献1参照)。従来の洗浄装置は、洗浄液で満たされた洗浄槽に、野菜が入っているザルカゴを入れる。スクリューとノズルとは、洗浄液中に入るようにして洗浄槽内に設置されている。
【0003】
また、スクリューとノズルとは、野菜が入っているザルカゴの外側で、洗浄槽の洗浄液中に入っている。そして、スクリューを回転しつつノズルから洗浄液を吐出して、洗浄カゴ内の野菜の洗浄を行っている。
【先行技術文献】
【特許文献】
【0004】
特開2017-192380号公報
【発明の概要】
【発明が解決しようとする課題】
【0005】
ところで、上記従来の野菜洗浄装置では、スクリューを回転しノズルから洗浄液を吐出しても、ザルカゴによって洗浄液の水流が妨げられ、野菜に洗浄液の水流が十分に当たらないおそれがある。
【0006】
本発明は、ザルカゴに入った野菜を洗浄槽内に洗浄液に浸して洗浄する野菜洗浄装置および野菜洗浄方法において、ザルカゴによって洗浄液の水流が妨げることなく、野菜に洗浄液の水流が十分に当たる野菜洗浄装置および野菜洗浄方法を提供することを目的とする。
【課題を解決するための手段】
【0007】
本発明の態様に係る野菜洗浄装置は、洗浄液と野菜が入れられているザルカゴとが入る洗浄槽と、前記洗浄槽内に入ったザルカゴ内に入って、前記ザルカゴ内で洗浄液を吐出するノズルを備えたノズルユニットとを有する野菜洗浄装置である。
【0008】
本発明の態様に係る野菜洗浄装置では、前記洗浄槽が複数設けられており、前記ノズルユニットが複数設けられており、複数の前記ザルカゴのそれぞれが複数の前記洗浄槽それぞれの内部に入るように構成されており、複数の前記ノズルユニットのそれぞれが複数の前記洗浄槽それぞれの内部に入った前記ザルカゴ内に入り、前記ザルカゴ内で洗浄液を吐出するように構成されており、複数の前記ザルカゴのそれぞれを搬送するザルカゴ搬送部を備えており、複数の前記ザルカゴは、前記ザルカゴ搬送部によって、複数の前記洗浄槽のそれぞれに順々に入るように構成されている。
【0009】
本発明の態様に係る野菜洗浄装置は、前記ザルカゴ搬送部が、前記ノズルユニットを移動するように構成されており、前記ザルカゴ搬送部によって、前記ノズルユニットが、前記洗浄槽の内部に入った前記ザルカゴの内部に入っている下側位置と、前記洗浄槽の上部で前記洗浄槽の内部に入った前記ザルカゴの外に出た上側位置との間で移動するように構成されている。
【0010】
本発明の態様に係る野菜洗浄装置では、前記ノズルユニットが、蓋部と前記ノズルとを備えて構成されており、前記ノズルが、前記蓋部から突出しており、前記ノズルユニットが、洗浄液が入っている前記洗浄槽内に入ったザルカゴ内に入り前記ザルカゴ内で前記ノズルから洗浄液を吐出するときに、前記蓋部が前記ザルカゴの開口部を塞ぐように構成されている。
(【0011】以降は省略されています)
この特許をJ-PlatPat(特許庁公式サイト)で参照する
関連特許
他の特許を見る