TOP
|
特許
|
意匠
|
商標
特許ウォッチ
Twitter
他の特許を見る
10個以上の画像は省略されています。
公開番号
2025180859
公報種別
公開特許公報(A)
公開日
2025-12-11
出願番号
2024088497
出願日
2024-05-31
発明の名称
表示装置、情報処理装置、表示装置の制御方法および情報処理装置の制御方法
出願人
シャープ株式会社
代理人
個人
,
個人
主分類
H04N
21/482 20110101AFI20251204BHJP(電気通信技術)
要約
【課題】放送番組の配信コンテンツを考慮した視聴優先度をユーザに提示できる表示装置等を提供する。
【解決手段】表示装置は、複数の放送番組の放送波を受信する番組受信部と、前記複数の放送番組の少なくとも一つに対応する第1配信コンテンツについての配信予定の有無に基づいた視聴優先度であって前記複数の放送番組のそれぞれの視聴優先度を設定する視聴優先度設定部と、設定された前記視聴優先度に基づいて、視聴を推薦する1つ以上の放送番組を提示する提示制御部と、を備える。
【選択図】図1
特許請求の範囲
【請求項1】
複数の放送番組の放送波を受信する番組受信部と、
前記複数の放送番組の少なくとも一つに対応する第1配信コンテンツについての配信予定の有無に基づいた視聴優先度であって前記複数の放送番組のそれぞれの視聴優先度を設定する視聴優先度設定部と、
設定された前記視聴優先度に基づいて、視聴を推薦する1つ以上の放送番組を提示する提示制御部と、
を備える表示装置。
続きを表示(約 1,400 文字)
【請求項2】
前記視聴優先度設定部は、前記複数の放送番組のうち前記第1配信コンテンツの配信予定がない放送番組に対して、視聴優先度が最も高い第1視聴優先度を設定する、請求項1に記載の表示装置。
【請求項3】
前記視聴優先度設定部は、前記複数の放送番組のうち前記第1配信コンテンツの配信予定がある複数の放送番組に対して、前記第1視聴優先度よりも視聴優先度が低い視聴優先度であって、前記第1配信コンテンツの配信期間が短くなるに応じて高い視聴優先度を設定する、請求項2に記載の表示装置。
【請求項4】
前記視聴優先度設定部は、前記複数の放送番組のうち前記第1配信コンテンツの配信予定がある複数の放送番組に対して、前記第1視聴優先度よりも視聴優先度が低い視聴優先度であって、前記放送番組の映像の時間と当該放送番組に対応する第1配信コンテンツの映像の時間との差分が大きくなるに応じて高い視聴優先度を設定する、請求項2に記載の表示装置。
【請求項5】
前記放送番組に対して当該放送番組に対応する第1配信コンテンツに追加された映像の時間を示す追加時間情報を取得する追加時間情報取得部、をさらに備え、
前記視聴優先度設定部は、前記差分の時間よりも前記追加時間情報が示す時間が長い放送番組の視聴優先度を低くする、請求項4に記載の表示装置。
【請求項6】
前記提示制御部は、前記複数の放送番組のうち最も高い視聴優先度の放送番組を、前記視聴を推薦する放送番組として提示する、請求項1に記載の表示装置。
【請求項7】
前記提示制御部は、前記複数の放送番組のそれぞれを示す情報を、最も高い視聴優先度の放送番組から順番に並べて提示する、請求項1に記載の表示装置。
【請求項8】
前記放送番組に対応する前記第1配信コンテンツとは異なる第2配信コンテンツおよび当該第2配信コンテンツの配信期間を示す情報を取得する配信コンテンツ取得部、をさらに備え、
前記視聴優先度設定部は、前記第2配信コンテンツの配信期間に基づき、前記複数の放送番組および前記第2配信コンテンツのそれぞれの視聴優先度を設定する、請求項1に記載の表示装置。
【請求項9】
表示装置が受信する複数の放送番組のそれぞれに対応する第1配信コンテンツについて、配信予定に関する第1配信予定情報を取得する配信予定取得部と、
前記第1配信予定情報が示す配信予定の有無に基づき、前記複数の放送番組のそれぞれの視聴優先度を設定する視聴優先度設定部と、
設定された前記視聴優先度に基づいて、視聴を推薦する1つ以上の放送番組を前記表示装置に提示させる制御を行う提示制御部と、
を備える情報処理装置。
【請求項10】
複数の放送番組の放送波を受信する番組受信部、を有する表示装置の制御方法であって、
前記複数の放送番組の少なくとも一つに対応する第1配信コンテンツについての配信予定の有無に基づいた視聴優先度であって前記複数の放送番組のそれぞれの視聴優先度を取得し、
取得された前記視聴優先度に基づいて、視聴を推薦する1つ以上の放送番組を提示する、
表示装置の制御方法。
(【請求項11】以降は省略されています)
発明の詳細な説明
【技術分野】
【0001】
本発明は、表示装置、情報処理装置、表示装置の制御方法および情報処理装置の制御方法に関する。
続きを表示(約 1,700 文字)
【背景技術】
【0002】
ユーザに視聴を推薦する番組を提示するテレビが用いられている。例えば、異なる推薦方式に基づいて番組を推薦する技術が特許文献1に提案されている。
【先行技術文献】
【特許文献】
【0003】
特開2020-061182号公報
【発明の概要】
【発明が解決しようとする課題】
【0004】
近年、放送局が放送した放送番組を、放送後に、配信コンテンツとして、インターネット等を介して配信するサービスが普及している。配信コンテンツは、後日、視聴可能であるため、当該配信コンテンツを考慮すると、放送中の各放送番組の視聴優先度が変わることがある。特許文献1は、配信コンテンツを考慮して番組を推薦するものではない。
【0005】
1つの側面として、本開示の目的は、放送番組の配信コンテンツを考慮した視聴優先度をユーザに提示できる表示装置等を提供することにある。
【課題を解決するための手段】
【0006】
本発明の一態様に係る表示装置は、複数の放送番組の放送波を受信する番組受信部と、前記複数の放送番組の少なくとも一つに対応する第1配信コンテンツについての配信予定の有無に基づいた視聴優先度であって前記複数の放送番組のそれぞれの視聴優先度を設定する視聴優先度設定部と、設定された前記視聴優先度に基づいて、視聴を推薦する1つ以上の放送番組を提示する提示制御部と、を備える。
【図面の簡単な説明】
【0007】
第1実施形態のテレビの一例を示す図である。
配信情報の一例を示す図である。
第1実施形態の視聴履歴情報の一例を示す図である。
推薦度テーブルの一例を示す図である。
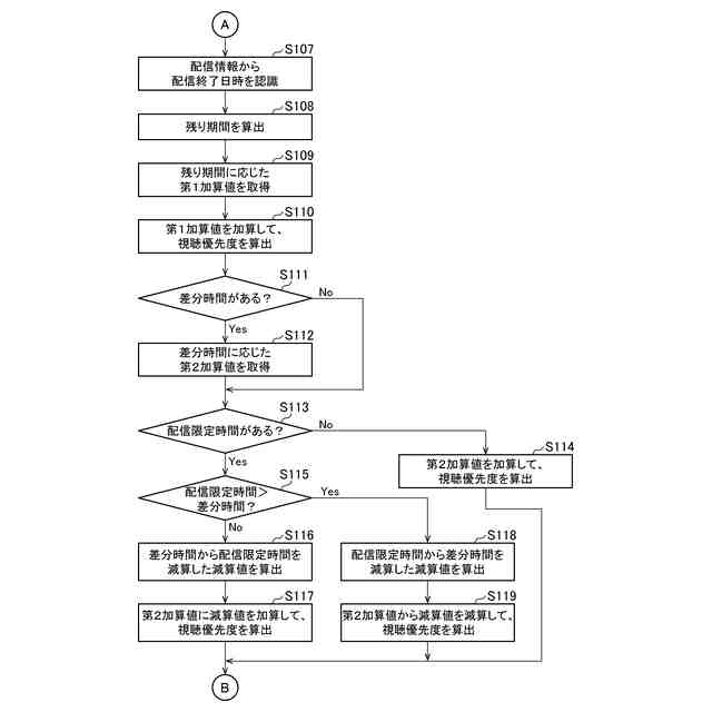
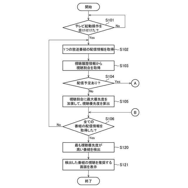
第1実施形態の視聴優先度の算出の一例を示す図である。
第1実施形態の提示画面の一例を示す図である。
第1実施形態の処理の流れの一例を示すフローチャートである。
図7から続くフローチャートである。
第2実施形態のテレビの一例を示す図である。
第2配信コンテンツ情報の一例を示す図である。
第2実施形態の視聴履歴情報の一例を示す図である。
第2実施形態の視聴優先度の算出の一例を示す図である。
第2実施形態の提示画面の一例を示す図である。
第3実施形態のテレビの一例を示す図である。
事業者サーバの一例を示す図である。
第4実施形態のテレビの一例を示す図である。
【発明を実施するための形態】
【0008】
<第1実施形態>
以下、第1実施形態について説明する。図1は、第1実施形態のテレビ100の一例を示す図である。テレビ100は、複数の放送局101からの放送番組の放送波を受信する表示装置である。テレビ100は、制御部111、番組受信部112、記憶部113、リモコン信号受信部114、通信部115、表示部116およびスピーカ117を含む。
【0009】
制御部111は、テレビ100の各種の処理を実行する。制御部111は、プロセッサおよびメモリを有する。制御部111のメモリに記憶された複数の命令セット(プログラム)を制御部111のプロセッサが実行することにより、制御部111の各種の制御が実現され得る。プロセッサには、CPU(Central Processing Unit)やGPU(Graphics Processing Unit)、FPGA(Field Programmable Gate Array)等の任意のプロセッサが適用され得る。
【0010】
番組受信部112は、各放送局101の放送装置101Aから、放送番組の放送波を受信する。記憶部113は、各種の情報を記憶する。リモコン信号受信部114は、リモートコントローラ(リモコン)114Rからのリモコン信号を受信する。リモコン114Rは、ユーザがテレビ100を操作する際に用いられる操作デバイスである。
(【0011】以降は省略されています)
この特許をJ-PlatPat(特許庁公式サイト)で参照する
関連特許
他の特許を見る