TOP
|
特許
|
意匠
|
商標
特許ウォッチ
Twitter
他の特許を見る
公開番号
2025180590
公報種別
公開特許公報(A)
公開日
2025-12-11
出願番号
2024088024
出願日
2024-05-30
発明の名称
ダイキャストマシン
出願人
トヨタ自動車株式会社
代理人
弁理士法人YKI国際特許事務所
主分類
B22D
17/22 20060101AFI20251204BHJP(鋳造;粉末冶金)
要約
【課題】ダイキャストマシンの起動直後における、冷却液の流量制御の応答性が向上したダイキャストマシンを提供する。
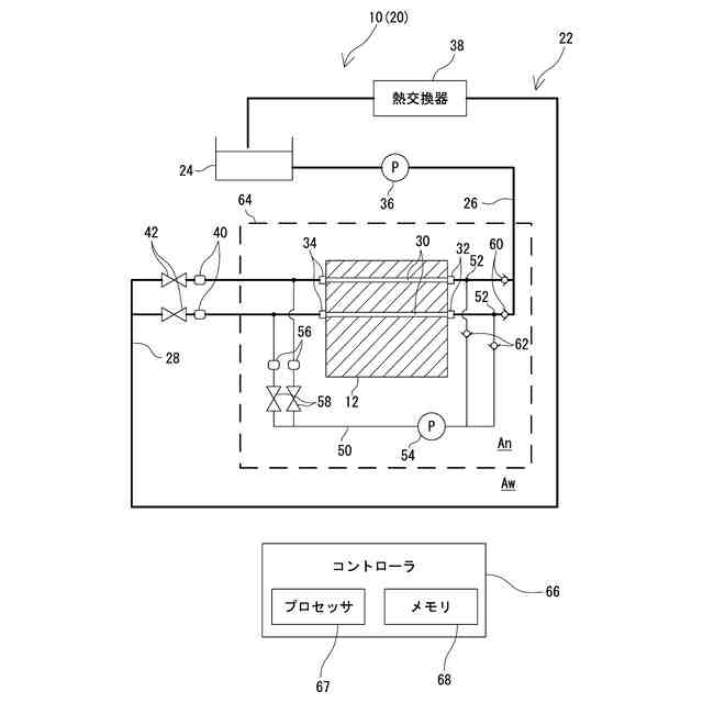
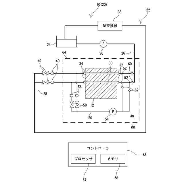
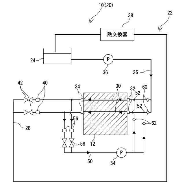
【解決手段】ダイキャストマシン10は、金型12を冷却する冷却液が循環して流れるメイン循環流路22と、前記メイン循環流路22に冷却液を送るメインポンプ36と、前記冷却液が循環して流れるサブ循環流路50であって、前記メイン循環流路22よりも短いサブ循環流路50と、前記サブ循環流路50に前記冷却液を送るサブポンプ54と、を備える。
【選択図】図1
特許請求の範囲
【請求項1】
金型を冷却する冷却液が循環して流れるメイン循環流路と、
前記メイン循環流路に冷却液を送るメインポンプと、
前記冷却液が循環して流れるサブ循環流路であって、前記メイン循環流路よりも短いサブ循環流路と、
前記サブ循環流路に前記冷却液を送るサブポンプと、
を備えることを特徴とするダイキャストマシン。
続きを表示(約 980 文字)
【請求項2】
請求項1に記載のダイキャストマシンであって、
前記メイン循環流路は、前記金型に向かって前記冷却液を導く往路と、前記金型から出た前記冷却液を導く復路と、を有し、
前記サブ循環流路は、前記復路から分岐して、前記往路に合流し、
前記サブポンプは、前記サブ循環流路に設けられ、前記冷却液を、前記復路から、前記サブ循環流路を経て、前記往路に送る、
ことを特徴とするダイキャストマシン。
【請求項3】
請求項2に記載のダイキャストマシンであって、
さらに、前記往路と前記サブ循環流路との合流点の近傍に配置される第一逆止弁および第二逆止弁を備え、
前記第一逆止弁は、前記往路であって、前記合流点より前記往路の進行方向上流側位置に配置され、
前記第二逆止弁は、前記サブ循環流路であって、前記合流点より前記還流路の進行方向上流側位置に配置される、
ことを特徴とするダイキャストマシン。
【請求項4】
請求項1に記載のダイキャストマシンであって、
前記サブポンプの出力は、前記メインポンプの出力よりも小さい、ことを特徴とするダイキャストマシン。
【請求項5】
請求項1に記載のダイキャストマシンであって、さらに、
非作業エリアと作業エリアとを区分けする安全柵と、
前記作業エリアに配置され、前記メイン循環流路の流量を計測するメイン流量計と、
前記非作業エリアに配置され、サブ循環流路の流量を計測するサブ流量計と、
を備え、前記メイン循環流路は、その一部が前記作業エリアを通り、
前記サブ循環流路は、前記作業エリアを通らない、
ことを特徴とするダイキャストマシン。
【請求項6】
請求項1に記載のダイキャストマシンであって、さらに、
コントローラを備え、
前記コントローラは、前記ダイキャストマシンの起動後、最初のショットにおいて前記冷却液を前記サブ循環流路に流し、2回目以降のショットにおいて、あるいは、前記サブ循環流路に流れる冷却液温度が基準値を超えた場合において、前記冷却液を前記メイン循環流路に流す、
ことを特徴とするダイキャストマシン。
発明の詳細な説明
【技術分野】
【0001】
本明細書は、金型を冷却するための循環流路を有するダイキャストマシンを開示する。
続きを表示(約 1,200 文字)
【背景技術】
【0002】
一般に、ダイキャストマシンには、冷却液が循環して流れる循環流路が設けられている。この循環流路は、金型を経由しており、当該循環流路を流れる冷却液により、金型、ひいては、金型内の製品が冷却される。
【0003】
例えば、特許文献1には、金型に冷却媒体を冷却するための金型冷却機構が開示されている。特許文献1の金型冷却機構は、冷媒流路を有しており、この冷媒流路は、金型に冷却媒体を導く往路と、金型から出た冷却媒体を導く復路と、金型の外側で往路と復路とを接続するバイパス路と、を有する。特許文献1では、金型を冷却する必要が無い場合には、往路と金型との接続を遮断して、バイパス路に冷却冷媒を流すことで、金型の冷え過ぎを防止している。
【先行技術文献】
【特許文献】
【0004】
特開2009-202196号公報
【発明の概要】
【発明が解決しようとする課題】
【0005】
ところで、近年、大型製品をダイキャストで製造することが提案されている。大型製品を対象とした場合、ダイキャストマシンそのものも大型化し、冷却液が流れる循環流路も長くなり、冷却液の流量も増える。そのため、ダイキャストマシンの起動直後において、冷却液の流量制御の応答性が悪いという問題があった。
【0006】
そこで、本明細書では、ダイキャストマシンの起動直後における、冷却液の流量制御の応答性が向上したダイキャストマシンを開示する。
【課題を解決するための手段】
【0007】
本明細書で開示するダイキャストマシンは、金型を冷却する冷却液が循環して流れるメイン循環流路と、前記メイン循環流路に冷却液を送るメインポンプと、前記冷却液が循環して流れるサブ循環流路であって、前記メイン循環流路よりも短いサブ循環流路と、前記サブ循環流路に前記冷却液を送るサブポンプと、を備えることを特徴とする。
【0008】
この場合、前記メイン循環流路は、前記金型に向かって前記冷却液を導く往路と、前記金型から出た前記冷却液を導く復路と、を有し、前記サブ循環流路は、前記復路から分岐して、前記往路に合流し、前記サブポンプは、前記サブ循環流路に設けられ、前記冷却液を、前記復路から、前記サブ循環流路を経て、前記往路に送ってもよい。
【0009】
また、さらに、前記往路と前記サブ循環流路との合流点の近傍に配置される第一逆止弁および第二逆止弁を備え、前記第一逆止弁は、前記往路であって、前記合流点より前記往路の進行方向上流側位置に配置され、前記第二逆止弁は、前記サブ循環流路であって、前記合流点より前記還流路の進行方向上流側位置に配置されてもよい。
【0010】
また、前記サブポンプの出力は、前記メインポンプの出力よりも小さくてもよい。
(【0011】以降は省略されています)
この特許をJ-PlatPat(特許庁公式サイト)で参照する
関連特許
他の特許を見る