TOP
|
特許
|
意匠
|
商標
特許ウォッチ
Twitter
他の特許を見る
公開番号
2025180579
公報種別
公開特許公報(A)
公開日
2025-12-11
出願番号
2024088005
出願日
2024-05-30
発明の名称
情報処理装置、情報処理方法および情報処理システム
出願人
株式会社デンソーテン
代理人
弁理士法人酒井国際特許事務所
主分類
G08G
1/00 20060101AFI20251204BHJP(信号)
要約
【課題】ユーザが注意すべき利用事項を精度良く認識させることができる情報処理装置、情報処理方法および情報処理システムを提供すること。
【解決手段】実施形態に係る情報処理装置は、コントローラを備える。コントローラは、車両を運転するサービスをユーザが利用する際の利用事項を端末装置に表示する。コントローラは、ユーザが過去にサービスを利用した際の運転操作情報に基づいて利用事項に含まれる複数の利用項目の中で当該ユーザが注意すべき利用項目を強調表示するとともに、ユーザの視野情報に基づいて、強調表示した利用項目を見たか否かを判定する。
【選択図】図1
特許請求の範囲
【請求項1】
車両を運転するサービスをユーザが利用する際の利用事項を端末装置に表示するコントローラを備え、
前記コントローラは、
前記ユーザが過去に前記サービスを利用した際の運転操作情報に基づいて前記利用事項に含まれる複数の利用項目の中で当該ユーザが注意すべき前記利用項目を強調表示するとともに、前記ユーザの視野情報に基づいて、強調表示した前記利用項目を見たか否かを判定する
情報処理装置。
続きを表示(約 1,400 文字)
【請求項2】
前記視野情報は、
前記ユーザが前記利用事項を見ている際の顔画像の情報を含み、
前記コントローラは、
前記顔画像に基づいて前記ユーザの視線方向を特定し、特定した前記視線方向に基づいて前記強調表示した前記利用項目を見たか否かを判定する
請求項1に記載の情報処理装置。
【請求項3】
前記視野情報は、
前記ユーザの操作に従って画面が遷移する速度である画面遷移速度の情報を含み、
前記コントローラは、
前記視線方向に対応する視野領域を前記端末装置の画面に設定し、前記画面遷移速度に基づいて、前記強調表示した前記利用項目の領域が前記視野領域に所定時間以上留まった場合に当該強調表示した前記利用項目を見たと判定する
請求項2に記載の情報処理装置。
【請求項4】
前記コントローラは、
前記端末装置の画面上における前記視線方向の推移を特定し、前記視線方向の推移に基づいて、前記視線方向が前記強調表示した前記利用項目の領域を通過した場合に、当該強調表示した前記利用項目を見たと判定する
請求項2に記載の情報処理装置。
【請求項5】
前記コントローラは、
前記運転操作情報に基づいて前記利用項目に対する違反の有無を特定し、違反した前記利用項目を強調表示する
請求項1に記載の情報処理装置。
【請求項6】
前記運転操作情報は、
前記ユーザが過去にサービスを利用した際の前記車両の位置情報の履歴を含み、
前記コントローラは、
前記位置情報の履歴に基づいて前記利用項目に対する違反の有無を特定する
請求項5に記載の情報処理装置。
【請求項7】
前記運転操作情報は、
前記ユーザが過去にサービスを利用した際の前記車両の車内の状況を検出するセンサの検出情報を含み、
前記コントローラは、
前記検出情報の履歴に基づいて前記利用項目に対する違反の有無を特定する
請求項5に記載の情報処理装置。
【請求項8】
コンピュータによって実行される情報処理方法であって、
車両を運転するサービスをユーザが利用する際の利用事項を端末装置に表示する工程を含み、
前記工程は、
前記ユーザが過去に前記サービスを利用した際の運転操作情報に基づいて前記利用事項に含まれる複数の利用項目の中で当該ユーザが注意すべき前記利用項目を強調表示するとともに、前記ユーザの視野情報に基づいて、強調表示した前記利用項目を見たか否かを判定する
情報処理方法。
【請求項9】
車両を運転するサービスをユーザが利用する際の利用事項を出力する情報処理装置と、
前記情報処理装置から受信した前記利用事項を表示する端末装置と、
を備え、
前記情報処理装置は、
前記ユーザが過去に前記サービスを利用した際の運転操作情報に基づいて前記利用事項に含まれる複数の利用項目の中で当該ユーザが注意すべき前記利用項目を強調表示するとともに、前記ユーザの視野情報に基づいて、強調表示した前記利用項目を見たか否かを判定する
情報処理システム。
発明の詳細な説明
【技術分野】
【0001】
本発明は、情報処理装置、情報処理方法および情報処理システムに関する。
続きを表示(約 1,400 文字)
【背景技術】
【0002】
従来、レンタカーを借りる際には、ユーザはインターネットを介して事前に予約を行っておき、当日は店舗で利用事項の説明を受けるだけで、車両の受け渡しを行える技術が普及している。
【0003】
また、特許文献1では、車両を借りる際の利用事項を予約時にユーザ端末に表示することで利用事項の説明を事前に済ませておく技術や、利用事項の読み飛ばしを検知して警告する技術が開示されている。
【先行技術文献】
【特許文献】
【0004】
特開2010-39646号公報
【発明の概要】
【発明が解決しようとする課題】
【0005】
しかしながら、従来技術では、単に利用事項の読み飛ばしを検知しているに過ぎず、各ユーザが特に注意すべき利用事項の項目を確実に認識できているとは言えなかった。例えば、ユーザが過去に車両を借りた際に利用事項の項目に違反していた場合に、読み飛ばしを検知しただけでは、違反した項目を確実に認識できているとは言えなかった。
【0006】
本発明は、上記に鑑みてなされたものであって、ユーザが注意すべき利用事項を精度良く認識させることができる情報処理装置、情報処理方法および情報処理システムを提供することを目的とする。
【課題を解決するための手段】
【0007】
上述した課題を解決し、目的を達成するために、本発明に係る情報処理装置は、コントローラを備える。前記コントローラは、車両を運転するサービスをユーザが利用する際の利用事項を端末装置に表示する。前記コントローラは、前記ユーザが過去に前記サービスを利用した際の運転操作情報に基づいて前記利用事項に含まれる複数の利用項目の中で当該ユーザが注意すべき前記利用項目を強調表示するとともに、前記ユーザの視野情報に基づいて、強調表示した前記利用項目を見たか否かを判定する。
【発明の効果】
【0008】
本発明によれば、過去にサービスを利用した際の運転操作情報に基づいてユーザが注意すべき利用項目を強調表示する。また、ユーザの視野情報に基づいて、強調表示した利用項目をユーザが見たか否かを判定するため、強調表示した利用項目をユーザが見逃すことを高精度に回避できる。すなわち、本発明によれば、ユーザが注意すべき利用事項を精度良く認識させることができる。
【図面の簡単な説明】
【0009】
図1は、実施形態に係る情報処理システムの構成例を示すブロック図である。
図2は、ユーザ端末の構成例を示すブロック図である。
図3は、事業者端末の構成例を示すブロック図である。
図4は、情報処理装置の構成例を示すブロック図である。
図5は、ユーザ情報の一例を示す図である。
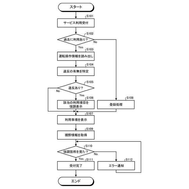
図6は、利用事項情報の一例を示す図である。
図7は、読み飛ばし判定処理を示す図である。
図8は、実施形態に係る情報処理装置が実行する予約受付処理の処理手順を示すフロチャートである。
【発明を実施するための形態】
【0010】
以下、添付図面を参照して、実施形態に係る情報処理装置、情報処理方法および情報処理システムを詳細に説明する。なお、以下に示す実施形態によりこの発明が限定されるものではない。
(【0011】以降は省略されています)
この特許をJ-PlatPat(特許庁公式サイト)で参照する
関連特許
他の特許を見る