TOP
|
特許
|
意匠
|
商標
特許ウォッチ
Twitter
他の特許を見る
公開番号
2025180546
公報種別
公開特許公報(A)
公開日
2025-12-11
出願番号
2024087952
出願日
2024-05-30
発明の名称
接続部材
出願人
株式会社アイシン
代理人
弁理士法人R&C
主分類
H01R
4/58 20060101AFI20251204BHJP(基本的電気素子)
要約
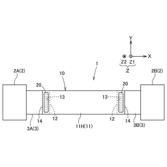
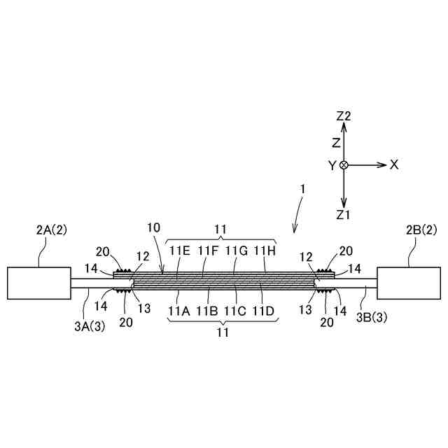
【課題】電気的接続に利用する小型の接続部材を提供する。
【解決手段】接続部材1は、導電性の複数の薄板11を第1方向に沿って積層し、可撓性を有する状態で板状に形成された板状部10を備え、板状部10は、接続対象2の端子3に溶接された溶接部20を有する。
【選択図】図1
特許請求の範囲
【請求項1】
導電性の複数の薄板を第1方向に沿って積層し、可撓性を有する状態で板状に形成された板状部を備え、
前記板状部は、接続対象の端子に溶接された溶接部を有する接続部材。
続きを表示(約 330 文字)
【請求項2】
前記板状部は、複数の前記薄板のうちの前記第1方向の一方側の端部の前記薄板の厚さが、他の前記薄板の厚さよりも厚い請求項1に記載の接続部材。
【請求項3】
前記板状部は、前記端子が挿入される端子受部を有し、
前記端子受部は、前記板状部における前記第1方向の中央側の前記薄板の外縁部の一部が、前記第1方向に沿う外側の前記薄板の外縁部の一部よりも前記第1方向に直交する面と平行な方向に沿って引退して形成されている請求項1又は2に記載の接続部材。
【請求項4】
前記板状部は、前記端子受部よりも前記第1方向の一方側の厚さが、前記端子受部よりも前記第1方向の他方側の厚さよりも厚い請求項3に記載の接続部材。
発明の詳細な説明
【技術分野】
【0001】
本発明は、接続対象同士を電気的に接続する接続部材に関する。
続きを表示(約 2,000 文字)
【背景技術】
【0002】
近年、走行駆動源としてモータを備えた自動車(ハイブリッド車(HEV:Hybrid Electric Vehicle)、プラグインハイブリッド車(PHEV:Plug-in Hybrid Electric Vehicle)、バッテリ車(BEV:Battery Electric Vehicle)、燃料電池車(FCEV:Fuel Cell Electric Vehicle)等)が普及している。これらの自動車(以下、「電動車」と総称する)には、例えば電動車に搭載されるバッテリへの電力供給や、電動車が走行可能な動力を出力するモータへの電力供給を行う電力変換装置が搭載されている。電力変換装置においては、当該電力変換装置を構成する部品や基板、更には電力の需給を行うバッテリやモータ等との電気的接続に接続部材が用いられる。一方、電力変換装置は、例えば電動車の走行に応じて揺動することがあるが、電力変換装置が揺動した場合であっても接続部材は接続状態を維持する必要がある。そこで、揺動に対する技術が検討されてきた(例えば特許文献1及び2)。
【0003】
特許文献1には可撓導体について記載されている。この可撓導体は、複数枚の薄板を積層して形成された可撓部と、可撓部の両端部に設けられ、積層された薄板が抵抗加熱により溶融して凝固した端子部とを備えている。
【0004】
特許文献2には回転電機について記載されている。この回転電機は、固定子コイルの端部に設けられた接続導体部と、回転電機の出力端子と、複数の金属板を積層して形成され、第1積層部と第2積層部とを有するフレキシブル導体部とを備えている。接続導体部と回転電機の出力端子とは、第1積層部と第2積層部とで電気的に並列に接続されている。
【先行技術文献】
【特許文献】
【0005】
特開2013-131434号公報
特開2014-42430号公報
【発明の概要】
【発明が解決しようとする課題】
【0006】
ここで、車両に搭載される電力変換装置は、システムの性能向上や低コスト化の観点から小型化が求められる。特許文献1に記載の可撓導体は、可撓部の両端の端子部をオス型のコネクタとして用い、接続対象のメス型のコネクタとの接続に利用している。しかしながら、この場合、接続対象にメス型のコネクタを設ける必要があるため、小型化の点で改善の余地がある。また、特許文献2に記載の回転電機で用いられるフレキシブル導体部は、上記のように回転電機の接続導体部と出力端子とを接続するが、特許文献2には接続する形態に関して開示されておらず、小型化を行う上で検討の余地がある。
【0007】
そこで、電気的接続に利用する小型の接続部材が求められる。
【課題を解決するための手段】
【0008】
本発明に係る接続部材の特徴構成は、導電性の複数の薄板を第1方向に沿って積層し、可撓性を有する状態で板状に形成された板状部を備え、前記板状部は、接続対象の端子に溶接された溶接部を有する点にある。
【0009】
このような特徴構成とすれば、例えば揺動や振動により、接続部材により接続される2つの接続対象に亘る第1方向に沿う距離や、2つの接続対象に亘る、第1方向に直交し、互いに対向する方向に沿う距離が変化した場合であっても、可撓性を有する板状部により当該変化を吸収できる。したがって、接続部材と端子とが接続された状態を維持することが可能となる。また、接続部材は接続対象の端子と溶接により固定されるので、接続部材と端子とを接続するためにコネクタ等を設ける必要がない。したがって、接続部材にコネクタ等を設ける場合に比べて接続部材を小型化することができる。また、接続部材は導電性の板状部が溶接により接続対象の端子と接続されるので、端子と電気的に接続することが可能となる。
【図面の簡単な説明】
【0010】
第1の実施形態における接続対象と接続された状態の接続部材を示す図である。
接続部材を第1方向の一方側から見た斜視図である。
接続部材を第1方向の他方側から見た斜視図である。
第2の実施形態における接続対象と接続された状態の接続部材を示す図である。
第3の実施形態における接続対象と接続された状態の接続部材を示す図である。
第3の実施形態における接続対象と接続された状態の接続部材を示す図である。
第4の実施形態における接続対象と接続された状態の接続部材を示す図である。
第5の実施形態における接続対象と接続された状態の接続部材を示す図である。
【発明を実施するための形態】
(【0011】以降は省略されています)
この特許をJ-PlatPat(特許庁公式サイト)で参照する
関連特許
他の特許を見る