TOP
|
特許
|
意匠
|
商標
特許ウォッチ
Twitter
他の特許を見る
10個以上の画像は省略されています。
公開番号
2025180337
公報種別
公開特許公報(A)
公開日
2025-12-11
出願番号
2024087602
出願日
2024-05-30
発明の名称
パーキングロック装置
出願人
株式会社アイシン
代理人
個人
,
個人
,
個人
主分類
F16H
63/34 20060101AFI20251204BHJP(機械要素または単位;機械または装置の効果的機能を生じ維持するための一般的手段)
要約
【課題】パーキングロック装置において、部品点数の低減を図りつつ、手動によりロック状態からアンロック状態に切り替える際に必要な操作力を低減する。
【解決手段】電動モータと、パーキングギヤに離脱可能な態様で係合するロック部材を含み、電動モータの出力に基づいて動作する機構とを備え、機構は、電動モータの出力に基づいてロック部材を動かすことでパーキングギヤのロック状態とアンロック状態との間で状態を切り替える第1機構部と、手動により発生する外部入力に基づいてロック部材を動かすことでパーキングギヤの状態をロック状態からアンロック状態に切り替える第2機構部とを含み、パーキングギヤのロック状態において、電動モータの出力に基づき、第1機構部に、第2機構部から電動モータを機械的に切り離す隙間が形成される、パーキングロック装置が開示される。
【選択図】図1
特許請求の範囲
【請求項1】
電動モータと、
パーキングギヤに離脱可能な態様で係合するロック部材を含み、前記電動モータの出力に基づいて動作する機構とを備え、
前記機構は、前記電動モータの出力に基づいて前記ロック部材を動かすことで前記パーキングギヤの状態をロック状態とアンロック状態との間で切り替える第1機構部と、手動により発生する外部入力に基づいて前記ロック部材を動かすことで前記パーキングギヤの状態をロック状態からアンロック状態に切り替える第2機構部とを含み、
前記パーキングギヤのロック状態において、前記電動モータの出力に基づき、前記第1機構部に、前記第2機構部から前記電動モータを機械的に切り離す隙間を形成可能である、パーキングロック装置。
続きを表示(約 660 文字)
【請求項2】
前記第1機構部は、
前記電動モータの回転出力を第1方向の直線的な動きに変換する直動機構と、
前記第1方向で前記直動機構の出力部材に対向し、前記直動機構から受ける前記第1方向の入力に基づいて、前記第1方向に直線的に動く可動部材とを含み、
前記ロック部材は、前記可動部材の前記第1方向の直線的な動きに基づいて動作し、
前記第2機構部は、前記外部入力に基づいて前記可動部材に前記第1方向の直線的な動きを生じさせ、
前記隙間は、前記第1方向での前記可動部材と前記直動機構の出力部材との間に形成される、請求項1に記載のパーキングロック装置。
【請求項3】
前記第1機構部は、前記可動部材の前記第1方向の直線的な動きに基づいて、前記第1方向に交差する第2方向の力であって、前記ロック部材に作用する力を変化させ、
前記ロック部材は、前記第2方向の力の変化に基づいて、前記パーキングギヤの状態をアンロック状態からロック状態に切り替える、請求項2に記載のパーキングロック装置。
【請求項4】
前記電動モータを制御する制御装置を更に備え、
前記制御装置は、前記パーキングギヤの状態をロック状態からアンロック状態に切り替える場合に、前記電動モータを介して前記第1方向に沿って前記直動機構の出力部材を移動させることで、前記隙間を無くならせるとともに前記可動部材に前記第1方向の入力を与える、請求項2又は3に記載のパーキングロック装置。
発明の詳細な説明
【技術分野】
【0001】
本開示は、パーキングロック装置に関する。
続きを表示(約 1,600 文字)
【背景技術】
【0002】
パーキングロック装置において、手動によりロック状態からアンロック状態に切り替える際に必要な操作力を低減するために、アクチュエータ(電動モータ)と機構部との間に設けたクラッチにより、アクチュエータと機構部との間の動力伝達を切り離す技術が知られている。
【先行技術文献】
【特許文献】
【0003】
特開2008-174188号公報
【発明の概要】
【発明が解決しようとする課題】
【0004】
しかしながら、上記のような従来技術では、クラッチを必要とするため、部品点数の増加が生じるという問題がある。
【0005】
そこで、1つの側面では、本開示は、パーキングロック装置において、部品点数の低減を図りつつ、手動によりロック状態からアンロック状態に切り替える際に必要な操作力を低減することを目的とする。
【課題を解決するための手段】
【0006】
1つの側面では、電動モータと、
パーキングギヤに離脱可能な態様で係合するロック部材を含み、前記電動モータの出力に基づいて動作する機構とを備え、
前記機構は、前記電動モータの出力に基づいて前記ロック部材を動かすことで前記パーキングギヤの状態をロック状態とアンロック状態との間で切り替える第1機構部と、手動により発生する外部入力に基づいて前記ロック部材を動かすことで前記パーキングギヤの状態をロック状態からアンロック状態に切り替える第2機構部とを含み、
前記パーキングギヤのロック状態において、前記電動モータの出力に基づき、前記第1機構部に、前記第2機構部から前記電動モータを機械的に切り離す隙間を形成可能である、パーキングロック装置が提供される。
【発明の効果】
【0007】
1つの側面では、本開示によれば、パーキングロック装置において、部品点数の低減を図りつつ、手動によりロック状態からアンロック状態に切り替える際に必要な操作力を低減することが可能となる。
【図面の簡単な説明】
【0008】
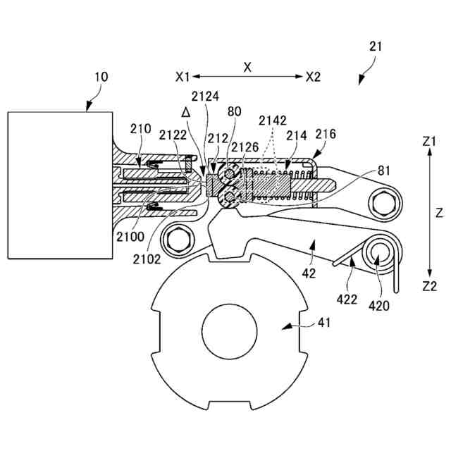
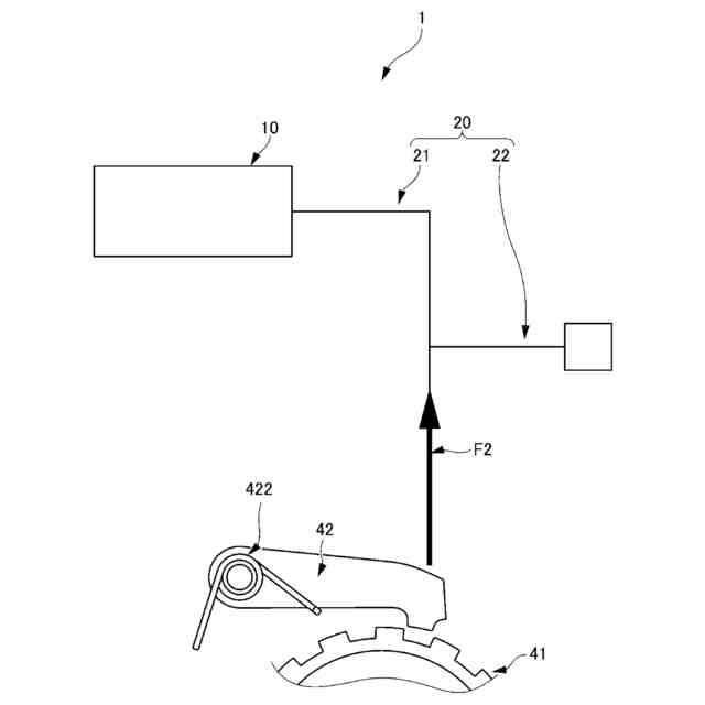
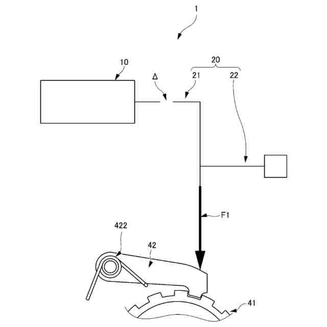
本実施例によるパーキングロック装置の要部を概略的に示す図(ロック状態)である。
本実施例によるパーキングロック装置の要部を概略的に示す図(アンロック状態)である。
実施例1による第1機構部の一例を示す図(ロック状態)である。
実施例1による第1機構部の要部を下方から視た平面図である。
実施例1による第1機構部の一例を示す図(アンロック状態)である。
パーキングロック装置の制御装置のハードウェア構成の一例を示す図である。
ロック状態からアンロック状態に遷移させる際の電動モータの好ましい駆動例(制御例)を示す説明図である。
実施例2による第1機構部の一例を示す図(ロック状態)である。
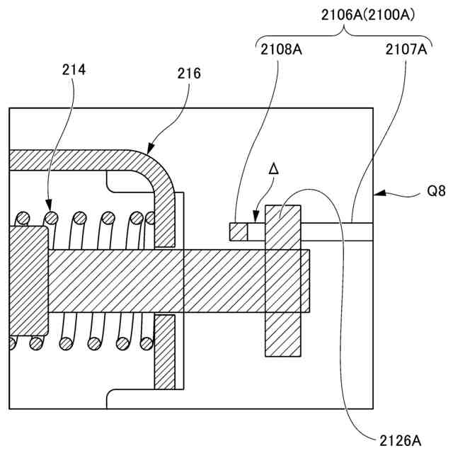
図8のQ8部の拡大図である。
実施例2による第1機構部の要部を上方から視た平面図である。
実施例3による第1機構部の一例を示す図(ロック状態)である。
実施例3による第1機構部の要部を下方から視た平面図である。
【発明を実施するための形態】
【0009】
以下、添付図面を参照しながら各実施例について詳細に説明する。なお、図面の寸法比率はあくまでも一例であり、これに限定されるものではなく、また、図面内の形状等は、説明の都合上、部分的に誇張している場合がある。また、図面では、見易さのために、複数存在する同一属性の部位には、一部のみしか参照符号が付されていない場合がある。
【0010】
以下の説明において、「接続」とは、特に言及しない限り、「機械的な接続」を意味し、動力伝達が可能な接続態様の接続を意味する。
(【0011】以降は省略されています)
この特許をJ-PlatPat(特許庁公式サイト)で参照する
関連特許
他の特許を見る