TOP
|
特許
|
意匠
|
商標
特許ウォッチ
Twitter
他の特許を見る
10個以上の画像は省略されています。
公開番号
2025180237
公報種別
公開特許公報(A)
公開日
2025-12-11
出願番号
2024087421
出願日
2024-05-29
発明の名称
蛍光浸透探傷装置
出願人
トヨタ自動車株式会社
代理人
弁理士法人YKI国際特許事務所
主分類
G01N
21/91 20060101AFI20251204BHJP(測定;試験)
要約
【課題】凹凸形状の被検査面に対して、過不足なく探傷光を照射可能な、蛍光浸透探傷装置が開示される。
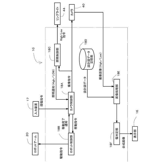
【解決手段】リングライト44(紫外線探傷灯)は、カメラ40の対物レンズ46を囲む。カメラ40は、被検査面51に対して、相対位置、相対角度、及び倍率を固定した状態で少なくとも2回、被検査面51を撮像する。リングライト44は、被検査面51に対して、相対位置及び相対角度を固定した状態で、カメラ40による1回目の撮像時と、2回目の撮像時とで、探傷光の強度を異ならせる。
【選択図】図1
特許請求の範囲
【請求項1】
蛍光浸透探傷装置であって、
凹凸形状の被検査面を撮像するカメラと、
前記カメラの対物レンズを囲む、リング型の紫外線探傷灯と、
を備え、
前記カメラは、前記被検査面に対して、相対位置、相対角度、及び倍率を固定した状態で少なくとも2回、前記被検査面を撮像し、
前記紫外線探傷灯は、前記被検査面に対して、相対位置及び相対角度を固定した状態で、前記カメラによる1回目の撮像時と、2回目の撮像時とで、探傷光の強度を異ならせる、
蛍光浸透探傷装置。
続きを表示(約 420 文字)
【請求項2】
請求項1に記載の、蛍光浸透探傷装置であって、
前記カメラの撮像画像を加工するプロセッサを備え、
前記プロセッサは、
探傷光が相対的に低強度の、低照明画像において、前記紫外線探傷灯と対向する前記被検査面の対向面領域を抽出し、
探傷光が相対的に高強度の、強照明画像において、前記対向面領域以外の画像領域を抽出する、
蛍光浸透探傷装置。
【請求項3】
請求項2に記載の、蛍光浸透探傷装置であって、
前記プロセッサは、前記被検査面の設計図データに基づいて、前記対向面領域を特定する、
蛍光浸透探傷装置。
【請求項4】
請求項2または3に記載の、蛍光浸透探傷装置であって、
前記プロセッサは、前記強照明画像から抽出された画像領域と、前記低照明画像から抽出された画像領域を合成した、合成画像を生成する、
蛍光浸透探傷装置。
発明の詳細な説明
【技術分野】
【0001】
本明細書では、蛍光浸透探傷装置が開示される。
続きを表示(約 1,300 文字)
【0002】
特許文献1、2では、外観検査装置が開示される。特許文献1では、被検査体の表面に蛍光剤が浸透される。所定時間後に被検査体の表面から蛍光剤が除去される。そして被検査体に紫外線が照射される。被検査体に傷がある場合、傷内に浸透した(つまり除去されなかった)蛍光剤が、紫外線照射によって発光する。
【先行技術文献】
【特許文献】
【0003】
特開2012-83285号公報
特開平7-113625号公報
【発明の概要】
【発明が解決しようとする課題】
【0004】
ところで、被検査面が凹凸形状である場合に、被検査面の一部が、紫外線を遮る壁になる。その結果、被検査面には影領域が生じる。影領域では蛍光発光が不十分となるおそれがある。
【0005】
その一方で、影領域まで探傷光を照射するために、探傷光の照射強度を過度に強くすると、影領域以外の部分に探傷光が過度に照射される。探傷光には可視光成分が含まれる場合がある。したがって、探傷光が過度に照射されることで、被検査面の一部にハレーションが生じるおそれがある。
【0006】
そこで本明細書では、凹凸形状の被検査面に対して、過不足なく探傷光を照射可能な、蛍光浸透探傷装置が開示される。
【課題を解決するための手段】
【0007】
本明細書では、蛍光浸透探傷装置が開示される。当該装置は、カメラ及び紫外線探傷灯を備える。カメラは、凹凸形状の被検査面を撮像する。紫外線探傷灯はリング型である。紫外線探傷灯は、カメラの対物レンズを囲む。カメラは、被検査面に対して、相対位置、相対角度、及び倍率を固定した状態で少なくとも2回、被検査面を撮像する。紫外線探傷灯は、被検査面に対して、相対位置及び相対角度を固定した状態で、カメラによる1回目の撮像時と、2回目の撮像時とで、探傷光の強度を異ならせる。
【0008】
上記構成によれば、相対的に探照灯の強度が高い、強照明画像に基づいて、ハレーションを起こしている領域以外の探傷が可能となる。また、相対的に探照灯の強度が低い低照明画像に基づいて、強照明画像ではハレーションを起こしていた領域の探傷が可能となる。
【0009】
また上記構成において、蛍光浸透探傷装置は、プロセッサを備えてよい。プロセッサは、カメラの撮像画像を加工する。プロセッサは、低照明画像において、被検査面の対向面領域を抽出する。低照明画像は、探傷光が相対的に低強度の画像を指す。また、対向面領域は、紫外線探傷灯と対向する領域を指す。さらにプロセッサは、強照明画像において、対向面領域以外の画像領域を抽出する。強照明画像は、探傷光が相対的に高強度の画像を指す。
【0010】
紫外線探照灯を高強度で照射すると、被検査面ではハレーションが生じ易くなる。上記構成によれば、強照明画像からハレーションが生じ易い対向面領域が除外できる。また、低照明画像から対向面領域の傷の有無が判定できる。
(【0011】以降は省略されています)
この特許をJ-PlatPat(特許庁公式サイト)で参照する
関連特許
他の特許を見る