TOP
|
特許
|
意匠
|
商標
特許ウォッチ
Twitter
他の特許を見る
10個以上の画像は省略されています。
公開番号
2025180133
公報種別
公開特許公報(A)
公開日
2025-12-11
出願番号
2024087268
出願日
2024-05-29
発明の名称
コンデンサ、および、コンデンサの製造方法
出願人
株式会社デンソー
代理人
個人
,
個人
主分類
H01G
2/10 20060101AFI20251204BHJP(基本的電気素子)
要約
【課題】水分(湿気)に対する優れた耐久性を有するコンデンサを提供する。
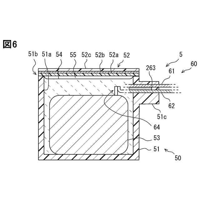
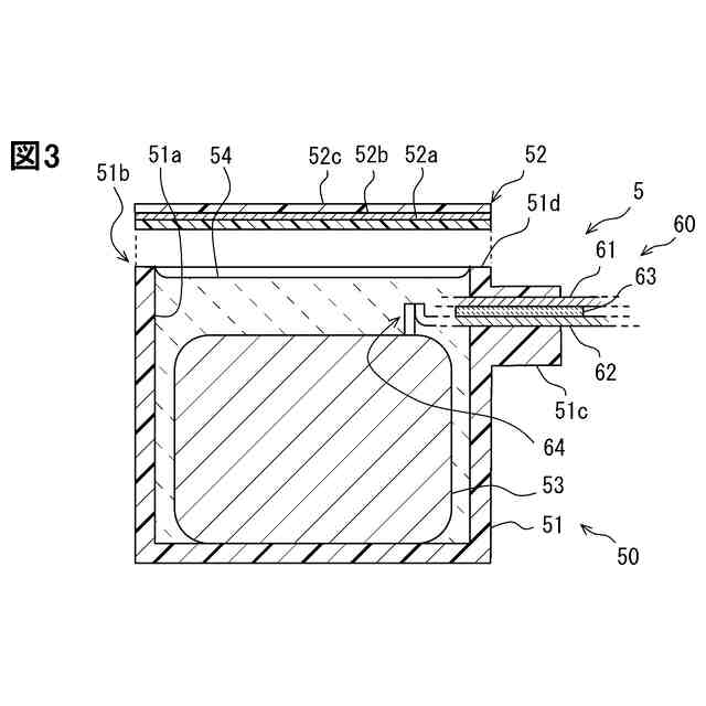
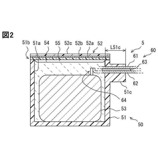
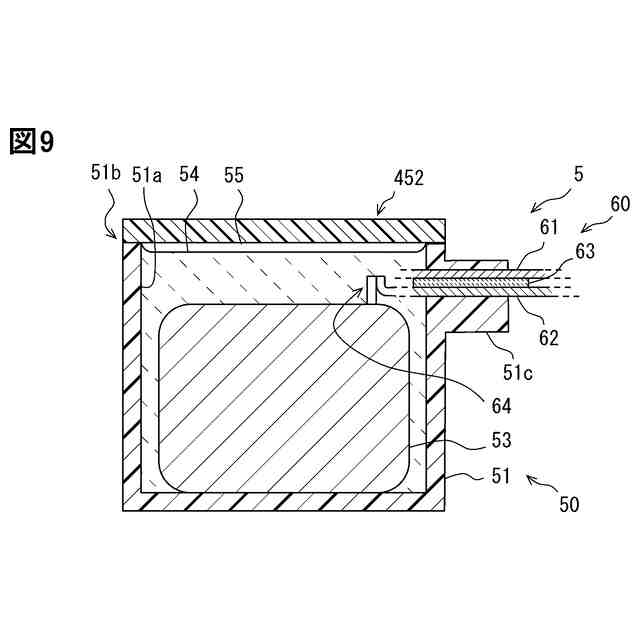
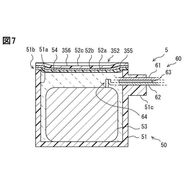
【解決手段】コンデンサ5は、ケース51と、カバー52とを有する。ケース51は、開口51bを有する内室51aを区画している。コンデンサ5は、開口51bを除くケース51の部位を経由してケース51の外部に延び出している一対の端子部材61、62を有する。コンデンサ5は、内室51aに収容されており、端子部材61、62に電気的に接続されているコンデンサ素子53を有する。カバー52は、開口51bを覆う。カバー52は、開口51bを区画するケース51の縁51dに接合されており、内室51aへの水分の侵入を阻止する。
【選択図】図2
特許請求の範囲
【請求項1】
開口(51b)を有する内室(51a)を区画するケース(51)と、
前記開口を除く前記ケースの部位を経由して前記ケースの外部に延び出している少なくとも一対の端子部材(61、62)と、
前記内室に収容されており、前記端子部材に電気的に接続されているコンデンサ素子(53)と、
前記開口を覆い、前記開口を区画する前記ケースの縁に接合されており、前記内室への水分の侵入を阻止するカバー(52)とを備えるコンデンサ。
続きを表示(約 660 文字)
【請求項2】
前記ケースの前記縁は、平面に沿って広がっている請求項1に記載のコンデンサ。
【請求項3】
前記カバーは、前記ケースに接合された部位に、前記ケースを形成する材料と同じ材料を有する請求項1に記載のコンデンサ。
【請求項4】
前記カバーは、前記ケースを形成する材料と同じ材料の層を有するラミネートフィルムである請求項3に記載のコンデンサ。
【請求項5】
さらに、前記ケースと前記コンデンサ素子との間に配置されている封止材(54)を備える請求項1に記載のコンデンサ。
【請求項6】
大気環境において前記内室は負圧である請求項1に記載のコンデンサ。
【請求項7】
前記カバーは、前記ケースの外部から、前記内室に向けて凹状に湾曲している請求項1に記載のコンデンサ。
【請求項8】
さらに、一対の前記端子部材の間に配置され、前記開口を除く前記ケースの部位を経由して一対の前記端子部材とともに前記ケースの外部に延び出している絶縁部材(63)を備える請求項1に記載のコンデンサ。
【請求項9】
前記絶縁部材の少なくとも一部が前記ケースを形成する材料と直接的に接触している請求項8に記載のコンデンサ。
【請求項10】
一対の前記端子部材の少なくとも一部が前記ケースを形成する材料と直接的に接触している請求項1から請求項9のいずれかに記載のコンデンサ。
(【請求項11】以降は省略されています)
発明の詳細な説明
【技術分野】
【0001】
この明細書における開示は、コンデンサ、および、コンデンサの製造方法に関する。
続きを表示(約 1,600 文字)
【背景技術】
【0002】
特許文献1は、コンデンサ、および、コンデンサの製造方法を開示する。特許文献1は、コンデンサを水分(湿気)から保護するために、膜の使用を提案している。先行技術文献の記載内容は、この明細書における技術的要素の説明として、参照により援用される。
【先行技術文献】
【特許文献】
【0003】
特開2024-31095号公報
【発明の概要】
【発明が解決しようとする課題】
【0004】
先行技術文献に記載されるように、コンデンサには、水分(湿気)に対する優れた耐久性が求められる。さらに、こんにちのコンデンサには、環境に対する負荷を抑制することが求められる場合がある。上述の観点において、または言及されていない他の観点において、コンデンサ、および、コンデンサの製造方法にはさらなる改良が求められている。
【0005】
開示されるひとつの目的は、水分(湿気)に対する優れた耐久性を有するコンデンサ、および、コンデンサの製造方法を提供することである。
【課題を解決するための手段】
【0006】
ここに開示されたコンデンサは、開口(51b)を有する内室(51a)を区画するケース(51)と、開口を除くケースの部位を経由してケースの外部に延び出している少なくとも一対の端子部材(61、62)と、内室に収容されており、端子部材に電気的に接続されているコンデンサ素子(53)と、開口を覆い、開口を区画するケースの縁に接合されており、内室への水分の侵入を阻止するカバー(52)とを備える。
【0007】
開示されるコンデンサによると、端子部材が、開口を除くケースの部位を経由してケースの外部に延び出している。内室は、少なくともケースと、端子部材と、カバーとによって閉じられる。開口は、開口を区画するケースの縁に接合されているカバーにより覆われている。開口を経由する内室への水分の侵入は、カバーにより阻止される。これにより、コンデンサ素子が配置された内室への水分の侵入が阻止される。この結果、水分(湿気)に対する優れた耐久性をもつコンデンサが提供される。
【0008】
ここに開示されたコンデンサの製造方法は、開口(51b)を有する内室(51a)を区画する樹脂製のケース(51)に、少なくとも一対の端子部材(61、62)を、開口を除くケースの部位を経由してケースの外部に延び出すようにインサート成形する成形ステップ(181)と、内室の内部にコンデンサ素子(53)を配置する素子配置ステップ(182)と、内室の内部においてコンデンサ素子と端子部材とを電気的に接続する接続ステップ(183)と、開口を覆うようにカバーを配置し、開口を区画するケースの縁にカバーを接合することにより、内室への水分の侵入を阻止する接合ステップ(187)とを有するコンデンサの製造方法。
【0009】
開示されるコンデンサの製造方法によると、接合ステップにおいて、ケースの開口がカバーにより覆われる。開口を経由する内室への水分の侵入は、カバーにより阻止される。これにより、コンデンサ素子が配置された内室への水分の侵入が阻止される。この結果、水分(湿気)に対する優れた耐久性をもつコンデンサの製造方法が提供される。
【0010】
この明細書において開示された複数の形態は、それぞれの目的を達成するために、互いに異なる技術的手段を採用する。請求の範囲およびこの項に記載した括弧内の符号は、後述する実施形態の部分との対応関係を例示的に示すものであって、技術的範囲を限定することを意図するものではない。この明細書に開示される目的、特徴、および効果は、後続の詳細な説明、および添付の図面を参照することによってより明確になる。
【図面の簡単な説明】
(【0011】以降は省略されています)
この特許をJ-PlatPat(特許庁公式サイト)で参照する
関連特許
他の特許を見る