TOP
|
特許
|
意匠
|
商標
特許ウォッチ
Twitter
他の特許を見る
10個以上の画像は省略されています。
公開番号
2025180024
公報種別
公開特許公報(A)
公開日
2025-12-11
出願番号
2024087071
出願日
2024-05-29
発明の名称
太陽電池モジュール及び太陽電池モジュールの製造方法
出願人
株式会社アイシン
代理人
弁理士法人R&C
主分類
H10K
30/50 20230101AFI20251204BHJP()
要約
【課題】導電経路の形成が容易であり、電気抵抗値の上昇を防止可能な太陽電池モジュール、及び太陽電池モジュールの製造方法を提供する。
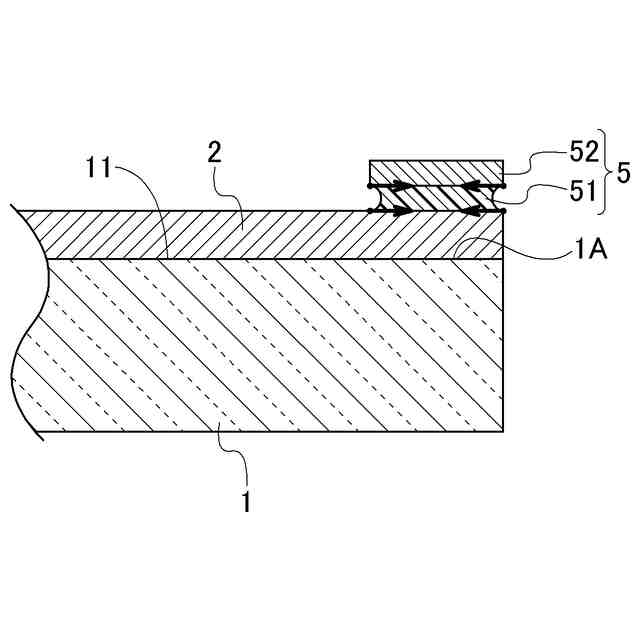
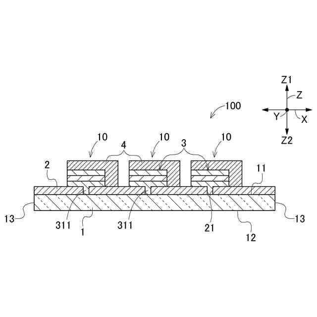
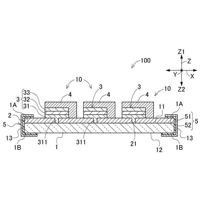
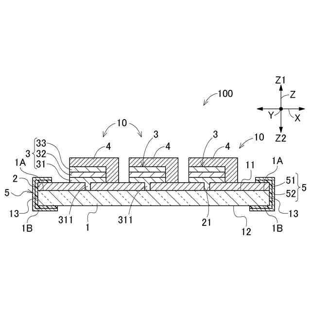
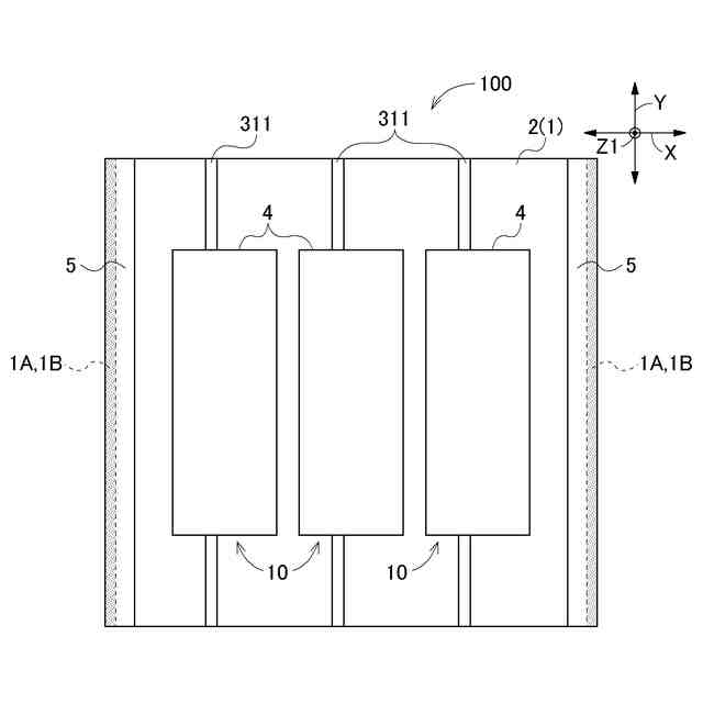
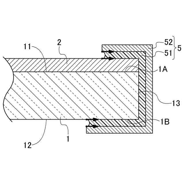
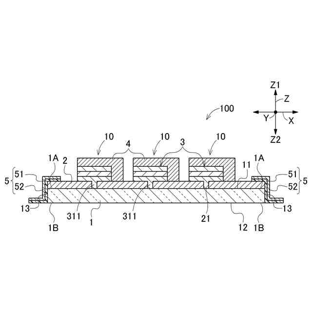
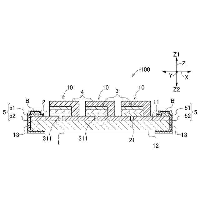
【解決手段】太陽電池モジュール100は、基板1の第一面11に配置される導電性の導電層2と、導電層2上に配置されるペロブスカイト太陽電池素子3と、ペロブスカイト太陽電池素子3上に配置される電極4と、基板1の第一面11における第一辺縁1Aにおいて導電層2と電気的に接続されるように配置され、接着性の接着部51と、導電性の導電部52と、を有する導電部材5と、を備え、導電部材5は、第一辺縁1Aと、基板1の第一辺縁1Aに沿った外端縁とを連続して覆っている。
【選択図】図1
特許請求の範囲
【請求項1】
基板の第一面に配置される導電性の導電層と、
前記導電層上に配置されるペロブスカイト太陽電池素子と、
前記ペロブスカイト太陽電池素子上に配置される電極と、
前記基板の前記第一面における第一辺縁において前記導電層と電気的に接続されるように配置され、接着性の接着部と、導電性の導電部と、を有する導電部材と、を備え、
前記導電部材は、前記第一辺縁と、前記基板の前記第一辺縁に沿った外端縁とを連続して覆っている太陽電池モジュール。
続きを表示(約 430 文字)
【請求項2】
前記導電部材は、前記基板の前記第一面とは反対側の第二面における第二辺縁と、前記基板の前記第一辺縁及び前記第二辺縁に沿った外端面と、を連続して覆っている請求項1に記載の太陽電池モジュール。
【請求項3】
前記第二辺縁を覆う前記導電部材の寸法は、前記第一辺縁を覆う前記導電部材の寸法よりも大きい請求項2に記載の太陽電池モジュール。
【請求項4】
導電性の導電層と、ペロブスカイト太陽電池素子と、電極と、をこの順に基板の第一面に配置して太陽電池セルを形成する第一工程と、
接着性の接着部と、導電性の導電部と、を有する導電部材を前記基板又は前記導電層上に配置する第二工程と、を含み、
前記第二工程は、前記基板の外端面と前記接着部とを接着した後に、
前記基板の前記第一面における第一辺縁及び前記第一面とは反対側の第二面における第二辺縁と前記接着部とを接着する太陽電池モジュールの製造方法。
発明の詳細な説明
【技術分野】
【0001】
本発明は、太陽電池モジュール及び太陽電池モジュールの製造方法に関する。
続きを表示(約 1,900 文字)
【背景技術】
【0002】
従来、複数の太陽電池モジュールを接続する場合や、太陽電池モジュールと外部機器とを接続する場合に、太陽電池モジュールの導電層上に導電経路を設けることが知られている(例えば、特許文献1参照)。
【0003】
特許文献1には、導電経路としてのバスバーが導電層上に配置された太陽電池モジュールが開示されている。バスバーは太陽電池モジュールによって発電された電力を集電する。
【先行技術文献】
【特許文献】
【0004】
特開2013-222803号公報
【発明の概要】
【発明が解決しようとする課題】
【0005】
特許文献1に記載のバスバーは接着剤等によって導電層上に接着されるため、太陽電池モジュールの製造においてはバスバーの接着工程を要していた。そこで、バスバーに代えて、接着性を有する接着部及び導電性を有する導電部を含む導電部材を導電層上に配置することにより、太陽電池モジュールの構成及び製造工程を簡略化することが考えられた。一方で、導電部材の接着部は、導電部及び導電層と比較すると線膨張係数が10倍以上も大きい。このため、太陽電池モジュールに熱サイクルが与えられると導電部材の接着部が大きく収縮し、接着部から導電層及び導電部に応力が作用することにより導電部材が導電層から剥離して太陽電池モジュールの電気抵抗値が上昇してしまうといった課題があった。
【0006】
本発明は、上記の課題に鑑みてなされたものであり、その目的は、導電経路の形成が容易であり、電気抵抗値の上昇を防止可能な太陽電池モジュール及び太陽電池モジュールの製造方法を提供することにある。
【課題を解決するための手段】
【0007】
本発明に係る太陽電池モジュールの特徴構成は、基板の第一面に配置される導電性の導電層と、前記導電層上に配置されるペロブスカイト太陽電池素子と、前記太陽電池素子上に配置される電極と、前記基板の前記第一面における第一辺縁において前記導電層と電気的に接続されるように配置され、接着性の接着部と、導電性の導電部と、を有する導電部材と、を備え、前記導電部材は、前記第一辺縁と、前記基板の前記第一辺縁に沿った外端縁とを連続して覆っている点にある。
【0008】
本構成によれば、導電部材の接着部が導電層の第一辺縁と接着することにより、導電層上に配置された導電部がペロブスカイト太陽電池素子により発電された電力を集電し、導電部材が導電経路として作用する。このため、導電経路としてのバスバーを接着剤等により導電層上に配置する構成と比較すると、導電経路を容易に形成することができる。また、導電部材は、第一辺縁と、基板の第一辺縁に沿った外端縁とを連続して覆っているため、太陽電池モジュールに熱サイクルが与えられて導電部材の接着部が収縮し導電部材の端部が導電層から剥離したとしても、第一辺縁の外端縁側においては導電層と導電部材との接触が維持される。これにより、熱サイクルによる接着部の収縮に伴う導電層と導電部材との接触面積の低下が抑制され、太陽電池モジュールの電気抵抗値の上昇を防止可能である。
【0009】
本発明に係る太陽電池モジュールの製造方法の特徴構成は、導電性の導電層と、ペロブスカイト太陽電池素子と、電極と、をこの順に基板の第一面に配置して太陽電池セルを形成する第一工程と、接着性の接着部と、導電性の導電部と、を有する導電部材を前記基板又は前記導電層上に配置する第二工程と、を含み、前記第二工程は、前記基板の外端面と前記接着部とを接着した後に、前記基板の前記第一面における第一辺縁及び前記第一面とは反対側の第二面における第二辺縁と前記接着部とを接着する点にある。
【0010】
本構成によれば、接着性の接着部と導電性の導電部とを有する導電部材を基板又は導電層上に配置することにより、導電経路を容易に形成することができる。また、導電部材の接着部と基板の外端面とを接着した後に、第一辺縁及び第二辺縁と接着部とを接着することにより、導電部材を基板の外端面に沿って配置できるので、導電部材と基板との間に空隙等が生じることを抑制可能である。このため、熱サイクルにより接着部の収縮が生じたとしても、第一辺縁の外端縁側における導電層と導電部材との接触を維持することができるので、接着部と導電層との接触面積の低下を抑制し、太陽電池モジュールの電気抵抗値の上昇を防止可能である。
【図面の簡単な説明】
(【0011】以降は省略されています)
この特許をJ-PlatPat(特許庁公式サイト)で参照する
関連特許
他の特許を見る