TOP
|
特許
|
意匠
|
商標
特許ウォッチ
Twitter
他の特許を見る
10個以上の画像は省略されています。
公開番号
2025180023
公報種別
公開特許公報(A)
公開日
2025-12-11
出願番号
2024087070
出願日
2024-05-29
発明の名称
太陽電池パネル
出願人
株式会社アイシン
代理人
弁理士法人R&C
主分類
H10K
39/10 20230101AFI20251204BHJP()
要約
【課題】複数の太陽電池モジュールの電気的な接続を簡易な構成で実現可能な太陽電池パネルを提供する。
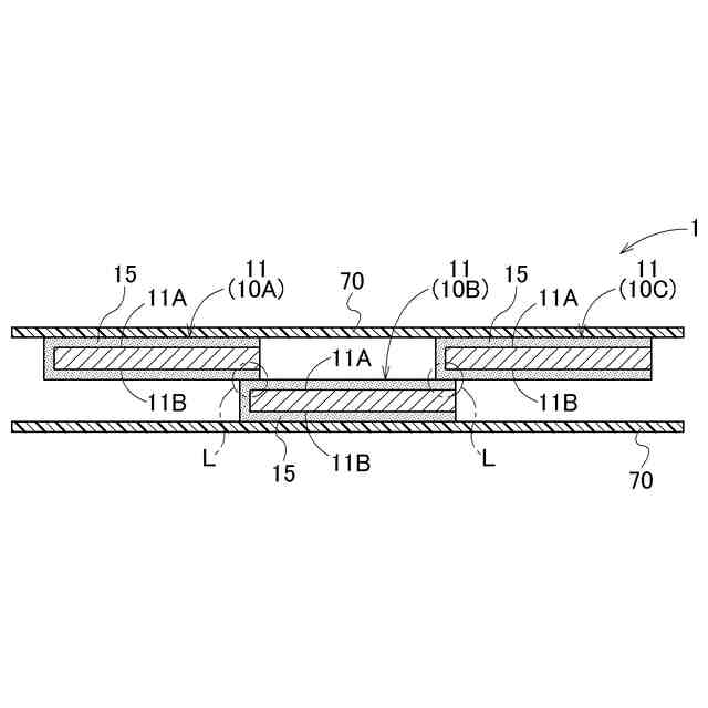
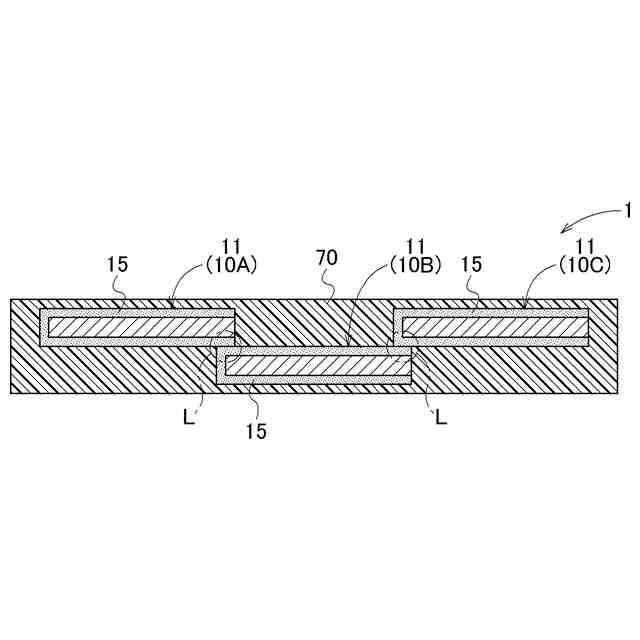
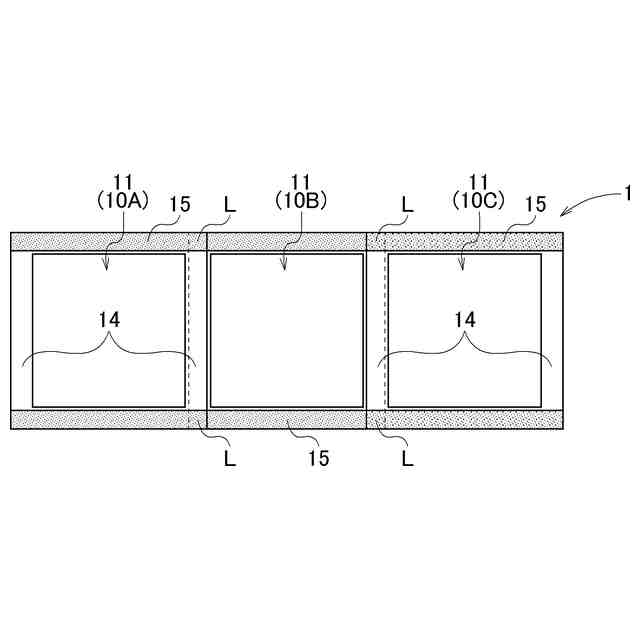
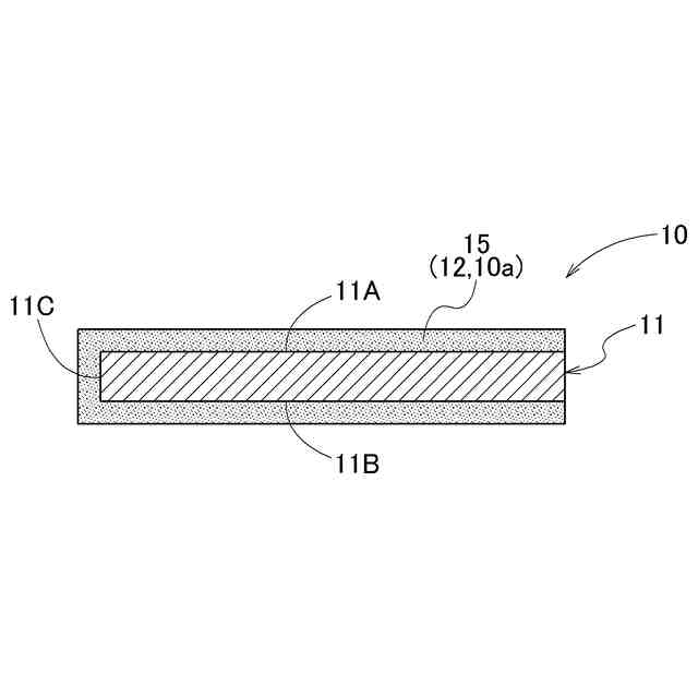
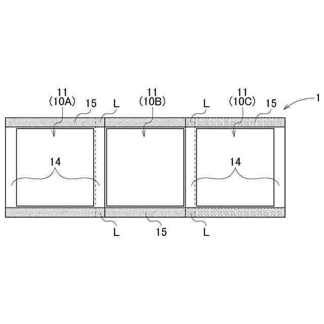
【解決手段】太陽電池パネル1は、複数の太陽電池モジュール10A,10B,10Cが電気的に接続されて構成された太陽電池パネル1であって、複数の太陽電池モジュール10A,10B,10Cの夫々は、端部に設けられた電極部分に積層されて電気的に接続される導電部材15を有し、複数の太陽電池モジュール10A,10B,10Cは、隣接する太陽電池モジュール10A,10B,10Cとの間で導電部材15,15同士が接触するように配置されて電気的に接続されている。
【選択図】図6
特許請求の範囲
【請求項1】
複数の太陽電池モジュールが電気的に接続されて構成された太陽電池パネルであって、
複数の前記太陽電池モジュールの夫々は、端部に設けられる電極部分に積層されて電気的に接続される導電部材を有し、
複数の前記太陽電池モジュールは、前記導電部材同士が接触するように配置されて電気的に接続されている、太陽電池パネル。
続きを表示(約 280 文字)
【請求項2】
複数の前記太陽電池モジュールは、平面視において前記導電部材同士が重なるように配置されて電気的に接続されている、請求項1に記載の太陽電池パネル。
【請求項3】
複数の前記太陽電池モジュールのうち少なくとも一つは、前記導電部材が隣接する前記太陽電池モジュールの対向面のみに積層されている、請求項2に記載の太陽電池パネル。
【請求項4】
複数の前記太陽電池モジュールは、平面視において前記導電部材が前記太陽電池モジュールが有する発電部以外の領域に積層されている、請求項1~3のいずれか一項に記載の太陽電池パネル。
発明の詳細な説明
【技術分野】
【0001】
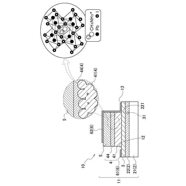
本発明は、太陽電池パネルに関する。
続きを表示(約 1,500 文字)
【背景技術】
【0002】
通常、太陽電池パネルは、複数の太陽電池モジュールが導電性部材を介して連結された状態で構成されている。例えば特許文献1に記載の技術では、複数の太陽モジュールを平面視において重ならない様に並べ、隣接する太陽電池モジュールに導電性部材である配線材を連続的に配置して接続している。
【0003】
特許文献2には、他の太陽電池パネルの製造方法が開示されている。特許文献2に記載の技術では、太陽電池モジュールの製造時に太陽電池モジュールの端部に集電電極を設置し、隣接する太陽電池モジュールの端部同士をオーバーラップ(シングリンク)させて接続している。
【先行技術文献】
【特許文献】
【0004】
特開2020-61551号公報
特開2021-166264号公報
【発明の概要】
【発明が解決しようとする課題】
【0005】
特許文献1に記載の太陽電池パネルのように、複数の太陽電池モジュール重ならないように並べて配線材で連結する場合には、隣接する太陽電池モジュールの位置決め、接続する配線材の位置決め、及び接着等の工程が必要になる。また、導電性部材がバスバーである場合には、太陽電池モジュールとバスバーとを複数箇所で融着させる工程が必要であり、いずれも組立工数が多くなる傾向にある。
【0006】
一方、特許文献2に記載の太陽電池パネルでは、隣接する太陽電池モジュールの端部を互いに重ね合わせて電気的に接続するために、太陽電池モジュールに当該接続のための集電電極やそれに付随する支持部品等を設ける必要がある。したがって、特許文献2に記載の技術では、複数の太陽電池モジュールを連結するための工程に加えて、太陽電池モジュールに集電電極等の追加部品が必要となる。
【0007】
そこで、複数の太陽電池モジュールの電気的な接続を簡易な構成で実現可能な太陽電池パネルが望まれている。
【課題を解決するための手段】
【0008】
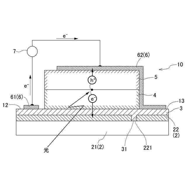
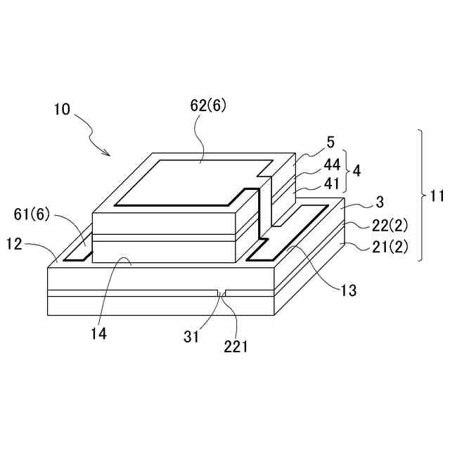
本発明に係る太陽電池パネルの特徴構成は、複数の太陽電池モジュールが電気的に接続されて構成された太陽電池パネルであって、複数の前記太陽電池モジュールの夫々は、端部に設けられる電極部分に積層されて電気的に接続される導電部材を有し、複数の前記太陽電池モジュールは、隣接する前記太陽電池モジュールとの間で前記導電部材同士が接触するように配置されて電気的に接続されている点にある。
【0009】
本構成によれば、太陽電池パネルにおいて、複数の太陽電池モジュールは、夫々の端部の電極部分に積層された導電部材同士が接触することで複数の太陽電池モジュール間の導通が確保される。したがって、太陽電池パネルは、製造するうえで太陽電池モジュールに集電電極やそれに付随する支持部品を組み付ける工数を削減できる。また、本構成の太陽電池パネルでは、導電部材以外に新たな部材を追加することがない。また、複数の太陽電池モジュール間の電気的な接続の保持については、例えば導電部材の周囲にラミネーション加工を施すことで容易に確保できる。その結果、太陽電池パネルは、複数の太陽電池モジュールを電気的に接続させる組立工数を削減して簡易に製造できる。
【0010】
このように、本発明に係る太陽電池パネルは、複数の太陽電池モジュールの電気的な接続を簡易な構成で実現できる。
【図面の簡単な説明】
(【0011】以降は省略されています)
この特許をJ-PlatPat(特許庁公式サイト)で参照する
関連特許
他の特許を見る