TOP
|
特許
|
意匠
|
商標
特許ウォッチ
Twitter
他の特許を見る
公開番号
2025179896
公報種別
公開特許公報(A)
公開日
2025-12-11
出願番号
2024086809
出願日
2024-05-29
発明の名称
補修方法
出願人
三菱重工業株式会社
代理人
SSIP弁理士法人
主分類
B23K
26/342 20140101AFI20251204BHJP(工作機械;他に分類されない金属加工)
要約
【課題】補修時に補修対象物に対する溶接入熱を抑制することにより、被補修部周囲における変形や溶接材料に対する母材の希釈を抑制する。
【解決手段】本開示は、補修対象物を構成する母材上にある被補修部を補修するための補修方法に関する。本方法では、高窒素ステンレス鋼、又は、Ni基合金等の少なくとも一方を含む高耐食性材料を溶接材料として、指向性エネルギ堆積法を用いて、前記被補修部に耐食層を形成する。
【選択図】図3
特許請求の範囲
【請求項1】
補修対象物を構成する母材上にある被補修部を補修するための補修方法であって、
高窒素ステンレス鋼、又は、Ni基合金の少なくとも一方を含む高耐食性材料を溶接材料として、指向性エネルギ堆積法を用いて、前記被補修部に耐食層を形成する、補修方法。
続きを表示(約 840 文字)
【請求項2】
前記補修対象物は、回転軸に連結された羽根車を回転させることにより、流体を圧送可能なポンプ装置において、前記流体から隔離された範囲に設けられた構成部材である、請求項1に記載の補修方法。
【請求項3】
前記羽根車は、
前記流体から隔離された内部空間を有する本体と、
前記本体上に設けられ、前記流体に曝されるランナベーンと、
前記内部空間に配置され、前記ランナベーンを前記本体に対して回転可能に前記ランナベーンの軸根元部を支持する回転支持部と、
前記内部空間を前記流体から隔離するために、前記内部空間において前記軸根元部を囲むように設けられたシール部材と、
を備え、
前記補修対象物は、前記回転支持部のうち前記シール部材に対向する面を含む、請求項2に記載の補修方法。
【請求項4】
前記溶接材料は、前記高耐食性材料を含む粉末材である、請求項1又は2に記載の補修方法。
【請求項5】
前記溶接材料は、前記高耐食性材料を含むホットワイヤである、請求項1又は2に記載の補修方法。
【請求項6】
前記被補修部に前記指向性エネルギ堆積法を適用する際に、前記被補修部にシールドガスを供給する、請求項1又は2に記載の補修方法。
【請求項7】
前記高耐食性材料は前記高窒素ステンレス鋼であり、
前記シールドガスは窒素ガスである、請求項6に記載の補修方法。
【請求項8】
前記高窒素ステンレス鋼は、スーパー二相ステンレス鋼である、請求項1又は2に記載の補修方法。
【請求項9】
前記指向性エネルギ堆積法は、レーザ溶接法である、請求項1又は2に記載の補修方法。
【請求項10】
前記補修対象物の形状に応じて、溶接熱源を傾斜させた状態で前記指向性エネルギ堆積法を適用する、請求項1又は2に記載の補修方法。
発明の詳細な説明
【技術分野】
【0001】
本開示は、補修方法に関する。
続きを表示(約 1,300 文字)
【背景技術】
【0002】
例えば海水を取り扱う海水ポンプでは、主に金属材料を含む 構成部材の耐食性や耐久性を向上するために、基材表面にコーティングが施工されることがある。コーティングの施工は、基材表面に対して、塗布、溶射、PVD(Physical Vapor Deposition)、CVD(Chemical Vapor Deposition)等の手法によって行われる。例えば特許文献1では、海水ポンプにおいて回転軸の外周面に固定される軸スリーブのうち回転軸側に面する基材表面に対してコーティングを形成することで腐食を防止可能な構成が提案されている。
【先行技術文献】
【特許文献】
【0003】
特開2018-105340号公報
【発明の概要】
【発明が解決しようとする課題】
【0004】
前述のような基材表面にコーティングが形成された構成では、コーティングと基材の境界部を起点として基材に隙間腐食が進行するおそれがある。そのため、コーティングの不良箇所や損傷箇所を被補修部として、肉盛溶接によって耐食層を形成する補修処理を実施することが求められる。
【0005】
このような溶接作業を伴う補修処理において、補修対象物を補修する際に生じる溶接入熱が大きいと、補修対象物の被補修部周囲における変形や溶接材料に対する母材の希釈が大きくなり、溶接材料の特性が得られないおそれがある。
【0006】
本開示の少なくとも一実施形態は上述の事情に鑑みなされたものであり、補修時に補修対象物に対する溶接入熱を抑制することにより、補修対象物の被補修部周囲における変形や溶接材料に対する母材の希釈を抑制可能な補修方法を提供することを目的とする。
【課題を解決するための手段】
【0007】
本開示の少なくとも一実施形態に係る補修方法は、上記課題を解決するために、
補修対象物を構成する母材上にある被補修部を補修するための補修方法であって、
高窒素ステンレス鋼、又は、Ni基合金等の少なくとも一方を含む高耐食性材料を溶接材料として、指向性エネルギ堆積法を用いて、前記被補修部に耐食層を形成する。
【発明の効果】
【0008】
本開示の少なくとも一実施形態によれば、補修時に補修対象物に対する溶接入熱を抑制することにより、被補修部の周囲における変形や溶接材料に対する母材の希釈を抑制可能な補修方法を提供できる。
【図面の簡単な説明】
【0009】
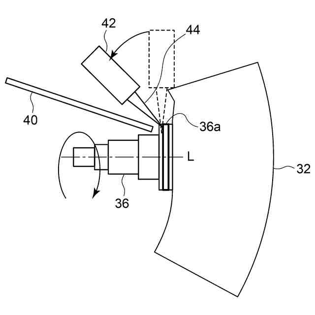
一実施形態に係るポンプ装置の概略構成図である。
図1のA領域の部分拡大図である。
一実施形態に係る補修方法を示すフローチャートである。
図3の補修方法によって被補修部を溶接する様子を示す模式図である。
【発明を実施するための形態】
【0010】
以下、添付図面を参照して本発明の幾つかの実施形態について説明する。ただし、実施形態として記載されている又は図面に示されている構成は、本発明の範囲をこれに限定する趣旨ではなく、単なる説明例にすぎない。
(【0011】以降は省略されています)
この特許をJ-PlatPat(特許庁公式サイト)で参照する
関連特許
他の特許を見る