TOP
|
特許
|
意匠
|
商標
特許ウォッチ
Twitter
他の特許を見る
公開番号
2025179893
公報種別
公開特許公報(A)
公開日
2025-12-11
出願番号
2024086803
出願日
2024-05-29
発明の名称
キャップ付き容器
出願人
株式会社吉野工業所
代理人
個人
主分類
B65D
43/02 20060101AFI20251204BHJP(運搬;包装;貯蔵;薄板状または線条材料の取扱い)
要約
【課題】キャップの高さを抑えることが可能であって、密閉機能を維持しつつ見栄えを損なうこともないキャップ付き容器を提案する。
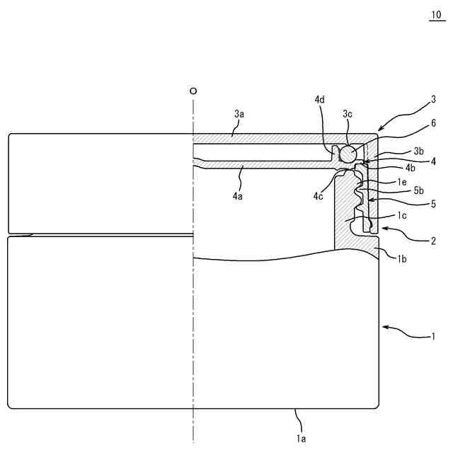
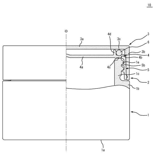
【解決手段】キャップ付き容器10は、容器本体1とキャップ2とを備え、キャップ2は、頂壁3aにつながる周壁3bを有しキャップ2の外殻をなす外キャップ3と、外キャップ3の内側に移動可能に配置され口部1cを覆う天壁4aを有するパッキン4と、口部1cに設けた本体側装着部1eに装着されるキャップ側装着部5bを有し周壁3bに回転不能且つ脱落不能に保持されるとともにパッキン4を下方から支持する内キャップ5と、頂壁3aと天壁4aとの間に位置し頂壁3aに向けて近づく天壁4aに対して弾性力を付与する弾性体6と、を備える。
【選択図】図1
特許請求の範囲
【請求項1】
上部を開放した口部を有する容器本体と、該口部に装着されるキャップとを備えるキャップ付き容器であって、
前記キャップは、
頂壁、及び該頂壁につながる周壁を有し、前記キャップの外殻をなす外キャップと、
前記外キャップの内側に移動可能に配置され、前記口部を覆う天壁を有するパッキンと、
前記口部に設けた本体側装着部に装着されるキャップ側装着部を有し、前記周壁に回転不能且つ脱落不能に保持されるとともに前記パッキンを下方から支持する内キャップと、
前記頂壁と前記天壁との間に位置し、該頂壁に向けて近づく該天壁に対して弾性力を付与する弾性体と、を備えるキャップ付き容器。
続きを表示(約 170 文字)
【請求項2】
前記天壁は、前記頂壁に向けて突出し、該天壁が該頂壁に近づく際に該頂壁に接触する移動規制部を有する、請求項1に記載のキャップ付き容器。
【請求項3】
前記頂壁は、前記弾性体に向けて突出し、前記キャップを前記容器本体に装着する前において前記弾性体に接触する突起部を有する、請求項1に記載のキャップ付き容器。
発明の詳細な説明
【技術分野】
【0001】
本発明は、キャップ付き容器に関する。
続きを表示(約 1,800 文字)
【背景技術】
【0002】
従来、容器本体の口部にキャップを装着して口部を閉鎖するキャップ付き容器が知られている。
【0003】
このようなキャップ付き容器は、キャップを装着した際に容器本体の内部が密閉される密閉機能を有している。密閉機能を実現するには、例えばキャップの内側に弾性を有するシートを設けることが挙げられる。すなわち、キャップを容器本体に装着した際、このシートが潰れるように弾性変形して口部に密着することによって容器本体の内部を密着することができる。
【0004】
またこのような密閉機能を別の構成で実現したものとして、特許文献1に示されたキャップ付き容器も知られている。このキャップ付き容器は、外キャップ(外装体)、内キャップ(蓋本体)、パッキン、弾性体(Oリング)で構成されたキャップを備えていて、容器本体の雄ねじにキャップの雌ねじを螺合させることによってキャップを容器本体に装着している。このキャップ付き容器は、同文献の図2に示されているように、平面視において円の両側を直線状に切り欠いた形状をなしているため、容器本体に対してキャップを装着した際、見栄えの点で両者の位置を揃える必要がある。このためこのキャップ付き容器は、キャップを容器本体に装着する際、雄ねじと雌ねじとの締め付けが終了する直前での所定の位置でキャップが回り止めされるように構成している。
【0005】
ところで上述したシートは、例えば強い力を長期間加えておくと潰れた状態から十分に復元しないことがある。従って、容器本体に対してキャップが所定の位置で回り止めされるものにこの種のシートを使用すると、回り止めされた位置において容器本体とキャップでシートを十分に挟持することができず、意図した密閉機能が得られないおそれがある。一方、外キャップ、内キャップ、パッキン、弾性体でキャップを構成する場合は、容器本体に対してキャップを所定の位置で回り止めする場合にも、密閉機能を維持することができる。
【先行技術文献】
【特許文献】
【0006】
特許第5295897号公報
【発明の概要】
【発明が解決しようとする課題】
【0007】
一方、特許文献1のキャップは、高さ(上下方向の長さ)が大きくなりがちである。すなわちこのキャップは、同文献の図1に示されているように高さ方向において、外キャップ(外装体)、内キャップ(蓋本体)、弾性体(Oリング)、パッキンの4階層で構成されているため、キャップの高さはその分嵩むことになる。ここでキャップの高さを抑えるべく、外キャップの内側にパッキン等を保持するリブ等を設けることによって内キャップを省略して階層を減らす場合には、リブ等を設けたことによって外キャップにヒケ等が生じて外観に影響を及ぼすおそれがある。
【0008】
このような点に鑑み、本発明は、キャップの高さを抑えることが可能であって、密閉機能を維持しつつ見栄えを損なうこともないキャップ付き容器を提案することを目的とする。
【課題を解決するための手段】
【0009】
本発明のキャップ付き容器は、上部を開放した口部を有する容器本体と、該口部に装着されるキャップとを備え、前記キャップは、頂壁、及び該頂壁につながる周壁を有し、前記キャップの外殻をなす外キャップと、前記外キャップの内側に移動可能に配置され、前記口部を覆う天壁を有するパッキンと、前記口部に設けた本体側装着部に装着されるキャップ側装着部を有し、前記周壁に回転不能且つ脱落不能に保持されるとともに前記パッキンを下方から支持する内キャップと、前記頂壁と前記天壁との間に位置し、該頂壁に向けて近づく該天壁に対して弾性力を付与する弾性体と、を備える。
【発明の効果】
【0010】
本発明のキャップ付き容器によれば、キャップの高さ方向の階層は外キャップ、弾性体、パッキンの3階層になるため、従前に比して高さを抑えることが可能である。また密閉機能を維持することができるうえ、見栄えを損なうこともない。
【図面の簡単な説明】
(【0011】以降は省略されています)
この特許をJ-PlatPat(特許庁公式サイト)で参照する
関連特許
他の特許を見る