TOP
|
特許
|
意匠
|
商標
特許ウォッチ
Twitter
他の特許を見る
公開番号
2025179832
公報種別
公開特許公報(A)
公開日
2025-12-10
出願番号
2025088079
出願日
2025-05-27
発明の名称
側面入口付き触媒冷却器の触媒入口領域に設置されたバッフルプレート
出願人
ペトロレオ ブラジレイロ ソシエダ アノニマ - ペトロブラス
代理人
個人
,
個人
,
個人
主分類
B01J
8/24 20060101AFI20251203BHJP(物理的または化学的方法または装置一般)
要約
【課題】触媒入口に近いビームの管の列の浸食を防止するバッフルプレートを提供する。
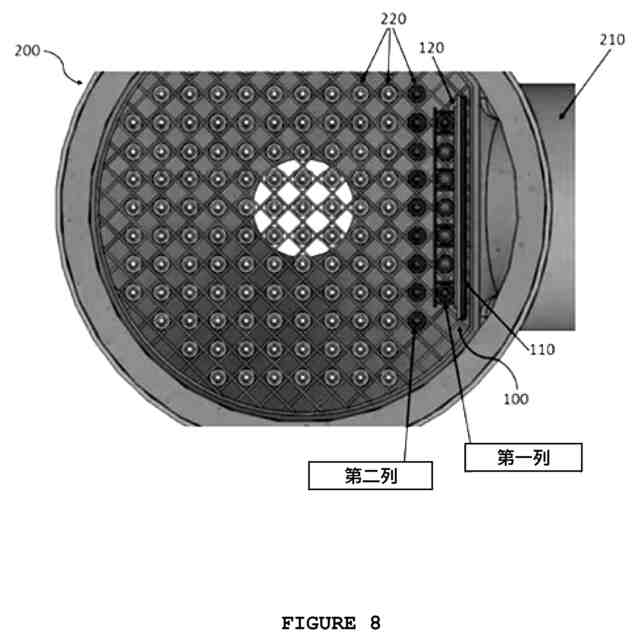
【解決手段】バッフルプレートは、側面入口付き触媒冷却器200の触媒入口領域に設置されるバッフルプレート100であって、触媒冷却器200の触媒入口領域に最も近いビーム220の第一列の管の前に固定され、入口ノズル210の上部セクションを通って触媒冷却器200のシェルに入る触媒流によって巻き込まれたガスを偏向させ、ガスをバッフルプレート100と触媒冷却器200のシェルとの間を通過させて、触媒床240の頂部241の上方領域にあるシェルの希釈相230に導くように位置決めされる。
【選択図】図7
特許請求の範囲
【請求項1】
側面入口付き触媒冷却器(200)の触媒入口領域に設置されたバッフルプレート(100)であって、前記バッフルプレート(100)が、
前記触媒冷却器(200)の前記触媒入口領域に最も近いビーム(220)の第一列の管の前に固定され、
入口ノズル(210)の上部セクションを通って前記触媒冷却器(200)のシェルに入る触媒流によって巻き込まれたガスを偏向させ、前記ガスを前記バッフルプレート(100)と前記触媒冷却器(200)の前記シェルとの間を通過させて、触媒床(240)の頂部(241)の上方領域にある前記シェルの希釈相(230)に導くように位置決めされる、バッフルプレート(100)。
続きを表示(約 1,000 文字)
【請求項2】
前記入口ノズル(210)内に収集された前記ガスの解放が、前記触媒冷却器の希釈相(230)内で、前記触媒床(240)の頂部(241)から十分に離れた地点で、好ましくはベント(250)の高さより低い地点で生じるのに十分な全高を備えることを特徴とする、請求項1に記載のバッフルプレート(100)。
【請求項3】
前記触媒入口ノズル(210)の通路面積の減少は、30%を超えないことを特徴とする、請求項1記載のバッフルプレート(100)。
【請求項4】
前記入口ノズル(210)への前記バッフルプレート(100)の挿入は、前記触媒冷却器(200)の前記シェルに隣接するノズルによって形成される楕円の全高の20%~40%であることを特徴とする、請求項1に記載のバッフルプレート(100)。
【請求項5】
前記バッフルプレート(100)は、支持グリッド(120)によってビーム(220)の第一列の管に固定され、前記支持グリッド(120)は、前記管に直接溶接された止め具の設置によって前記管上に支持されることを特徴とする、請求項1に記載のバッフルプレート(100)。
【請求項6】
巻き込まれた前記ガスは、再生器から来る気泡を含み、前記気泡は、触媒流れ自体によって前記触媒冷却器(200)の前記シェルの内部に引き込まれることを特徴とする、請求項1に記載のバッフルプレート(100)。
【請求項7】
前記触媒床(240)の頂部(241)のガス噴出に面する前記バッフルプレート(100)の面は、少なくとも1インチ(25.4mm)の耐浸食性耐火物(110)の層で保護されることを特徴とする、請求項1に記載のバッフルプレート(100)。
【請求項8】
前記バッフルプレート(100)の各側面に沿ってガスの出口のための開放通路をさら備え、側面の通路は、それぞれが前記バッフルプレート(100)と前記触媒冷却器(200)の前記シェルとの間に存在する断面通路面積の50%~150%の通路面積を有するように設計されることを特徴とする、請求項1に記載のバッフルプレート(100)。
【請求項9】
前記触媒冷却器(200)の前記シェルまで延在する前記バッフルプレート(100)をさらに備えることを特徴とする、請求項1に記載のバッフルプレート(100)。
発明の詳細な説明
【技術分野】
【0001】
本発明は、流動接触分解(FCC)技術の技術分野に関する。より具体的には、本発明は、残留流動接触分解(RFCC)ユニットにおける触媒冷却器の作動時間及び信頼性を向上させるための手段に関する。
続きを表示(約 1,900 文字)
【背景技術】
【0002】
RFCCユニットで残留渣を処理すると、コークス収率が非常に高くなる。流動接触分解(FCC)ユニットは、4~6%w/wのコークス収率を有するが、RFCCユニットは、8~12%w/wという高い値を達成することができる。
【0003】
RFCCユニットではコークスの量が多いため、再生器でのエネルギー放出が高くなり、コンバータのエネルギー需要をはるかに上回る。この過剰なエネルギーに対処するために、RFCCには、いわゆる「触媒冷却器」が設置され、これは、床を冷却するように設計された機器である。これがなければ、残渣含有率の高い処理の負荷は、不可能である。
【0004】
触媒冷却器は、熱い触媒床から、水を満たしたビーム(feixe com agua)を通して熱を除去する。これは、熱交換器と似ている。ビームの内部を通過する水の自然循環又は強制循環によって、触媒から余分な熱が除去され、その熱は、より低い温度で再生器に戻される。水に吸収されたエネルギーは、高圧飽和蒸気を発生させ、この高圧飽和蒸気は、RFCCユニット自体によって、及び/又は精製所内の他のユニットによって使用される。触媒冷却器によって除去される熱量は、出口にあるバルブによって制御され、触媒の循環、ひいては機器の熱負荷が調整される。
【0005】
FCC触媒は極めて研磨性が高いので、ビームの浸食と、それに伴って管に穴ができることは、このタイプの機器の設計者にとって常に懸念事項である。図1、図2及び図3は、それぞれ異なる設計者KBR、UOP及びStone & Websterからの触媒冷却器の典型的な概略図を示す。
【0006】
KBR設計は、図1に示すように、単一のビームで設計され、よりシンプルでより低コストの代替案を目的とした。この設計の欠点は、管が穿刺された場合、触媒冷却器が完全に失われることである。KBRは、シェル内の触媒入口に近接しているため、通常は最も浸食を受けやすい第一列と第二列の管に硬質コーティングを施すことによって、この問題を解決しようとしている。高耐浸食性のコーティングを適用すると、管の寿命は延びるが、工業的実践は、これらのコーティングの耐久性に限界があり、触媒冷却器の動作条件によっては、コーティングが、36~48ヶ月間の作動後に破損する可能性があることが分かっている。
【0007】
UOP設計は、図2に示すように、前述の問題を回避しようとするために考えられ、触媒が装置の上部を通って進入する。KBR及びStone & Websterモデルとは異なり、UOPモデルでは、触媒流がビーム全体に横方向に入ることはない。
【0008】
Stone & Websterは、図3に示すように、複数のビームアセンブリを挿入することによって、独立した隔離を可能にすることで、浸食問題を解決しようとした。したがって、管の1つに穴が開いていることが同定された場合、RFCCユニットは、停止する必要がなく、単に、穴の開いた管が位置するアセンブリへの水入口を塞ぐだけで、動作し続ける。触媒冷却器の熱負荷が低減されるので、精製業者は、RFCC供給流を低減するか、又はより軽い残渣を処理することによって供給品質を調整する必要がある。これは理想的ではないが、そのような構成は、精製業者がビームのシャットダウン及び修理を計画するためにいくらかの時間を獲得することを可能にする。しかしながら、この柔軟性には、より複雑で高価な配置という代償が伴う。これは問題に対する一時的な解決策であり、収益の損失も伴うため、ユニットを停止し、ビームを修理した後にのみ解決すべきである。
【0009】
触媒がシェルの側面を通って冷却器に入る触媒冷却器では、腐食の問題は、特に重要である。この配置はいくつかの利点があるが、触媒入口付近の管の前記第一列において、重大な浸食問題をも引き起こす。第一列及び第二列の管において、激しい浸食が発生すると、触媒冷却器のビームに穴が開くことで、RFCCの予定外の停止をもたらし、収益の著しい損失につながる。この機器における信頼性の欠如は、収益性向上のために望ましい長期作動の妨げとなっている。
【0010】
したがって、最近試験された様々な解決策を考慮すると、浸食問題を解決し、したがって触媒冷却器の作動時間を長くするために、残留流動接触分解(RFCC)ユニットの触媒冷却器のビーム内の管の浸食を低減する新しい手段が必要とされている。
(【0011】以降は省略されています)
この特許をJ-PlatPat(特許庁公式サイト)で参照する
関連特許
他の特許を見る