TOP
|
特許
|
意匠
|
商標
特許ウォッチ
Twitter
他の特許を見る
公開番号
2025179707
公報種別
公開特許公報(A)
公開日
2025-12-10
出願番号
2024086629
出願日
2024-05-28
発明の名称
吸収性物品用シート
出願人
花王株式会社
代理人
弁理士法人翔和国際特許事務所
主分類
A61F
13/535 20060101AFI20251203BHJP(医学または獣医学;衛生学)
要約
【課題】柔軟性が高く、且つ乾燥時であっても吸収性ポリマーの移動が抑制された吸収性物品用シートを提供すること。
【解決手段】吸収性物品用シート1は、第1繊維シート11と、第3繊維シート13と、両シート11,13の間に配された第2繊維シート12とを備える。吸収性物品用シート1は、第1繊維シート11と第2繊維シート12との間に、吸収性ポリマーの粒子16を含む第1吸収性ポリマー層14を備え、第2繊維シート12と第3繊維シート13との間に、吸収性ポリマーの粒子16を含む第2吸収性ポリマー層15を備える。第2繊維シート12は、第1繊維シート11との対向面を含む第1高繊維密度領域21と、第3繊維シート13との対向面を含む第2高繊維密度領域22と、両高繊維密度領域21,22の間に位置し、且つ両高繊維密度領域21,22よりも繊維存在密度が低い低繊維密度領域23と、を有する。
【選択図】図1
特許請求の範囲
【請求項1】
第1繊維シートと、第3繊維シートと、第1繊維シート及び第3繊維シートの間に配された第2繊維シートとを備えた吸収性物品用シートであって、
第1繊維シートと第2繊維シートとの間に、吸収性ポリマーの粒子を含む第1吸収性ポリマー層を備え、
第2繊維シートと第3繊維シートとの間に、前記吸収性ポリマーと同一又は異なる吸収性ポリマーの粒子を含む第2吸収性ポリマー層を備え、
第2繊維シートは、
第1繊維シートとの対向面を含む第1高繊維密度領域と、
第3繊維シートとの対向面を含む第2高繊維密度領域と、
第1高繊維密度領域及び第2高繊維密度領域の間に位置し、且つ両高繊維密度領域よりも繊維存在密度が低い低繊維密度領域と、
を有する、吸収性物品用シート。
続きを表示(約 1,000 文字)
【請求項2】
前記低繊維密度領域を構成する繊維の平均繊維径が、第1高繊維密度領域を構成する繊維の平均繊維径及び第2高繊維密度領域を構成する繊維の平均繊維径のいずれよりも大きい、請求項1に記載の吸収性物品用シート。
【請求項3】
第1繊維シートと第2繊維シートとが第1吸収性ポリマー層を構成する前記粒子を介して接合されており、
第2繊維シートと第3繊維シートとが第2吸収性ポリマー層を構成する前記粒子を介して接合されている、請求項1又は2に記載の吸収性物品用シート。
【請求項4】
前記低繊維密度領域が第1高繊維密度領域に隣接する第1層及び第2高繊維密度領域に隣接する第2層からなる2層構造を有し、
前記低繊維密度領域は、
第1層と第2層との間に位置する空隙部と、
第1層及び第2層が直接接しているか、若しくは接着剤を介して接合されているか、又はそれらの両方である接合部と、
を有する、請求項1又は2に記載の吸収性物品用シート。
【請求項5】
平面視において、前記空隙部の合計面積が前記接合部の合計面積よりも大きい、請求項4に記載の吸収性物品用シート。
【請求項6】
前記吸収性物品用シートにおいては、縦方向及びそれに直交する横方向を有する矩形の原反が、横方向に沿って折り線を有するように三つ折りにされており、
前記原反が三つ折りにされた状態において、前記原反の前記縦方向の前端縁と後端縁とが対向している、請求項1又は2に記載の吸収性物品用シート。
【請求項7】
前記空隙部の少なくとも一部に吸収性ポリマーの粒子を備える、請求項4に記載の吸収性物品用シート。
【請求項8】
第1繊維シートと第2繊維シートとの間に存在する前記吸収性ポリマーの坪量B1及び第2繊維シートと第3繊維シートとの間に存在する前記吸収性ポリマーの坪量B2が、いずれも、前記空隙部に存在する前記吸収性ポリマーの坪量B3よりも大きい、請求項7に記載の吸収性物品用シート。
【請求項9】
第1繊維シートと第2繊維シートとの間に存在する前記吸収性ポリマーの坪量B1が、第2繊維シートと第3繊維シートとの間に存在する前記吸収性ポリマーの坪量B2よりも小さい、請求項1又は2に記載の吸収性物品用シート。
発明の詳細な説明
【技術分野】
【0001】
本発明は、吸収性物品用シートに関する。
続きを表示(約 2,100 文字)
【背景技術】
【0002】
使い捨ておむつ等の吸収性物品に用いられる吸収体について、種々の改良が提案されている。
例えば特許文献1には、高吸水性ポリマーを含む第1吸収層と、高吸水性ポリマーを含む第2吸収層と、それらの間に配置された、繊維を含む中間層とを備えており、前記中間層が、繊維密度が相対的に低い低繊維密度部と、繊維密度が相対的に高い高繊維密度部とを備えている吸収体が記載されている。同文献に記載の吸収体は、液体の一時滞留性と、液体の厚さ方向の移行性とに優れると同文献に記載されている。
【0003】
また特許文献2には、通気性分画層によって1次吸収層と2次吸収層とに分画されてなる積層構造を有する吸収層が、不織布により該吸収層の上方及び下方から挟持された構造を有する吸水シートが記載されている。同文献に記載の吸水シートによれば、1次吸収層と2次吸収層の間にある通気性分画層により、適度な液体の分配と拡散がなされることで、排尿初期におけるゲルブロッキング現象の防止と2次吸収層への効率的な透水の両者が達成されると同文献に記載されている。
【先行技術文献】
【特許文献】
【0004】
再表2011/043256号公報
特開2020-108752号公報
【発明の概要】
【発明が解決しようとする課題】
【0005】
ところで、吸収体には吸液性能に加えて柔軟性が求められている。これに対し、特許文献1に記載の吸収体及び特許文献2に記載の吸水シートは、柔軟性が十分ではなかった。吸収体の柔軟性を高めるためには、例えば、吸収体中のパルプの含有割合を低下させて、圧縮性の高い不織布の含有割合を高めればよい。しかし、パルプの含有割合を低下させた場合、吸収体中の吸収性ポリマーが着用者の体液を吸収した際に、膨潤して破壊されてしまうことがあった。この破壊を防ぐために、吸収性ポリマーを不織布の構成繊維に絡ませた吸収体も提案されている。しかし、かかる吸収体は乾燥時において吸収性ポリマーが自由に動くことができるため、吸収性能が設計通りに発現されないことがあった。また、かかる吸収体を備えた吸収性物品を手に取ったときに、吸収性ポリマーが移動してしまうため、じゃり感が発生することがあった。
【0006】
したがって本発明の課題は、柔軟性が高く、且つ乾燥時であっても吸収性ポリマーの移動が抑制された吸収性物品用シートを提供することにある。
【課題を解決するための手段】
【0007】
本発明は、第1繊維シートと、第3繊維シートと、第1繊維シート及び第3繊維シートの間に配された第2繊維シートとを備えた吸収性物品用シートに関する。
一実施形態において、前記吸収性物品用シートは、第1繊維シートと第2繊維シートとの間に、吸収性ポリマーの粒子を含む第1吸収性ポリマー層を備えることが好ましい。
一実施形態において、前記吸収性物品用シートは、第2繊維シートと第3繊維シートとの間に、前記吸収性ポリマーと同一又は異なる吸収性ポリマーの粒子を含む第2吸収性ポリマー層を備えることが好ましい。
一実施形態において、第2繊維シートは、
第1繊維シートとの対向面を含む第1高繊維密度領域と、
第3繊維シートとの対向面を含む第2高繊維密度領域と、
第1高繊維密度領域及び第2高繊維密度領域の間に位置し、且つ両高繊維密度領域よりも繊維存在密度が低い低繊維密度領域と、
を有することが好ましい。
【発明の効果】
【0008】
本発明によれば、柔軟性が高く、且つ乾燥時であっても吸収性ポリマーの移動が抑制された吸収性物品用シートが提供される。
【図面の簡単な説明】
【0009】
図1は、本発明の吸収性物品用シートの好ましい一実施形態を示す断面図である。
図2は、本発明の吸収性物品用シートの別の実施形態を示す断面図である。
図3は、本発明の吸収性物品用シートの更に別の実施形態を示す断面図である。
【発明を実施するための形態】
【0010】
以下本発明を、その好ましい実施形態に基づき図面を参照しながら説明する。
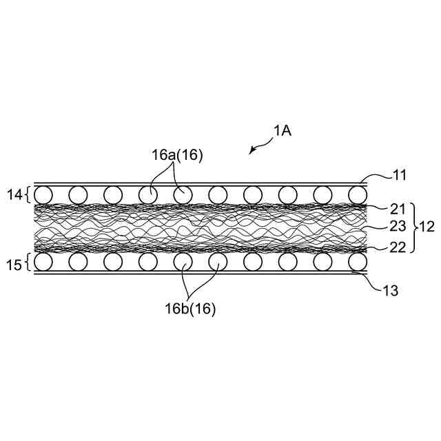
図1に示す吸収性物品用シート1(以下、「シート1」ともいう。)は、第1繊維シート11と、第3繊維シート13と、第1繊維シート11及び第3繊維シート13の間に配された第2繊維シート12とを備えている。
シート1は、吸収性ポリマーの粒子16を備えている。詳細には、シート1は、第1繊維シート11と第2繊維シート12との間に、吸収性ポリマーの粒子16aを含む第1吸収性ポリマー層14を備える。同様に、シート1は、第2繊維シート12と第3繊維シート13との間に、前記吸収性ポリマーと同一又は異なる吸収性ポリマーの粒子16bを含む第2吸収性ポリマー層15を備える。
(【0011】以降は省略されています)
この特許をJ-PlatPat(特許庁公式サイト)で参照する
関連特許
他の特許を見る