TOP
|
特許
|
意匠
|
商標
特許ウォッチ
Twitter
他の特許を見る
10個以上の画像は省略されています。
公開番号
2025179147
公報種別
公開特許公報(A)
公開日
2025-12-09
出願番号
2025145814,2021060417
出願日
2025-09-03,2021-03-31
発明の名称
電子機器およびアクセサリ
出願人
キヤノン株式会社
代理人
個人
,
個人
,
個人
主分類
G03B
17/56 20210101AFI20251202BHJP(写真;映画;光波以外の波を使用する類似技術;電子写真;ホログラフイ)
要約
【課題】接点数の増加を抑えつつ、クロック信号による隣接接点の信号へのノイズの影響を低減する。
【解決手段】電子機器100は、アクセサリ200が着脱可能に装着される。電子機器には、アクセサリと電気的に接続される複数の接点が一列に配列されている。複数の接点は、電子機器へのアクセサリの装着の検出に用いられる装着検出接点TC06と、電子機器とアクセサリとの間での通信において第1のクロック信号の伝達に用いられる第1のクロック接点TC07とを含む。装着検出接点の電位は、アクセサリが電子機器に装着された後に所定電位からグラウンド電位となる。第1のクロック接点の隣に装着検出接点が配置されている。
【選択図】図1
特許請求の範囲
【請求項1】
アクセサリが着脱可能に装着され、前記アクセサリと電気的に接続される複数の接点が一列に配列された電子機器であって、
前記複数の接点は、
前記電子機器への前記アクセサリの装着の検出に用いられる装着検出接点と、
前記電子機器と前記アクセサリとの間での通信において第1のクロック信号の伝達に用いられる第1のクロック接点とを含み、
前記装着検出接点の電位は、前記アクセサリが前記電子機器に装着された後に所定電位からグラウンド電位となり、
前記第1のクロック接点の隣に前記装着検出接点が配置されていることを特徴とする電子機器。
続きを表示(約 1,700 文字)
【請求項2】
前記複数の接点は、さらに、前記電子機器と前記アクセサリとの通信において第2のクロック信号の伝達に用いられる第2のクロック接点を有し、
前記第1のクロック信号の電位の変化の頻度は、前記第2のクロック信号の電位の変化の頻度に比べて多く、
前記装着検出接点は、前記第2のクロック接点の隣ではない位置に配置されていることを特徴とする請求項1に記載の電子機器。
【請求項3】
前記複数の接点は、さらに、前記電子機器と前記アクセサリとの通信において第3のクロック信号またはデータ信号であるペアの差動信号の伝達に用いられ、互いに隣り合う第1の差動信号接点および第2の差動信号接点を含み、
前記装着検出接点は、前記第1および第2の差動信号接点の隣ではない位置に配置されていることを特徴とする請求項1または2に記載の電子機器。
【請求項4】
前記複数の接点は、さらに、前記電子機器と前記アクセサリとの間での前記第1のクロック信号を用いた通信において送信される第1のデータ信号の伝達に用いられる第1のデータ接点を有し、
前記第1のクロック接点の前記装着検出接点とは反対側の隣に前記第1のデータ接点が配置されていることを特徴とする請求項1から3のいずれか一項に記載の電子機器。
【請求項5】
前記複数の接点は、さらに、いずれも前記装着検出接点の前記第1のクロック接点とは反対側に配置された、前記電子機器から前記アクセサリの電源供給に用いられる電源接点と、グラウンドに接続されたグラウンド接点とを含むことを特徴とする請求項1から4のいずれか一項に記載の電子機器。
【請求項6】
電子機器に着脱可能に装着され、前記電子機器と電気的に接続される複数の接点が一列に配列されたアクセサリであって、
前記複数の接点は、
前記電子機器への前記アクセサリの装着の検出に用いられる装着検出接点と、
前記電子機器と前記アクセサリとの間での通信において第1のクロック信号の伝達に用いられる第1のクロック接点とを含み、
前記装着検出接点の電位は、グラウンド電位であり、
前記第1のクロック接点の隣に前記装着検出接点が配置されていることを特徴とするアクセサリ。
【請求項7】
前記複数の接点は、さらに、前記電子機器と前記アクセサリとの通信において第2のクロック信号の伝達に用いられる第2のクロック接点を有し、
前記第1のクロック信号の電位の変化の頻度は、前記第2のクロック信号の電位の変化の頻度に比べて多く、
前記装着検出接点は、前記第2のクロック接点の隣ではない位置に配置されていることを特徴とする請求項6に記載のアクセサリ。
【請求項8】
前記複数の接点は、さらに、前記電子機器と前記アクセサリとの通信において第3のクロック信号またはデータ信号であるペアの差動信号の伝達に用いられ、互いに隣り合う第1の差動信号接点および第2の差動信号接点を含み、
前記装着検出接点は、前記第1および第2の差動信号接点の隣ではない位置に配置されていることを特徴とする請求項6または7に記載のアクセサリ。
【請求項9】
前記複数の接点は、さらに、前記電子機器と前記アクセサリとの間での前記第1のクロック信号を用いた通信において送信される第1のデータ信号の伝達に用いられる第1のデータ接点を有し、
前記第1のクロック接点の前記装着検出接点とは反対側の隣に前記第1のデータ接点が配置されていることを特徴とする請求項6から8のいずれか一項に記載のアクセサリ。
【請求項10】
前記複数の接点は、さらに、いずれも前記装着検出接点の前記第1のクロック接点とは反対側に配置された、前記電子機器から前記アクセサリの電源供給に用いられる電源接点と、グラウンドに接続されたグラウンド接点とを含むことを特徴とする請求項6から9のいずれか一項に記載のアクセサリ。
(【請求項11】以降は省略されています)
発明の詳細な説明
【技術分野】
【0001】
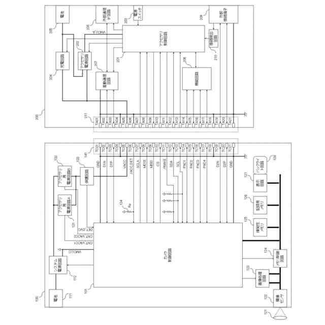
本発明は、通信や電源供給等に用いられる接点を有する電子機器およびアクセサリに関する。
続きを表示(約 1,300 文字)
【背景技術】
【0002】
カメラ等の電子機器に設けられたアクセサリシューには、ストロボ機器等のアクセサリが装着される。アクセサリシューには、アクセサリに電源を供給したりアクセサリとの通信を行ったりするための複数の接点(端子)が設けられている。電子機器とアクセサリとの通信はアクセサリシューの端子を介して、電子機器からクロック信号やデータ信号等の信号が送信される。
【0003】
ただし、アクセサリシューやアクセサリを大型化することなく接点の数を増やすめために接点の配置ピッチを狭くすると、クロック信号やデータ信号の電位の変化がこれらの信号の接点に隣接する接点に接続される信号に影響を与えやすくなる。
【0004】
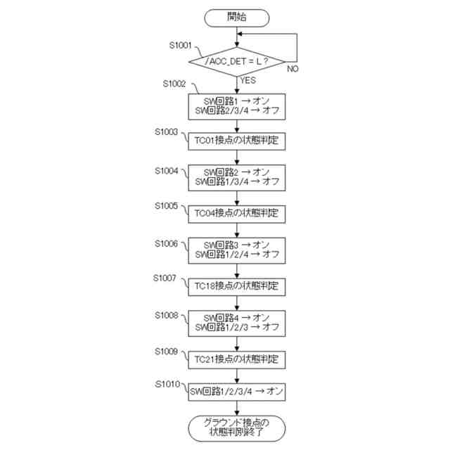
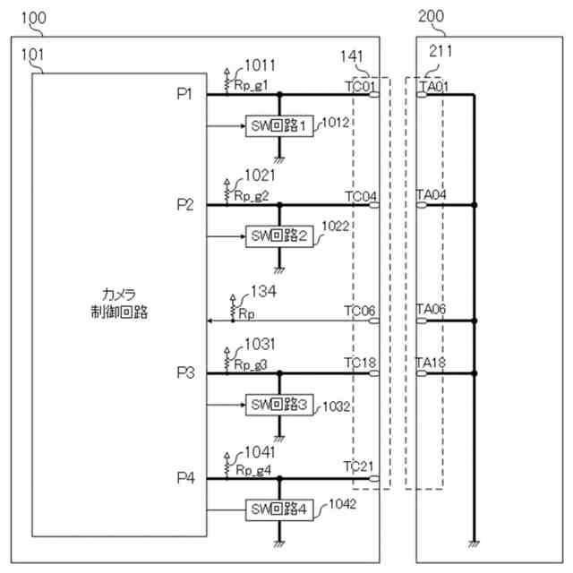
特許文献1には、クロック信号接点の両隣に基準電位となるGND電位の接点を配置することで、電子機器とアクセサリ間のクロック信号による他の信号へのノイズの影響を防ぐようにした接点配置が開示されている。
【先行技術文献】
【特許文献】
【0005】
特開2013-34172号公報
【発明の概要】
【発明が解決しようとする課題】
【0006】
しかしながら、特許文献1に開示された接点配置では、クロック信号接点の両隣にGND接点を配置するために接点数が増加し、アクセサリシューが大型化する。
【0007】
本発明は、接点数の増加を抑えつつ、クロック信号による隣接接点の信号へのノイズの影響を低減することができるようにした電子機器およびアクセサリを提供する。
【課題を解決するための手段】
【0008】
本発明の一側面としての電子機器は、アクセサリが着脱可能に装着される。電子機器には、アクセサリと電気的に接続される複数の接点が一列に配列されている。複数の接点は、電子機器へのアクセサリの装着の検出に用いられる装着検出接点と、電子機器とアクセサリとの間での通信において第1のクロック信号の伝達に用いられる第1のクロック接点とを含む。装着検出接点の電位は、アクセサリが電子機器に装着された後に所定電位からグラウンド電位となる。第1のクロック接点の隣に装着検出接点が配置されていることを特徴とする。
【0009】
また本発明の他の一側面としてのアクセサリは、電子機器に着脱可能に装着される。アクセサリには、電子機器と電気的に接続される複数の接点が一列に配列されている。複数の接点は、電子機器へのアクセサリの装着の検出に用いられる装着検出接点と、電子機器とアクセサリとの間での通信において第1のクロック信号の伝達に用いられる第1のクロック接点とを含む。装着検出接点の電位は、グラウンド電位であり、第1のクロック接点の隣に装着検出接点が配置されていることを特徴とする。
【発明の効果】
【0010】
本発明によれば、接点数の増加を抑えつつ、クロック信号による隣接接点の信号へのノイズの影響を低減することができる。
【図面の簡単な説明】
(【0011】以降は省略されています)
この特許をJ-PlatPat(特許庁公式サイト)で参照する
関連特許
個人
表示装置
1か月前
個人
雨用レンズカバー
1か月前
日本精機株式会社
プロジェクタ
5日前
キヤノン株式会社
撮像装置
1か月前
キヤノン株式会社
撮像装置
1か月前
キヤノン株式会社
撮像装置
12日前
キヤノン株式会社
撮像装置
1か月前
株式会社リコー
画像形成装置
26日前
株式会社リコー
画像形成装置
1か月前
株式会社リコー
画像形成装置
1か月前
株式会社リコー
画像形成装置
1か月前
株式会社リコー
画像形成装置
1か月前
キヤノン株式会社
トナー
1か月前
キヤノン株式会社
画像形成装置
1か月前
キヤノン株式会社
画像形成装置
1か月前
キヤノン株式会社
画像形成装置
20日前
キヤノン株式会社
現像装置
2か月前
沖電気工業株式会社
画像形成装置
1か月前
沖電気工業株式会社
画像形成装置
1か月前
レーザーテック株式会社
光源装置
28日前
沖電気工業株式会社
画像形成装置
7日前
レーザーテック株式会社
光源装置
7日前
キヤノン株式会社
レンズキャップ
1か月前
古野電気株式会社
装置
1か月前
シャープ株式会社
捺染トナー
5日前
キヤノン株式会社
画像形成装置
15日前
コニカミノルタ株式会社
画像形成装置
1か月前
キヤノン株式会社
画像形成装置
1か月前
キヤノン株式会社
画像形成装置
26日前
シャープ株式会社
画像形成装置
1か月前
キヤノン株式会社
画像形成装置
26日前
キヤノン株式会社
画像形成装置
1か月前
キヤノン株式会社
画像形成装置
26日前
キヤノン株式会社
二成分現像剤
12日前
キヤノン株式会社
画像形成装置
15日前
沖電気工業株式会社
画像形成装置
13日前
続きを見る
他の特許を見る