TOP
|
特許
|
意匠
|
商標
特許ウォッチ
Twitter
他の特許を見る
10個以上の画像は省略されています。
公開番号
2025179146
公報種別
公開特許公報(A)
公開日
2025-12-09
出願番号
2025145796,2024088985
出願日
2025-09-03,2020-11-26
発明の名称
危険警報装置、および危険解析装置
出願人
三菱電機株式会社
代理人
弁理士法人クロスボーダー特許事務所
主分類
B64G
3/00 20060101AFI20251202BHJP(航空機;飛行;宇宙工学)
要約
【課題】宇宙を飛行する宇宙物体を管理する複数の管理事業者が効率的に危険解析を分担実施することを目的とする。
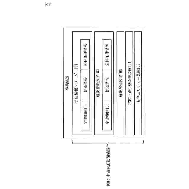
【解決手段】複数の宇宙交通管理装置100の各々は、宇宙交通管理ルール情報と、宇宙情報レコーダー101と、危険警報装置102と、危険解析装置103と、の全てを具備する。さらに、複数の宇宙交通管理装置100の各々は、宇宙物体の回避行動の役割分担を表示する危険回避行動支援装置104と、危険回避行動実施計画と、計測誤差精査装置と、情報改ざんを防止するセキュリティー装置105と、の全てを具備する。危険警報装置102は、宇宙物体の接近あるいは衝突の危険を報知して、複数の管理事業者の誰であっても、危険を予見した場合は、関係事業者間で迅速かつ最低限の労力で情報共有する。
【選択図】図11
特許請求の範囲
【請求項1】
宇宙を飛行する宇宙物体を管理する事業装置に実装され、宇宙物体の飛行安全管理をする宇宙交通管理装置であって、
宇宙交通管理ルール情報と、
宇宙物体の軌道情報を記録する宇宙情報レコーダーと、
宇宙物体の接近あるいは衝突の危険を報知する危険警報装置と、
宇宙物体の軌道解析をする危険解析装置と、
宇宙物体の回避行動の役割分担を表示する危険回避行動支援装置と、
危険回避行動実施計画と、
計測誤差精査装置と、
情報改ざんを防止するセキュリティー装置と、
の全てを具備し、
前記宇宙情報レコーダーは、
軌道上物体数管理情報と、
飛行安全を確保するための軌道面毎の軌道高度に関する情報である飛行安全対策情報と、
の全てを具備する宇宙交通管理装置に具備され、
宇宙物体Aと宇宙物体Bの衝突が予見された場合に表示する衝突警報と、
宇宙物体Aと宇宙物体Bの危険距離への接近が予見された場合に表示する接近警報と、
宇宙物体Aが衛星群の飛行領域への侵入が予見された場合に表示する侵入警報と、
宇宙物体Aの宇宙物体IDと、
宇宙物体Bの宇宙物体IDと、
侵入が予見される衛星群の衛星群IDと、
の全ての情報を備えた危険警報装置。
続きを表示(約 1,100 文字)
【請求項2】
宇宙を飛行する宇宙物体を管理する事業装置に実装され、宇宙物体の飛行安全管理をする宇宙交通管理装置であって、
宇宙交通管理ルール情報と、
宇宙物体の軌道情報を記録する宇宙情報レコーダーと、
宇宙物体の接近あるいは衝突の危険を報知する危険警報装置と、
宇宙物体の軌道解析をする危険解析装置と、
宇宙物体の回避行動の役割分担を表示する危険回避行動支援装置と、
危険回避行動実施計画と、
計測誤差精査装置と、
情報改ざんを防止するセキュリティー装置と、
の全てを具備し、
前記宇宙情報レコーダーは、
軌道上物体数管理情報と、
飛行安全を確保するための軌道面毎の軌道高度に関する情報である飛行安全対策情報と、
の全てを具備する宇宙交通管理装置に具備され、
複数の事業装置で共通のアルゴリズムを具備し、前記危険警報装置に含まれる宇宙物体Aの宇宙物体IDと宇宙物体Bの宇宙物体IDが入力されると、危険警報を発信した事業者が保有する危険解析装置の解析結果を再現できる危険解析装置。
【請求項3】
宇宙を飛行する宇宙物体を管理する事業装置に実装され、宇宙物体の飛行安全管理をする宇宙交通管理装置であって
宇宙交通管理ルール情報と、
宇宙物体の軌道情報を記録する宇宙情報レコーダーと、
宇宙物体の接近あるいは衝突の危険を報知する危険警報装置と、
宇宙物体の軌道解析をする危険解析装置と、
宇宙物体の回避行動の役割分担を表示する危険回避行動支援装置と、
危険回避行動実施計画と、
計測誤差精査装置と、
情報改ざんを防止するセキュリティー装置と、
の全てを具備し、
前記宇宙情報レコーダーは、
軌道上物体数管理情報と、
飛行安全を確保するための軌道面毎の軌道高度に関する情報である飛行安全対策情報と、
の全てを具備する宇宙交通管理装置に具備され、
宇宙物体Aの危険領域への侵入警報を表示した場合であって、危険領域がメガコンステレーションないしコンステレーション衛星群の飛行する領域の場合に、前記危険警報装置に含まれる宇宙物体Aの宇宙物体IDと衛星群の衛星群IDが入力されると、メガコンステレーション事業装置、ないしコンステレーション事業装置が、自装置に実装された宇宙情報レコーダーから、衛星群の精密軌道情報を使って危険解析をして、個別衛星の衝突を予見して衝突時刻と位置座標を出力する危険解析装置。
発明の詳細な説明
【技術分野】
【0001】
本発明は、宇宙交通管理システム、宇宙交通管理装置、衛星事業装置、衛星コンステレーション事業装置、メガコンステレーション事業装置、ロケット打ち上げ事業装置、デブリ除去事業装置、宇宙状況監視事業装置、危険回避支援事業装置、宇宙保険事業装置、宇宙情報レコーダー、危険警報装置、危険解析装置、危険回避行動支援装置、およびセキュリティー装置に関する。
続きを表示(約 3,200 文字)
【背景技術】
【0002】
近年、数百から数千機に及ぶ大規模衛星コンステレーション、所謂メガコンステレーションの構築が始まり、軌道上における衛星の衝突のリスクが高まっている。また、故障により制御不能となった衛星、あるいは、ロケットの残骸といったスペースデブリが増加している。
このような宇宙空間における衛星およびスペースデブリといった宇宙物体の急激な増加に伴い、宇宙交通管制(STM)では、宇宙物体の衝突を回避するための国際的なルール作りの必要性が高まっている。
【0003】
特許文献1には、同一の円軌道に複数の衛星から成る衛星コンステレーションを形成する技術が開示されている。
【0004】
従来、米国のCSpOC(Combined Space Operations Center)が宇宙物体の監視を継続し、宇宙物体同士の接近あるいは衝突が予見された場合に警報を発令する仕組みが存在する。有人宇宙基地および商用通信衛星では、この警報に応じて必要と判断した場合に回避運用を実施している。
【先行技術文献】
【特許文献】
【0005】
特開2017-114159号公報
【発明の概要】
【発明が解決しようとする課題】
【0006】
宇宙空間のデブリの増加、メガコンステレーションの登場による衛星数の増加、および地上監視能力の向上に伴い、従来の米国CSpOCによる警報発令サービスの継続が難しくなっている。
しかしながら、特許文献1には、宇宙空間のデブリの増加、メガコンステレーションの登場による衛星数の増加、および地上監視能力の向上に伴う宇宙物体の衝突回避の方式については記載されていない。
【0007】
本発明は、宇宙空間のデブリの増加、メガコンステレーションの登場による衛星数の増加、および地上監視能力の向上に伴い、宇宙を飛行する宇宙物体を管理する複数の管理事業者が効率的に危険解析を分担実施することを目的とする。
【課題を解決するための手段】
【0008】
本発明に係る危険警報装置は、
宇宙を飛行する宇宙物体を管理する事業装置に実装され、宇宙物体の飛行安全管理をする宇宙交通管理装置であって、
宇宙交通管理ルール情報と、
宇宙物体の軌道情報を記録する宇宙情報レコーダーと、
宇宙物体の接近あるいは衝突の危険を報知する危険警報装置と、
宇宙物体の軌道解析をする危険解析装置と、
宇宙物体の回避行動の役割分担を表示する危険回避行動支援装置と、
危険回避行動実施計画と、
計測誤差精査装置と、
情報改ざんを防止するセキュリティー装置と、
の全てを具備し、
前記宇宙情報レコーダーは、
軌道上物体数管理情報と、
飛行安全を確保するための軌道面毎の軌道高度に関する情報である飛行安全対策情報と、
の全てを具備する宇宙交通管理装置に具備され、
宇宙物体Aと宇宙物体Bの衝突が予見された場合に表示する衝突警報と、
宇宙物体Aと宇宙物体Bの危険距離への接近が予見された場合に表示する接近警報と、
宇宙物体Aが衛星群の飛行領域への侵入が予見された場合に表示する侵入警報と、
宇宙物体Aの宇宙物体IDと、
宇宙物体Bの宇宙物体IDと、
侵入が予見される衛星群の衛星群IDと、
の全ての情報を備えた。
【発明の効果】
【0009】
本発明に係る危険警報装置では、宇宙を飛行する宇宙物体を管理する複数の管理事業者が効率的に危険解析を分担実施して、宇宙物体の接近あるいは衝突の危険を報知して、複数の管理事業者の誰であっても、危険を予見した場合は、関係事業者間で迅速かつ最低限の労力で情報共有することができるという効果がある。
【図面の簡単な説明】
【0010】
複数衛星が連携して地球の全球に亘り通信サービスを実現する例。
単一軌道面の複数衛星が地球観測サービスを実現する例。
極域近傍で交差する複数の軌道面を有する衛星コンステレーションの例。
極域以外で交差する複数の軌道面を有する衛星コンステレーションの例。
衛星コンステレーション形成システムの構成図。
衛星コンステレーション形成システムの衛星の構成図。
衛星コンステレーション形成システムの地上設備の構成図。
衛星コンステレーション形成システムの機能構成例。
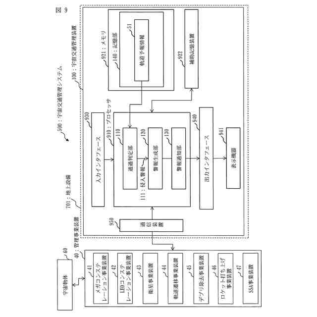
実施の形態1に係る宇宙交通管理システムの構成図。
実施の形態1に係る軌道予報情報の例。
実施の形態1に係る宇宙交通管理装置の例1-2を示す構成図。
実施の形態1に係る宇宙交通管理システムの例5-2を示す図。
実施の形態1に係る宇宙交通管理システムの例5-3を示す構成図。
実施の形態1に係る宇宙情報レコーダーの例を示す図。
実施の形態1に係る危険警報装置の例を示す図。
実施の形態1に係る宇宙交通管理システムの例5-4を示す図。
実施の形態1に係る宇宙交通管理システムの例5-5を示す図。
実施の形態1に係る宇宙情報レコーダーの例を示す図。
実施の形態1に係る宇宙交通管理システムによる宇宙交通管理処理のフロー図。
実施の形態1に係る衛星コンステレーションを通過するデブリの予測軌道と侵入警報の例。
誤差がない場合の衛星コンステレーションとデブリとの衝突リスクの例。
誤差がある場合の衛星コンステレーションとデブリとの衝突リスクの例。
実施の形態1の変形例に係る宇宙交通管理システムの構成図。
実施の形態2に係る宇宙交通管理装置の例1-3を示す図。
実施の形態2に係る宇宙交通管理システムの例5-5を示す図。
実施の形態2に係る密集領域識別情報の例を示す図。
実施の形態2に係る危険領域識別情報の例を示す図。
実施の形態2に係る危険領域識別情報の例を示す図。
実施の形態2に係る危険領域識別情報の例を示す図。
実施の形態2に係る危険領域識別情報の例を示す図。
実施の形態3に係る宇宙交通管理装置の例1-4を示す図。
実施の形態3に係る宇宙交通管理システムの例5-7を示す図。
実施の形態3に係る宇宙交通管理システムの例5-8を示す図。
実施の形態3に係る図33の宇宙交通管理システム500の例5-8における各事業装置の構成の詳細を示す図。
実施の形態3に係る図33の宇宙交通管理システム500の例5-8における各事業装置の構成の詳細を示す図。
実施の形態3に係る図33の宇宙交通管理システム500の例5-8における各事業装置の構成の詳細を示す図。
実施の形態3に係る図33の宇宙交通管理システム500の例5-8における各事業装置の構成の詳細を示す図。
実施の形態3に係る宇宙交通管理システム500の例5-8の効果を示す図である。
実施の形態4に係る衛星軌道領域に侵入するデブリの軌道例。
実施の形態4に係るデブリ除去制御装置の構成図。
実施の形態4に係るデブリ除去衛星の構成図。
実施の形態4に係る衛星軌道領域に侵入するデブリの軌道例。
実施の形態6に係る宇宙交通管理システム500の例5-9の構成図。
実施の形態6に係る宇宙交通管理システム500の例5-10の構成図。
【発明を実施するための形態】
(【0011】以降は省略されています)
この特許をJ-PlatPat(特許庁公式サイト)で参照する
関連特許
他の特許を見る