TOP
|
特許
|
意匠
|
商標
特許ウォッチ
Twitter
他の特許を見る
10個以上の画像は省略されています。
公開番号
2025179114
公報種別
公開特許公報(A)
公開日
2025-12-09
出願番号
2025142463,2024087676
出願日
2025-08-28,2019-01-18
発明の名称
加熱装置及び画像形成装置
出願人
キヤノン株式会社
代理人
個人
,
個人
主分類
G03G
15/20 20060101AFI20251202BHJP(写真;映画;光波以外の波を使用する類似技術;電子写真;ホログラフイ)
要約
【課題】有接点スイッチを用いて給電する発熱体を切り替える場合であっても、有接点スイッチ動作時にアーク放電による電磁ノイズが放射されず、接点摩耗による寿命低下が生じない装置を提供すること。
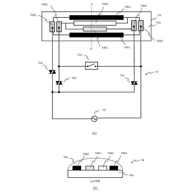
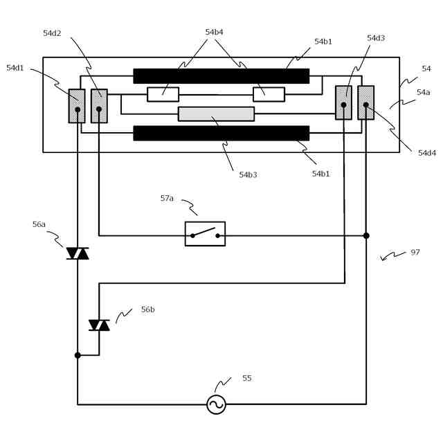
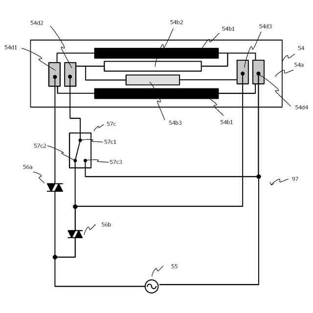
【解決手段】基板54a、発熱体54b1、発熱体54b2、54b3、発熱体54b1に対する電力の供給をオン/オフするためのトライアック56a、発熱体54b2または発熱体54b3に対する電力の供給をオン/オフするためのトライアック56b、発熱体54b2及び発熱体54b3の一端側に接続された接点57c1と、発熱体54b2の他端側に接続された接点57c3と、発熱体54b3の他端側に接続された接点57c2とを有し、発熱体54b2に電力を供給する場合は接点57c1と接点57c3を接続し、発熱体54b3に電力を供給する場合は接点57c1と接点57c2を接続する電磁リレー57c、を備える。
【選択図】図6
特許請求の範囲
【請求項1】
基板と、
第1の発熱体と、
前記基板の長手方向の長さが前記第1の発熱体より短い第2及び第3の発熱体と、
前記第1の発熱体に対する電力の供給をオン/オフするための第1のトライアックと、
前記第2の発熱体または前記第3の発熱体に対する電力の供給をオン/オフするための第2のトライアックと、
前記第2の発熱体及び前記第3の発熱体の一端側に接続された第1の接点と、前記第2の発熱体の他端側に接続された第2の接点と、前記第3の発熱体の他端側に接続された第3の接点とを有し、前記第2の発熱体に電力を供給する場合は前記第1の接点と前記第3の接点を接続し、前記第3の発熱体に電力を供給する場合は前記第1の接点と前記第2の接点を接続する有接点スイッチと、
を備える加熱装置。
続きを表示(約 1,300 文字)
【請求項2】
前記第1のトライアックがオンである場合、前記有接点スイッチの状態によらず、前記第1の発熱体に電力が供給されることを特徴とする請求項1に記載の加熱装置。
【請求項3】
前記有接点スイッチにより前記第1の接点と前記第3の接点が接続され、前記第2のトライアックがオンされることで、前記第2の発熱体に電力が供給されることを特徴とする請求項2に記載の加熱装置。
【請求項4】
前記有接点スイッチにより前記第1の接点と前記第2の接点が接続され、前記第2のトライアックがオンされることで、前記第3の発熱体に電力が供給されることを特徴とする請求項3に記載の加熱装置。
【請求項5】
前記ヒータは、
前記第1の発熱体の一端が接続された第1の電極と、
前記第2の発熱体の一端及び前記第3の発熱体の一端が接続された第2の電極と、
前記第3の発熱体の他端が接続された第3の電極と、
前記第1の発熱体の他端及び前記第2の発熱体の他端が接続された第4の電極と、を備え、
前記第1の電極及び前記第2の電極は、前記第1の発熱体、前記第2の発熱体、及び前記第3の発熱体よりも、前記基板の長手方向における一端側に配置されており、
前記第3の電極及び前記第4の電極は、前記第1の発熱体、前記第2の発熱体、及び前記第3の発熱体よりも、前記基板の長手方向における他端側に配置されていることを特徴とする請求項1に記載の加熱装置。
【請求項6】
前記第1の発熱体は、前記長手方向に直交する短手方向において前記基板の両側に2本配置されており、前記2本の第1の発熱体の前記短手方向における内側に前記第2の発熱体と前記第3の発熱体が1本ずつ配置されていることを特徴とする請求項1に記載の加熱装置。
【請求項7】
前記長手方向において、前記第1の発熱体の領域内に前記第2の発熱体及び前記第3の発熱体が配置されていることを特徴とする請求項6に記載の加熱装置。
【請求項8】
前記短手方向において、前記2本の第1の発熱体のうちの一方の発熱体、前記第2の発熱体、前記第3の発熱体、前記2本の第1の発熱体のうちの他方の発熱体、の順で発熱体が前記基板に配置されており、前記基板の短手方向における一端側に前記2本の第1の発熱体のうちの一方の発熱体と前記第2の発熱体とが配置されており、前記基板の短手方向における他端側に前記第3の発熱体と前記2本の第1の発熱体のうちの他方の発熱体とが配置されていることを特徴とすることを特徴とする請求項7に記載の加熱装置。
【請求項9】
前記基板、前記第1の発熱体、前記第2の発熱体、及び前記第3の発熱体を含むヒータが内部空間に配置される第1の回転体と、
前記第1の回転体とともにニップ部を形成する第2の回転体と、
を備えることを特徴とする請求項1に記載の加熱装置。
【請求項10】
前記第1の回転体は筒状のフィルムであることを特徴とする請求項9に記載の加熱装置。
(【請求項11】以降は省略されています)
発明の詳細な説明
【技術分野】
【0001】
本発明は、加熱装置及び画像形成装置に関し、画像形成装置に用いる定着ヒータと、その定着ヒータを制御する制御回路に関する。
続きを表示(約 2,200 文字)
【背景技術】
【0002】
発熱源にセラミックヒータを用いた加熱装置において、発熱体の長さよりも短い幅を有する記録紙(以下、小サイズ紙という)を搬送した際、次のような現象が発生することが知られている。すなわち、発熱体の発熱領域かつ非通紙領域において、通紙領域に比べて温度が高くなってしまう現象(以下、非通紙部昇温という)が発生することが知られている。発熱領域とは発熱体が発熱する領域をいう。非通紙領域とは、発熱領域のうち小サイズ紙と接しない領域をいう。通紙領域とは、発熱領域のうち小サイズ紙と接する領域をいう。非通紙部昇温は、端部昇温ともいわれる。非通紙部昇温による温度上昇が大きくなりすぎると、セラミックヒータを支持する部材等、周囲の部材にダメージを与えてしまうおそれがある。そこで、異なる長さの発熱体を複数備え、記録紙の幅に応じた長さの発熱体を選択的に用いて非通紙部昇温を軽減することを可能にした加熱装置及び画像形成装置の提案が数多くなされている。例えば、特許文献1では、絶縁基板上に設けられ、独立して駆動することが可能な複数の発熱体の少なくとも一部の電極を共通化することによって、基板の有効利用を図ることが開示されている。また、基板両端部に設けられる電極の数を同じにして、端部に接続されるコネクタの共通化やセラミックヒータの長手方向における熱分布の均一化を図る提案がなされている。
【先行技術文献】
【特許文献】
【0003】
特開2001-100558号公報
【発明の概要】
【発明が解決しようとする課題】
【0004】
従来例では、有接点スイッチ(c接点構成の電磁リレー)によって給電する発熱体の切り替えを行う構成が記載されている。従来例の構成においてc接点構成の電磁リレーを動作させると、リレーの接点間でアーク放電が生じる。通常電磁リレーを動作させる際は、発熱体への給電を停止して(トライアックを非導通状態にして)行われる。従来例の構成では、この状態で電磁リレーの接点間に電位差があるため、トライアック両端の容量成分(配線パターンの浮遊容量やトライアック両端に配置するノイズ対策部品など)など介してアーク電流が流れるからである。電磁リレーの接点間でアーク放電が生じると、電磁ノイズを放射してEMIの課題を引き起こす、電磁リレー周辺回路を誤動作させる、などの恐れがある。また、電磁リレーの接点間でアーク放電が生じると、接点摩耗が生じ、電磁リレーの寿命ひいては装置の寿命が短くなってしまう。
【0005】
本発明はこのような状況のもとでなされたもので、有接点スイッチを用いて給電する発熱体を切り替える場合であっても、有接点スイッチ動作時にアーク放電による電磁ノイズが放射されず、接点摩耗による寿命低下が生じない装置を提供することを目的とする。
【課題を解決するための手段】
【0006】
上述した課題を解決するために、本発明は、以下の構成を備える。
【0007】
(1)基板と、第1の発熱体と、前記基板の長手方向の長さが前記第1の発熱体より短い第2及び第3の発熱体と、前記第1の発熱体に対する電力の供給をオン/オフするための第1のトライアックと、前記第2の発熱体または前記第3の発熱体に対する電力の供給をオン/オフするための第2のトライアックと、前記第2の発熱体及び前記第3の発熱体の一端側に接続された第1の接点と、前記第2の発熱体の他端側に接続された第2の接点と、前記第3の発熱体の他端側に接続された第3の接点とを有し、前記第2の発熱体に電力を供給する場合は前記第1の接点と前記第3の接点を接続し、前記第3の発熱体に電力を供給する場合は前記第1の接点と前記第2の接点を接続する有接点スイッチと、を備える加熱装置。
【0008】
(2)記録材に画像を形成する画像形成手段と、記録材上に形成された画像を加熱する前記(1)に記載の加熱装置と、を備えることを特徴とする画像形成装置。
【発明の効果】
【0009】
本発明によれば、有接点スイッチを用いて給電する発熱体を切り替える場合であっても、有接点スイッチ動作時にアーク放電による電磁ノイズが放射されず、接点摩耗による寿命低下が生じない装置を提供することができる。
【図面の簡単な説明】
【0010】
実施例1~4の画像形成装置の全体構成図
実施例1~4の画像形成装置の制御ブロック図
実施例1~4の定着装置の長手方向の中央部付近の断面模式図
実施例1に記載のヒータ及びヒータ制御回路を示す図
実施例1に記載のヒータ及びヒータ制御回路の電流経路を示す図
実施例2に記載のヒータ及びヒータ制御回路を示す図
実施例2に記載のヒータ及びヒータ制御回路の電流経路を示す図
実施例3に記載のヒータ及びヒータ制御回路を示す図
実施例3に記載のヒータ及びヒータ制御回路の電流経路を示す図
実施例4に記載のヒータ及びヒータ制御回路を示す図
実施例4に記載のヒータ及びヒータ制御回路の電流経路を示す図
【発明を実施するための形態】
(【0011】以降は省略されています)
この特許をJ-PlatPat(特許庁公式サイト)で参照する
関連特許
キヤノン株式会社
容器
1か月前
キヤノン株式会社
容器
1か月前
キヤノン株式会社
トナー
1か月前
キヤノン株式会社
トナー
1か月前
キヤノン株式会社
表示装置
5日前
キヤノン株式会社
記録装置
6日前
キヤノン株式会社
現像装置
1か月前
キヤノン株式会社
現像容器
2か月前
キヤノン株式会社
定着装置
20日前
キヤノン株式会社
撮像装置
1か月前
キヤノン株式会社
電子機器
5日前
キヤノン株式会社
雲台装置
1か月前
キヤノン株式会社
撮像装置
1か月前
キヤノン株式会社
測距装置
1か月前
キヤノン株式会社
現像装置
2か月前
キヤノン株式会社
撮像装置
14日前
キヤノン株式会社
撮像装置
1か月前
キヤノン株式会社
定着装置
20日前
キヤノン株式会社
記録装置
6日前
キヤノン株式会社
撮像装置
20日前
キヤノン株式会社
撮像装置
20日前
キヤノン株式会社
電子機器
1か月前
キヤノン株式会社
撮像装置
5日前
キヤノン株式会社
撮像装置
5日前
キヤノン株式会社
撮像装置
5日前
キヤノン株式会社
撮像装置
5日前
キヤノン株式会社
記録装置
1か月前
キヤノン株式会社
撮像装置
5日前
キヤノン株式会社
現像容器
2か月前
キヤノン株式会社
記録装置
1か月前
キヤノン株式会社
現像装置
2か月前
キヤノン株式会社
表示装置
12日前
キヤノン株式会社
電子機器
1か月前
キヤノン株式会社
撮像装置
12日前
キヤノン株式会社
撮像装置
12日前
キヤノン株式会社
撮像装置
1か月前
続きを見る
他の特許を見る