TOP
|
特許
|
意匠
|
商標
特許ウォッチ
Twitter
他の特許を見る
10個以上の画像は省略されています。
公開番号
2025179022
公報種別
公開特許公報(A)
公開日
2025-12-09
出願番号
2025077683
出願日
2025-05-08
発明の名称
攪拌器セグメントを有するエンジンナセルインレット
出願人
ザ・ボーイング・カンパニー
,
The Boeing Company
代理人
園田・小林弁理士法人
主分類
F15D
1/12 20060101AFI20251202BHJP(流体圧アクチュエータ;水力学または空気力学一般)
要約
【課題】エンジンナセルインレット内で局所的に気流を層流から乱流へ遷移させる。
【解決手段】ナセルインレット21は、内側流れ表面、外側流れ表面、及び内側流れ表面に沿って配置された攪拌器セグメント50を含む。攪拌器セグメントは、内側流れ表面61を越えて外向きに延在し、攪拌器セグメントから上流の内側流れ表面に沿った層流気流を、攪拌器セグメントから下流の乱流気流へ遷移させるように構成されている。
【選択図】図4
特許請求の範囲
【請求項1】
エンジン用のナセルインレットであって、
内側流れ表面(61)、
外側流れ表面(62)、及び
前記内側流れ表面(61)に沿って配置された攪拌器セグメント(50)を備え、
前記攪拌器セグメント(50)は、前記内側流れ表面(61)を越えて外向きに延在し、前記攪拌器セグメント(50)から上流の前記内側流れ表面(61)に沿った層流気流を、前記攪拌器セグメント(50)から下流の乱流気流へ遷移させるように構成されている、ナセルインレット。
続きを表示(約 1,100 文字)
【請求項2】
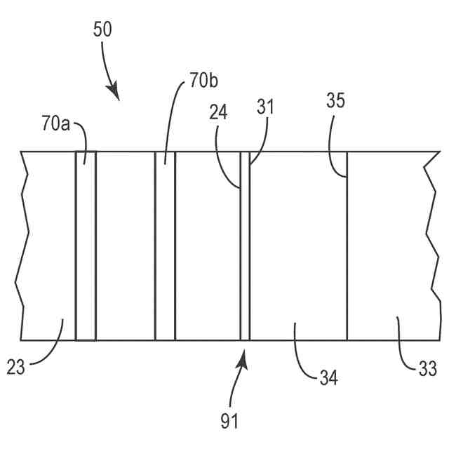
前記攪拌器セグメント(50)は、前記内側流れ表面(61)に接続されたストリップ(70)であり、前記ストリップ(70)は、前記内側流れ表面(61)に向けて配置された内面(74)、反対側の外面(75)、前縁(72)、及び後縁(73)を備える、請求項1に記載のナセルインレット。
【請求項3】
前記ストリップ(70)は、前記ナセルインレットの周りを完全に囲んで延在する、請求項2に記載のナセルインレット。
【請求項4】
前記ストリップ(70)は、間隙によって間隔を空けられた複数の離散したセクション(76)を備える、請求項2に記載のナセルインレット。
【請求項5】
前記攪拌器セグメント(50)は、複数のファスナ(77)を備え、前記複数のファスナ(77)は、前記内側流れ表面(61)を越えて外向きに延在するヘッド(78)を備える、請求項1に記載のナセルインレット。
【請求項6】
前記ヘッド(78)は、前記ナセルインレットの周りを囲む列内に整列する、請求項5に記載のナセルインレット。
【請求項7】
前記攪拌器セグメント(50)は、前記内側流れ表面(61)とは異なる材料から構築された1以上の部材上に形成されている、請求項1に記載のナセルインレット。
【請求項8】
前記攪拌器セグメント(50)は、
1以上のストリップ(70)、及び
前記1以上のストリップ(70)を貫通して前記内側流れ表面(61)へ延在するファスナ(77)を備える、請求項1に記載のナセルインレット。
【請求項9】
エンジン用のナセルインレットであって、
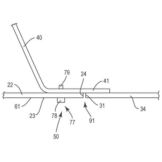
前記ナセルインレットの前端に配置されたリップスキン(22)であって、内側リップスキン縁部(24)まで延在するリップスキン内側流れ表面(23)を備えるリップスキン(22)、
前記リップスキン内側流れ表面(23)から下流に配置されている内側バレル(30)、
前記内側リップスキン縁部(24)と前記内側バレル(30)の前縁(31)との間に形成されたジョイント(91)、及び
前記ジョイント(91)から上流の前記リップスキン内側流れ表面(23)に配置された攪拌器セグメント(50)であって、前記内側バレル(30)から熱を引き出すために、層流気流を前記ジョイントから下流の乱流気流へ遷移させるように構成された攪拌器セグメント(50)を備える、ナセルインレット。
【請求項10】
前記内側バレル(30)は、複合材料から構築された内側バレル構造プライ(32)を備える、請求項9に記載のナセルインレット。
(【請求項11】以降は省略されています)
発明の詳細な説明
【技術分野】
【0001】
[0001] 本開示は、広くは、エンジンナセルの分野に関し、特に、冷却を促進するためにエンジンナセルインレット内で気流を層流から乱流へ遷移させる分野に関する。
続きを表示(約 1,400 文字)
【背景技術】
【0002】
[0002] エンジンナセルは、航空機のエンジンの周りに延在するハウジングである。ナセルは、空気をエンジンに誘導するインレットを含む。ナセルインレットは、ガスタービンエンジンなどのエンジンが異物を吸い込まないように保護する役割を果たす。ナセルインレットは、空気をエンジンに誘導するように更に構成されている。ナセルインレットは、航空機の使用中に氷結を防止するために加熱される。インレットの加熱のための1つの方法は、加熱された空気をエンジンからナセルインレットの1以上の内装セクションへ誘導することによって行われる。加熱における問題は、ナセルインレットの1以上のセクションが、過剰な高温に達し得ることである。過剰な高温になる可能性があるナセルインレットの1つの場所は、ナセルインレットの内側流れ表面に沿っている。
【0003】
[0003] ナセルインレットの1以上のセクションの冷却は、ナセルインレットを通ってエンジンに入る空気への熱伝達の結果として生じる。空気が表面に沿って流れる作用の結果として、1以上のセクションから熱が引き出され、表面温度が下がる。ナセルインレットの内側流れ表面は、1以上のセクションにわたり層流気流を促進するように構成されている。しかし、境界層は、比較的動きが遅く、加熱されたリップスキンから引き出された熱を保持し、この熱を下流に運ぶ。乱流気流は、隣接するより冷たい気流との混合を促進することによって、この境界層の熱伝達効果を乱し、それによって、下流の隣接する構造物への熱伝達を減少させる。
【0004】
[0004] したがって、加熱されたセクションの下流の隣接する構造物の過剰な高温を低減させるために、ナセルインレット内で局所的に気流を層流から乱流へ遷移させることが必要である。
【発明の概要】
【0005】
[0005] 一態様は、エンジン用のナセルインレットを対象とする。ナセルインレットは、内側流れ表面、外側流れ表面、及び内側流れ表面に沿って配置された攪拌器セグメントを備える。攪拌器セグメントは、内側流れ表面を越えて外向きに延在し、攪拌器セグメントから上流の内側流れ表面に沿った層流気流を、攪拌器セグメントから下流の乱流気流へ遷移させるように構成されている。
【0006】
[0006] 別の一態様では、攪拌器セグメントが、内側流れ表面に接続されたストリップである。該ストリップは、内側流れ表面に向けて配置された内面、反対側の外面、前縁、及び後縁を備える。
【0007】
[0007] 別の一態様では、ストリップが、ナセルインレットの周りを完全に囲んで延在する。
【0008】
[0008] 別の一態様では、ストリップが、間隙によって間隔を空けられた複数の離散したセクションを備える。
【0009】
[0009] 別の一態様では、攪拌器セグメントが、複数のファスナを備える。複数のファスナは、内側流れ表面を越えて外向きに延在するヘッドを備える。
【0010】
[0010] 別の一態様では、ヘッドが、ナセルインレットの周りを囲む列内に整列する。
(【0011】以降は省略されています)
この特許をJ-PlatPat(特許庁公式サイト)で参照する
関連特許
豊和工業株式会社
クランプ装置
7か月前
株式会社豊田自動織機
流体圧シリンダ
3か月前
株式会社不二越
電磁切替弁
3か月前
三和テッキ株式会社
油圧アクチュエータ
2か月前
株式会社コスメック
シリンダ装置
4か月前
株式会社不二越
油圧システム
6か月前
個人
省エネ改良型油圧リバースブースター
3か月前
SMC株式会社
増圧装置
1か月前
学校法人東海大学
流れ制御装置
7か月前
日立建機株式会社
作業機械
8か月前
日立建機株式会社
作業機械
2か月前
日立建機株式会社
作業機械
2か月前
株式会社不二越
油圧駆動システム
3か月前
CKD株式会社
パルスエア発生装置
27日前
ナブテスコ株式会社
方向切換弁装置
6か月前
ナブテスコ株式会社
方向切換弁装置
1か月前
日立建機株式会社
油圧駆動装置
8か月前
住友建機株式会社
ショベルの制御方法
5か月前
学校法人 中央大学
人工筋アクチュエータ装置
4か月前
株式会社WGE
増圧装置
1か月前
株式会社LIXIL
脈動流生成装置及び建築設備
6か月前
アズビル株式会社
パイロットリレー及びポジショナ
3か月前
コベルコ建機株式会社
建設機械の油圧駆動装置
8か月前
カヤバ株式会社
流体圧制御装置
8か月前
ナブテスコ株式会社
ロータリーアクチュエータ
6か月前
日立建機株式会社
油圧システム
2か月前
カヤバ株式会社
流体圧制御装置
2か月前
CKD株式会社
アクチュエータの動作検出装置
6か月前
インペリアルテクノサービス株式会社
二段シリンダ
11日前
カヤバ株式会社
インレットハウジング
6か月前
株式会社クボタ
作業機及び作業機の制御方法
2か月前
中本パックス株式会社
気体圧装置
4か月前
日立建機株式会社
分別回収システム
2か月前
株式会社コガネイ
圧縮空気供給装置
4か月前
株式会社東和製作所
シリンダ伸縮反転用バルブユニット
3か月前
カヤバ株式会社
流体圧シリンダユニット
6か月前
続きを見る
他の特許を見る