TOP
|
特許
|
意匠
|
商標
特許ウォッチ
Twitter
他の特許を見る
公開番号
2025179014
公報種別
公開特許公報(A)
公開日
2025-12-09
出願番号
2025068969
出願日
2025-04-18
発明の名称
直流電圧系統における故障電流を制限するための装置および方法
出願人
シーメンス エナジー グローバル ゲゼルシャフト ミット ベシュレンクテル ハフツング ウント コンパニー コマンディートゲゼルシャフト
,
SIEMENS ENERGY GLOBAL GMBH & CO. KG
代理人
弁理士法人山口・竹本知的財産事務所
,
個人
,
個人
,
個人
主分類
H02J
1/00 20060101AFI20251202BHJP(電力の発電,変換,配電)
要約
【課題】直流送配電装置の運転中にできるだけ損失が少なく、且つ、信頼性のある装置及び本装置を用いて故障電流を制限するための方法を提供する。
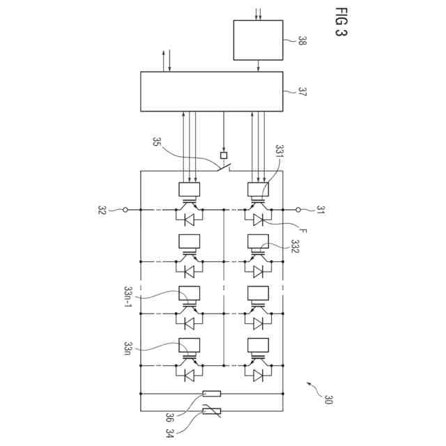
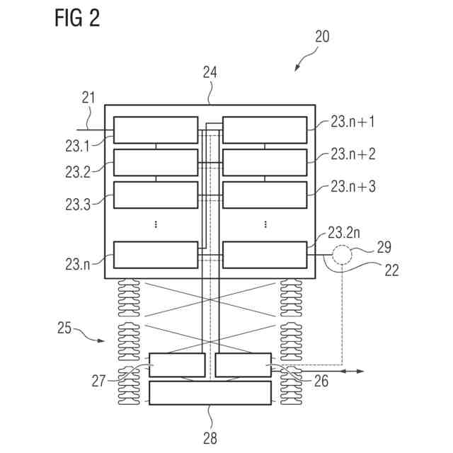
【解決手段】直流電圧回路(6~9)において故障電流を制限するための装置(20)であって、収容装置(24)内に電流制限モジュール(23.1~23.2n)の直列接続を備え、各電流制限モジュールが、複数のパワー半導体スイッチ(331~33n)およびパワー半導体に並列に接続されたサージアレスタ(34)を備え、パワー半導体スイッチを異なるゲート‐エミッタ電圧を用いて作動させるように制御する制御装置(26、37)と、電流制限モジュールにエネルギを供給するための電源装置(27)と、電流制限モジュール又はそのパワー半導体を冷却するための冷却装置(28)と、装置における電流および/または電圧などの測定量を検出するための測定装置(29)と、さらに備える。
【選択図】図2
特許請求の範囲
【請求項1】
直流電圧回路において故障電流を制限するための装置(20)であって、電流制限モジュール(23.1~23.2n)の直列接続を備え、各電流制限モジュール(23)が複数のパワー半導体スイッチ(331~33n)および前記パワー半導体(331~33n)に並列に接続されたサージアレスタ(34)を備える装置において、
前記パワー半導体スイッチ(331~33n)を制御するための制御装置(26)であって、前記パワー半導体スイッチ(331~33n)を異なるゲート‐エミッタ電圧を用いて作動させるように構成されている制御装置(26)、を特徴とする装置(20)。
続きを表示(約 1,200 文字)
【請求項2】
前記制御装置(26)が、電流制限モジュール(23.1~23.2n)の少なくとも1つの第1のパワー半導体スイッチ(331~33n)を公称ゲート‐エミッタ電圧に対応する第1のゲート‐エミッタ電圧を用いて作動させるように、及び、同じ電流制限モジュール(23.1~23.2n)の少なくとも1つの第2のパワー半導体スイッチ(331~33n)を前記公称ゲート‐エミッタ電圧よりも高い値の第2のゲート‐エミッタ電圧を用いて作動させるように、構成されている、請求項1に記載の装置(20)。
【請求項3】
少なくとも1つの電流制限モジュール(23.1~23.2n)が、直列接続で配置されている少なくとも2つのパワー半導体スイッチ(331~33n)を備える、請求項1または2に記載の装置(20)。
【請求項4】
少なくとも1つの電流制限モジュール(23.1~23.2n)が、互いに逆直列に配置されている少なくとも2つのパワー半導体スイッチ(331~33n)を備える、請求項1から3のいずれか1項に記載の装置(20)。
【請求項5】
少なくとも1つの電流制限モジュール(23.1~23.2n)が、互いに並列接続状態で配置されている少なくとも2つのパワー半導体スイッチ(331~33n)を備える、請求項1から4のいずれか1項に記載の装置(20)。
【請求項6】
少なくとも1つの電流制限モジュール(23.1~23.2n)が、少なくとも4つのパワー半導体スイッチ(331~33n)を備え、当該少なくとも4つのパワー半導体スイッチは、それぞれ互いに逆直列に配置された2つのパワー半導体スイッチ(331~33n)の並列接続状態で配置されている、請求項1から5のいずれか1項に記載の装置(20)。
【請求項7】
少なくとも1つの電流制限モジュール(23.1~23.2n)が、故障時に前記電流制限モジュール(23.1~23.2n)をバイパスするためのバイパススイッチ(35)を備える、請求項1から6のいずれか1項に記載の装置(20)。
【請求項8】
少なくとも1つの電流制限モジュール(23.1~23.2n)が、前記サージアレスタに対して並列接続状態の並列抵抗器(36)を備える、請求項1から7のいずれか1項に記載の装置(20)。
【請求項9】
前記装置が前記電流制限モジュール(23.1~23.2n)にエネルギを供給するための電源装置(27)を備え、当該電源装置(27)は前記電流制限モジュール(23.1~23.2n)から電気的に絶縁されている、請求項1から8のいずれか1項に記載の装置(20)。
【請求項10】
前記パワー半導体スイッチ(331~33n)が、能動的冷却を用いて放熱可能である、請求項1から9のいずれか1項に記載の装置(20)。
(【請求項11】以降は省略されています)
発明の詳細な説明
【技術分野】
【0001】
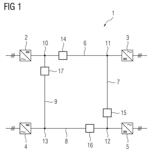
本発明は、直流電圧回路における故障電流を制限するための、複数の電流制限モジュールの直列接続を備えた装置に関し、各電流制限モジュールは、複数のパワー半導体スイッチおよびこれらのパワー半導体に並列に接続された1つのサージアレスタを備える。
続きを表示(約 1,900 文字)
【0002】
直流電圧ベースの送・配電系統(ポイントtoポイント系統、マルチターミナル系統およびメッシュ系統)の運転にとって、故障電流を制限または抑制するための装置(これらはしばしば直流遮断器または直流故障分離デバイスと呼ばれる)は重要である。交流電圧/電流とは対照的に、直流電圧系統には自然な電流ゼロクロスは存在せず、したがって、この利用のためには特定の解決手法が必要となる。直流遮断器/直流故障分離デバイスに対しては、これらが小さい順方向損失を有することが、特に重要である。故障電流を抑制するために、パワーエレクトロニクスを利用した複数の装置を使用することができ、これらでは、上述の順方向損失の最小化に加えて、複数の半導体の並列接続および直列接続に起因するディレーティングの回避も技術的課題である。
【0003】
冒頭で述べた装置は特許文献1から知られている。この公知の装置はパワーエレクトロニクス直流遮断器を備え、このパワーエレクトロニクス直流遮断器は、複数の半導体スイッチング素子の直列接続およびこのスイッチの直列接続に電気的に並列に接続された1つのフライホイール経路を備え、当該複数の半導体スイッチング素子はそれぞれ1つのパワーエレクトロニクススイッチおよび1つのサージアレスタを有している。この公知の解決策が、動作電流経路(正常動作中に動作電流が流れる経路)に機械的スイッチを有する直流遮断器と異なるのは、この公知の直流遮断器では動作電流経路に複数のパワー半導体スイッチが配置されていることである。
【先行技術文献】
【特許文献】
【0004】
独国特許出願公開第10 2015 211 339 A1号明細書
国際公開第2012/107010 A1号パンフレット
【発明の概要】
【発明が解決しようとする課題】
【0005】
本発明の課題は、冒頭に述べた装置であって、運転中にできるだけ損失が少なく、且つ、信頼性のある装置を提供することにある。
【課題を解決するための手段】
【0006】
この課題は請求項1の特徴による装置によって解決される。
【0007】
本発明によれば、この装置は、複数のパワー半導体スイッチを制御するための制御装置を備え、当該制御装置は、パワー半導体スイッチを異なるゲート‐エミッタ電圧を用いて作動させるように、構成されている。すなわち、この制御装置は、制御信号を用いて複数のパワー半導体スイッチをスイッチオンまたはオフするように構成されている(この目的のために、この制御装置は関連するパワー半導体スイッチのそれぞれのゲートに接続されている)。これらのパワー半導体スイッチは、例えばIGBT、IGCT、MOSFET、JFET、および、SiCベースまたはGaNベースのパワー半導体スイッチなどの、好ましくはオフに切り替えることができるパワー半導体スイッチである。
【0008】
本発明は、パワー半導体におけるコレクタ‐エミッタ電圧UCEが(またしたがって、順方向損失も)、一般に、(少なくとも約2.5kAまでの電流については)印加されているゲート‐エミッタ電圧UGEに依存するという知見を利用する。特に、電圧UCEは、一般に、電圧UGEが上げられると、低下する。上昇したUGEを有する半導体スイッチの動作は例えば特許文献2に記載されている。
【0009】
しかしながら、本発明によれば、全てのパワー半導体スイッチが1つの(および同一の)上昇された電圧UGEによって作動されるのではない。そうではなく、これら複数のパワー半導体スイッチは、その装置の信頼性を高めるために、異なるゲート‐エミッタ電圧によって制御されて作動される。
【0010】
適切には、ゲート‐エミッタ電圧は、正の電圧に対して18V~35Vの間ある、或いは、負の電圧に対して0V~-15Vの間にある。パワー半導体スイッチがオフ状態のとき、コレクタ‐エミッタ電圧UCEは1kV~10kVの値を取ることができる。順方向電圧は、例えば10Vまでの値を取ることができる。全ての電流制限モジュールの起動または停止に加えて、この制御装置は、特には、例えば電流をゆるやかに抑制するためにまたは電流を最大値で制限するために、これらのモジュールの一部のみを作動させるように構成されている。
(【0011】以降は省略されています)
この特許をJ-PlatPat(特許庁公式サイト)で参照する
関連特許
個人
電気を重力で発電装置
1か月前
個人
高圧電気機器の開閉器
20日前
キヤノン電子株式会社
モータ
1か月前
株式会社東光高岳
充電器
今日
トヨタ自動車株式会社
モータ
1か月前
株式会社アイドゥス企画
減反モータ
20日前
株式会社デンソー
端子台
13日前
株式会社デンソー
回転電機
4日前
株式会社ダイヘン
送配電装置
4日前
本田技研工業株式会社
回転電機
6日前
ローム株式会社
半導体集積回路
11日前
富士電機株式会社
電力変換装置
4日前
株式会社不二越
空冷式油圧装置
4日前
富士電機株式会社
電力変換装置
4日前
株式会社TMEIC
制御装置
12日前
矢崎総業株式会社
電源回路
19日前
株式会社東光高岳
充電対象切換システム
今日
株式会社日立製作所
回転電機
11日前
矢崎総業株式会社
給電装置
12日前
大和ハウス工業株式会社
敷設用機器
12日前
個人
非対称鏡像力を有する4層PWB電荷搬送体
27日前
株式会社イノコンバンク
無線給電システム
4日前
トヨタ自動車株式会社
ステータの製造装置
1か月前
ローム株式会社
モータドライバ回路
27日前
日産自動車株式会社
ロータシャフト
27日前
日産自動車株式会社
ロータシャフト
27日前
サンデン株式会社
モータ
5日前
サンデン株式会社
モータ
5日前
トヨタ自動車株式会社
可変界磁ロータ
1か月前
株式会社土井製作所
ケーブル保護管路
11日前
西芝電機株式会社
緊急切断方法及び軸発電機
今日
株式会社アイシン
電力変換装置
1か月前
京商株式会社
模型用非接触電力供給システム
20日前
株式会社TMEIC
電力変換装置
12日前
多摩川精機株式会社
モータ
4日前
株式会社豊田自動織機
電力供給システム
1か月前
続きを見る
他の特許を見る