TOP
|
特許
|
意匠
|
商標
特許ウォッチ
Twitter
他の特許を見る
公開番号
2025179005
公報種別
公開特許公報(A)
公開日
2025-12-09
出願番号
2025049307
出願日
2025-03-25
発明の名称
12誘導心電図信号の不整脈分類方法およびこれを行うための装置
出願人
アジョウ・ユニバーシティ・インダストリー-アカデミック・コーポレイション・ファウンデイション
,
AJOU UNIVERSITY INDUSTRY-ACADEMIC COOPERATION FOUNDATION
代理人
個人
主分類
A61B
5/363 20210101AFI20251202BHJP(医学または獣医学;衛生学)
要約
【課題】12誘導心電図信号の不整脈分類方法およびこれを行うための装置が開示される。
【解決手段】本発明の一実施形態による12誘導心電図信号の不整脈分類を行うための装置は、1つ以上のプロセッサと、前記1つ以上のプロセッサによって実行される1つ以上のプログラムを記憶するメモリを備えるコンピューティング装置であって、12誘導心電図信号の入力を受けるデータ入力モジュールと、前記入力された12誘導心電図信号に基づいて機械学習(Machine Learning)ベースの技術を使用して前記12誘導心電図信号についての分類結果を出力する分類モジュールと、を含む。
【選択図】図1
特許請求の範囲
【請求項1】
1つ以上のプロセッサと、
前記1つ以上のプロセッサによって実行される1つ以上のプログラムを記憶するメモリを備えるコンピューティング装置であって、
12誘導心電図信号の入力を受けるデータ入力モジュールと、
前記入力された12誘導心電図信号に基づいて機械学習(Machine Learning)ベースの技術を使用して前記12誘導心電図信号についての分類結果を出力する分類モジュールと、を含むコンピューティング装置。
続きを表示(約 2,100 文字)
【請求項2】
前記分類モジュールは、
前記12誘導心電図信号の入力を受け、前記12誘導心電図信号に基づいて不整脈情報を分類するように学習される人工ニューラルネットワークモデルを含む請求項1に記載のコンピューティング装置。
【請求項3】
前記人工ニューラルネットワークモデルは、
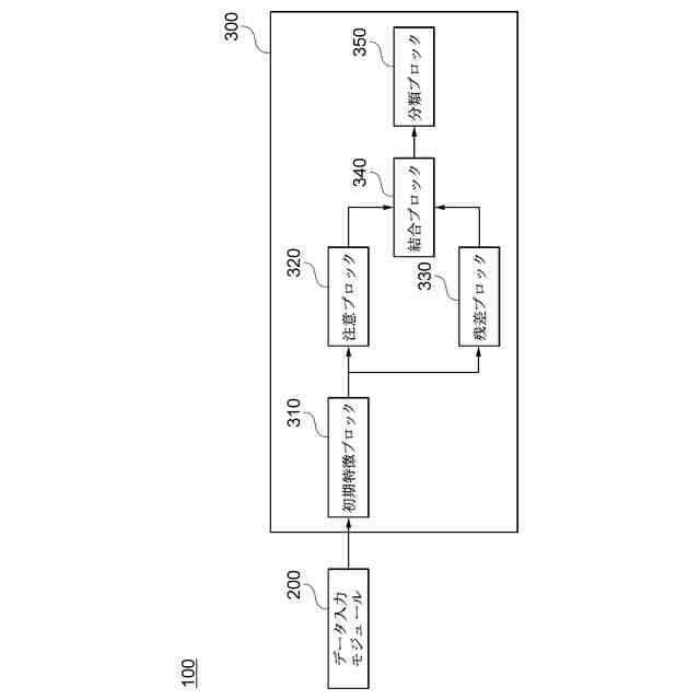
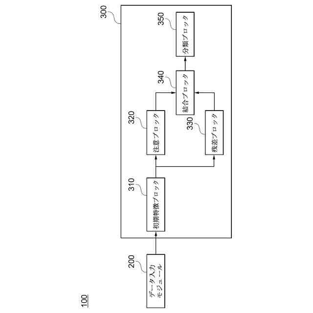
前記入力された12誘導心電図信号に基づいて畳み込み演算を通じて初期特徴マップを出力する初期特徴ブロックと、
前記初期特徴ブロックから出力された初期特徴マップに基づいて要素ごとの重み演算を通じて集中特徴マップを出力する注意ブロックと、
前記初期特徴ブロックから出力された初期特徴マップに基づいてショートカット演算を通じて深い特徴マップを出力する残差ブロックと、
前記注意ブロックから出力された集中特徴マップおよび前記残差ブロックから出力された深い特徴マップを結合して最終特徴マップを出力する結合ブロックと、
前記結合ブロックから出力された最終特徴マップに基づいて不整脈の種類を分類する分類ブロックと、を含む請求項2に記載のコンピューティング装置。
【請求項4】
前記注意ブロックは、
前記初期特徴ブロックから出力された前記初期特徴マップに対して最大プーリングレイヤーおよび平均プーリングレイヤーを通じて最大プーリングおよび平均プーリングを並列に行い、前記最大プーリングレイヤーおよび前記平均プーリングレイヤーを通じて出力された各プーリング結果を第1結合レイヤーを通じて結合を行って重み特徴マップを出力し、第2結合レイヤーを通じて前記初期特徴マップと前記重み特徴マップ間の結合を行って集中特徴マップを出力する請求項3に記載のコンピューティング装置。
【請求項5】
前記残差ブロックは、
前記初期特徴ブロックから出力された前記初期特徴マップの特徴を反映するように順次連結されたN個(Nは、2以上の自然数)の短い残差ブロックを含むように構成され、
前記N個の短い残差ブロックは、
前の特徴マップ(N-1番目の短い残差ブロックから出力された特徴マップ)が入力され、畳み込みレイヤーを通じて前記前の特徴マップから新しい特徴マップを出力し、第3結合レイヤーを通じて前記前の特徴マップおよび前記新しい特徴マップを結合して出力する請求項4に記載のコンピューティング装置。
【請求項6】
前記第1結合レイヤーおよび前記第3結合レイヤーは、要素ごとの和(Element-Wise Sum)を使用し、
前記第2結合レイヤーは、要素ごとの積(Element-Wise Multiplication)を使用する請求項5に記載のコンピューティング装置。
【請求項7】
前記分類ブロックは、
前記最終特徴マップに対してグローバル最大プーリングレイヤーおよびグローバル平均プーリングレイヤーを通じてグローバル最大プーリングおよびグローバル平均プーリングを並列に行い、前記グローバル最大プーリングレイヤーおよび前記グローバル平均プーリングレイヤーを通じて出力された各プーリング結果を連結レイヤーを通じて連結を行う請求項3に記載のコンピューティング装置。
【請求項8】
1つ以上のプロセッサと、
前記1つ以上のプロセッサによって実行される1つ以上のプログラムを記憶するメモリを備えるコンピューティング装置で行われる方法であって、
12誘導心電図信号の入力を受けるステップと、
前記入力された12誘導心電図信号に基づいて機械学習(Machine Learning)ベースの技術を使用して前記12誘導心電図信号についての分類結果を出力するステップと、を含む12誘導心電図信号の不整脈分類方法。
【請求項9】
前記分類結果を出力するステップは、
人工ニューラルネットワークモデルを通じて前記12誘導心電図信号の入力を受け、前記12誘導心電図信号に基づいて不整脈情報を分類する請求項8に記載の12誘導心電図信号の不整脈分類方法。
【請求項10】
前記分類するステップは、
初期特徴ブロックにより、前記入力された12誘導心電図信号に基づいて畳み込み演算を通じて初期特徴マップを出力するステップと、
注意ブロックにより、前記出力された初期特徴マップに基づいて要素ごとの重み演算を通じて集中特徴マップを出力するステップと、
残差ブロックにより、前記出力された初期特徴マップに基づいてショートカット演算を通じて深い特徴マップを出力するステップと、
結合ブロックにより、前記出力された集中特徴マップおよび前記出力された深い特徴マップを結合して最終特徴マップを出力するステップと、
分類ブロックにより、前記出力された最終特徴マップに基づいて不整脈の種類を分類するステップと、をさらに含む請求項9に記載の12誘導心電図信号の不整脈分類方法。
(【請求項11】以降は省略されています)
発明の詳細な説明
【技術分野】
【0001】
本発明の実施形態は、心電図信号から不整脈を分類する技術に関する。
続きを表示(約 1,500 文字)
【背景技術】
【0002】
世界保健機関(WHO)によると、心疾患によって年間世界の数百万の人口が死亡に至るという。心疾患の有無を検査する方法として知られる心電図検査は、皮膚に電極を付着させて心拍周期中に心臓で現れる電気的活動状態を感知して記録する非侵襲的で最もよく知られた検査方法である。一般に、腕と脚、そして胸部に付着した10個の電極を用いて12個の心電図信号を取得して分析することによって、不整脈などの心疾患の有無を判断する。
【0003】
従来は、患者ごとに記録された心電図信号の記録を通じて医師が心疾患を判断しており、最近、心電図信号の分析および診断にディープラーニングを用いた試みが増えている。
【0004】
従来の心電図信号の分析および診断ディープラーニング技術は、シングルリード心電図信号から時間-周波数特徴を抽出して心不整脈を分類したが、いくつかの心不整脈は、特定の心電図チャネルでのみ観察されるため、分類しようとする心不整脈の種類に応じて分類精度が減少する可能性がある。
【0005】
したがって、正確な心不整脈の診断のためには、12個のチャネルで得られた心電図信号を統合的かつ綿密に確認する必要がある。すなわち、不整脈の種類によって12誘導を通じて測定される心電図信号が異なるため、患者の不整脈を正確に判断するためには、12個のチャネルで得られた心電図信号を統合的に分析する必要がある。
【先行技術文献】
【特許文献】
【0006】
韓国登録特許公報第10-2163217号(2020.09.29.)
【発明の概要】
【発明が解決しようとする課題】
【0007】
本発明の実施形態は、機械学習技術を用いて標準の12誘導心電図信号から不整脈を分類する方法を提供するためのものである。
【課題を解決するための手段】
【0008】
本発明の例示的な実施形態によると、1つ以上のプロセッサと、前記1つ以上のプロセッサによって実行される1つ以上のプログラムを記憶するメモリを備えるコンピューティング装置であって、12誘導心電図信号の入力を受けるデータ入力モジュールと、前記入力された12誘導心電図信号に基づいて機械学習(Machine Learning)ベースの技術を使用して前記12誘導心電図信号についての分類結果を出力する分類モジュールと、を含むコンピューティング装置が提供される。
【0009】
前記分類モジュールは、前記12誘導心電図信号の入力を受け、前記12誘導心電図信号に基づいて不整脈情報を分類するように学習される人工ニューラルネットワークモデルを含み得る。
【0010】
前記人工ニューラルネットワークモデルは、前記入力された12誘導心電図信号に基づいて畳み込み演算を通じて初期特徴マップを出力する初期特徴ブロックと、前記初期特徴ブロックから出力された初期特徴マップに基づいて要素ごとの重み演算を通じて集中特徴マップを出力する注意ブロックと、前記初期特徴ブロックから出力された初期特徴マップに基づいてショートカット演算を通じて深い特徴マップを出力する残差ブロックと、前記注意ブロックから出力された集中特徴マップおよび前記残差ブロックから出力された深い特徴マップを結合して最終特徴マップを出力する結合ブロックと、前記結合ブロックから出力された最終特徴マップに基づいて不整脈の種類を分類する分類ブロックと、を含み得る。
(【0011】以降は省略されています)
この特許をJ-PlatPat(特許庁公式サイト)で参照する
関連特許
個人
貼付剤
1か月前
個人
簡易担架
25日前
個人
腋臭防止剤
25日前
個人
短下肢装具
4か月前
個人
足踏み器具
1か月前
個人
排尿補助器具
1か月前
個人
嚥下鍛錬装置
5か月前
個人
前腕誘導装置
4か月前
個人
歯の修復用材料
5か月前
個人
ウォート指圧法
1か月前
個人
アイマスク装置
3か月前
個人
汚れ防止シート
2か月前
個人
腰ベルト
1か月前
個人
水分吸収性物品
4日前
個人
矯正椅子
6か月前
個人
バッグ式オムツ
5か月前
個人
テスト肺
6日前
個人
胸骨圧迫補助具
3か月前
個人
介護移乗アシスト
4日前
個人
歯の保護用シール
6か月前
個人
シャンプー
7か月前
個人
湿布連続貼り機。
3か月前
個人
美容セット
1か月前
個人
排尿排便補助器具
27日前
個人
哺乳瓶冷まし容器
4か月前
個人
陣痛緩和具
5か月前
株式会社大野
骨壷
5か月前
株式会社八光
剥離吸引管
6か月前
個人
エア誘導コルセット
3か月前
株式会社コーセー
化粧料
1か月前
個人
性行為補助具
4か月前
個人
治療用酸化防御装置
2か月前
株式会社GSユアサ
歩行器
6か月前
株式会社ニデック
検眼装置
5か月前
個人
こむら返り応急治し具
1か月前
株式会社ニデック
眼科装置
5か月前
続きを見る
他の特許を見る