TOP
|
特許
|
意匠
|
商標
特許ウォッチ
Twitter
他の特許を見る
公開番号
2025178996
公報種別
公開特許公報(A)
公開日
2025-12-09
出願番号
2024206355
出願日
2024-11-27
発明の名称
物の3次元構造を非破壊的に取得する光学式走査システム
出願人
芯聖科技股ふん有限公司
,
OPXION TECHNOLOGY INC.
代理人
個人
,
個人
主分類
G01N
21/17 20060101AFI20251202BHJP(測定;試験)
要約
【課題】物の3次元構造を非破壊的に取得する光学式走査システムを提供する。
【解決手段】第1光軸方向に沿う光束を生成するように配置される光学画像処理装置と、第1光軸方向に沿う光束を第2光軸方向に沿う光束に変換し、第2光軸方向に沿う光束を用いて検査対象物をスキャンするように配置される光学走査装置と、を備え、光学画像処理装置は、光学走査装置により、検査対象物をX軸方向およびY軸方向に沿ってスキャンし、異なる位置での連続するYZ断面構造画像およびXZ断面構造画像を取得し、3次元構造画像を再建する、物の3次元構造を非破壊的に取得する光学式走査システムを提供する。これにより、本発明は、3次元構造の内部を非破壊的に観察できないこと、および検査装置のコストが高いという問題を解決できる。
【選択図】図1A
特許請求の範囲
【請求項1】
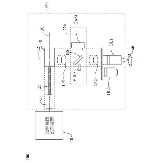
第1光軸方向に沿う光束を生成するように配置される光学画像処理装置と、
前記光学画像処理装置に連結され、前記第1光軸方向に沿う光束を第2光軸方向に沿う光束に変換し、前記第2光軸方向に沿う光束を用いて検査対象物をスキャンするように配置される光学走査装置と、を備え、
前記光学画像処理装置は、前記光学走査装置により、前記検査対象物をY軸方向に沿ってスキャンして対応するYZ断面構造画像を取得する場合、X軸方向に沿ってスキャンして対応するYZ断面構造画像を取得し、
前記光学画像処理装置は、前記光学走査装置により、前記検査対象物をX軸方向に沿ってスキャンして対応するXZ断面構造画像を取得する場合、Y軸方向に沿ってスキャンして対応するXZ断面構造画像を取得し、
前記光学画像処理装置は、異なる位置での連続するYZ断面構造画像または異なる位置での連続するXZ断面構造画像に基づき、前記検査対象物に対応する3次元構造画像を再建する、物の3次元構造を非破壊的に取得する光学式走査システム。
続きを表示(約 1,300 文字)
【請求項2】
前記光学走査装置は、更に、
前記第1光軸方向に沿う光束を、前記第1光軸方向に平行な光束に変換するように配置されるコリメータと、
前記第1光軸方向と前記第2光軸方向の交差点に配置され、前記第1光軸方向に平行な光束を、前記第2光軸方向に平行な光束に変換するように設置される光束スキャナと、
前記第2光軸方向に設置され、前記第2光軸方向に平行な光束を拡散または収束させるように配置される第1レンズセットと、
前記第2光軸方向に設置され、前記検査対象物に対応する2次元構造画像を取得するように配置される可視光カメラモジュールと、
前記第2光軸方向に設置され、前記第2光軸方向に平行な光束を拡散または収束させるように配置される第2レンズセットと、
前記第2光軸方向における前記第2レンズセットの側に設置され、前記第2光軸方向に平行な光束を収束して前記検査対象物に照射するように配置されるオブジェクトミラーモジュールと、を備える、請求項1に記載の物の3次元構造を非破壊的に取得する光学式走査システム。
【請求項3】
前記可視光カメラモジュールは、カメラ、可視光光源、および分光器から構成され、前記分光器は、第2光軸方向に設置される、請求項2に記載の物の3次元構造を非破壊的に取得する光学式走査システム。
【請求項4】
前記カメラと前記可視光光源は、前記分光器の両側にそれぞれ設置される、請求項3に記載の物の3次元構造を非破壊的に取得する光学式走査システム。
【請求項5】
前記可視光光源は、前記オブジェクトミラーモジュールに隣設され、検査対象物を照明するように用いられる、請求項3に記載の物の3次元構造を非破壊的に取得する光学式走査システム。
【請求項6】
前記可視光光源は、前記検査対象物の底面に隣設され、検査対象物を照明するように用いられる、請求項3に記載の物の3次元構造を非破壊的に取得する光学式走査システム。
【請求項7】
前記オブジェクトミラーモジュールは、フォーカス倍率が調整できる、請求項2に記載の物の3次元構造を非破壊的に取得する光学式走査システム。
【請求項8】
前記光学走査装置に連結され、前記光学走査装置を前記第2光軸方向から所定の角度に傾ける転向装置をさらに備える、請求項1に記載の物の3次元構造を非破壊的に取得する光学式走査システム。
【請求項9】
前記光学画像処理装置は、前記YZ断面構造画像または前記XZ断面構造画像に基づき、前記検査対象物の厚さを取得する、請求項1に記載の物の3次元構造を非破壊的に取得する光学式走査システム。
【請求項10】
前記検査対象物は、複数の貫通穴(Through Glass Via,TGV)を有するガラス基板である場合、前記光学画像処理装置は、Z軸方向に異なる位置での連続するXY断面構造画像から、前記TGVにブロッキングおよび/または欠陥があるかを確認する、請求項1に記載の物の3次元構造を非破壊的に取得する光学式走査システム。
発明の詳細な説明
【技術分野】
【0001】
本発明は、光学式走査システムに関し、特に、物の3次元構造を非破壊的に取得する光学式走査システムに関するものである。
続きを表示(約 1,700 文字)
【背景技術】
【0002】
半導体の分野において、ガラス基板に細孔を加工して貫通穴(Through Glass Via,TGV)を形成し、貫通穴の内部および外部に微細な金属配線を形成させることにより、チップ間の垂直方向での電気的結合を実現できる技術が開発された。TGVの孔径が小さく深さが増やすことにより、半導体装置の電極密度および積層数を増加させ、半導体装置の小型化を図ることができる。
【0003】
しかし、TGVの製造完了後、欠陥が発見されることが頻繁にある。したがって、TGVの品質に対する検査が必要となる。
【0004】
現行のTGVの検査において、ガラス基板を切断し、得られた断面を光学顕微鏡で検査することにより、TGVの品質を確認する方法が挙げられる。しかし、この検査方法は破壊的であり、TGVの製造コストを比較的に増大させる。
【0005】
また、TGVの表面構造を光学顕微鏡で観察する方法が挙げられる。しかし、この方法ではTGVの内部構造を観察できず、Z軸方向での検査も困難である。なお、ガラス基板を切断し、走査型電子顕微鏡を用いてTGVの画像を取得する方法も挙げられるが、走査型電子顕微鏡の高額な費用は多くのTGV製造者にとっては負担となり得る。
【発明の概要】
【発明が解決しようとする課題】
【0006】
上記によれば、現行のTGVの検査方法には、TGVの製造コストが増大すること、TGVの内部構造を非破壊的に観察できないこと、さらに検査装置のコストが高いという問題がある。
【課題を解決するための手段】
【0007】
上記の課題を解決するために、本発明は、第1光軸方向に沿う光束を生成するように配置される光学画像処理装置と、前記光学画像処理装置に連結され、前記第1光軸方向に沿う光束を第2光軸方向に沿う光束に変換し、前記第2光軸方向に沿う光束を用いて検査対象物をスキャンするように配置される光学走査装置と、を備え、前記光学画像処理装置は、前記光学走査装置により、前記検査対象物をY軸方向に沿ってスキャンして対応するYZ断面構造画像を取得する場合、X軸方向に沿ってスキャンして対応するYZ断面構造画像を取得し、前記光学画像処理装置は、前記光学走査装置により、前記検査対象物をX軸方向に沿ってスキャンして対応するXZ断面構造画像を取得する場合、Y軸方向に沿ってスキャンして対応するXZ断面構造画像を取得し、前記光学画像処理装置は、異なる位置での連続するYZ断面構造画像または異なる位置での連続するXZ断面構造画像に基づき、前記検査対象物に対応する3次元構造画像を再建する、物の3次元構造を非破壊的に取得する光学式走査システムを提供する。
【0008】
本発明の一実施例において、光学走査装置は、更に、第1光軸方向に沿う光束を、第1光軸方向に平行な光束に変換するように配置されるコリメータと、第1光軸方向と第2光軸方向の交差点に配置され、第1光軸方向に平行な光束を、第2光軸方向に平行な光束に変換するように設置される光束スキャナと、第2光軸方向に設置され、第2光軸方向に平行な光束を拡散または収束させるように配置される第1レンズセットと、第2光軸方向に設置され、検査対象物に対応する2次元構造画像を取得するように配置される可視光カメラモジュールと、第2光軸方向に設置され、第2光軸方向に平行な光束を拡散または収束させるように配置される第2レンズセットと、第2光軸方向における第2レンズセットの側に設置され、第2光軸方向に平行な光束を収束して検査対象物に照射するように配置されるオブジェクトミラーモジュールと、を備える。
【0009】
本発明の一実施例において、可視光カメラモジュールは、カメラ、可視光光源、および分光器から構成され、分光器は、第2光軸方向に設置される。
【0010】
本発明の一実施例において、カメラと前記可視光光源は、分光器の両側にそれぞれ設置される。
(【0011】以降は省略されています)
この特許をJ-PlatPat(特許庁公式サイト)で参照する
関連特許
芯聖科技股ふん有限公司
物の3次元構造を非破壊的に取得する光学式走査システム
1日前
個人
視触覚センサ
5日前
個人
採尿及び採便具
1か月前
日本精機株式会社
検出装置
1か月前
個人
計量機能付き容器
1か月前
個人
高精度同時多点測定装置
1か月前
個人
アクセサリー型テスター
1か月前
甲神電機株式会社
電流検出装置
1か月前
愛知電機株式会社
外観検査装置
1日前
株式会社ミツトヨ
測定器
1か月前
株式会社カクマル
境界杭
20日前
日本精機株式会社
発光表示装置
13日前
愛知電機株式会社
外観検査方法
1日前
株式会社トプコン
測量装置
12日前
ユニパルス株式会社
トルク変換器
5日前
ユニパルス株式会社
トルク変換器
5日前
ユニパルス株式会社
トルク変換器
5日前
アズビル株式会社
電磁流量計
1か月前
大成建設株式会社
風洞実験装置
1か月前
ローム株式会社
半導体装置
1か月前
個人
非接触による電磁パルスの測定方法
1か月前
日本特殊陶業株式会社
ガスセンサ
6日前
大和製衡株式会社
組合せ計量装置
1か月前
大和製衡株式会社
組合せ計量装置
1か月前
長崎県
形状計測方法
1か月前
愛知電機株式会社
軸部材の外観検査装置
1か月前
日本特殊陶業株式会社
ガスセンサ
5日前
個人
システム、装置及び実験方法
1か月前
日本特殊陶業株式会社
ガスセンサ
28日前
ローム株式会社
半導体装置
1か月前
双庸電子株式会社
誤配線検査装置
1か月前
愛知時計電機株式会社
ガスメータ
1か月前
日本特殊陶業株式会社
ガスセンサ
12日前
個人
計量具及び計量機能付き容器
1か月前
日本信号株式会社
距離画像センサ
1か月前
個人
液位検視及び品質監視システム
28日前
続きを見る
他の特許を見る