TOP
|
特許
|
意匠
|
商標
特許ウォッチ
Twitter
他の特許を見る
公開番号
2025178992
公報種別
公開特許公報(A)
公開日
2025-12-09
出願番号
2024095450
出願日
2024-05-27
発明の名称
二輪車用スマートフォールディングシステム
出願人
個人
代理人
主分類
B62K
15/00 20060101AFI20251202BHJP(鉄道以外の路面車両)
要約
【課題】Fフォーク6とRフレーム4の自重を利用することで、縦回転しながら自動的にスライドし、一度の操作で折りたたみと組み立てが半自動的に行えることを可能とする。
【解決手段】Mフレーム1を持ち上げるとFフォーク6とRフレーム4が自重により縦回転する特性を利用し、折りたたみと組み立てを行う手段において、Fフォークの固定ボルト11およびRフレームの固定ボルト15がガイドホール12およびガイドホール16に誘導され、該Fフォーク6と該Rフレーム4のスライドを行い、構造が同一の二つの折りたたみ機構を該Fフォーク6と該Rフレーム4の蝶番へ対向して配設することで、該Fフォーク6と該Rフレーム4が自重により縦回転し、自動的にスライドするため、操作者は、該Mフレーム1を持ち上げて迅速に下すだけで、該Fフォーク6と該Rフレーム4を個別に操作することなく、二輪車の折りたたみと組み立てを容易に行うことが可能になる。
【選択図】図1
特許請求の範囲
【請求項1】
フロントフォーク(以降、Fフォークと呼びます)を縦回転させて二輪車を折りたたむ手段において、ヘッドチューブの下部でメインフレーム(以降、Mフレームと呼びます)と切り離し、該Mフレームと該Fフォークを蝶番で繋ぎ、該蝶番のシャフトをインナーシャフト(以降、INNシャフトと呼びます)とアウターシャフト(以降、OUTシャフトと呼びます)の入れ子構造にすることで、該INNシャフトを伸縮可能にして、該Fフォークの折りたたみ部分を右側と左側の二股に分けた右側に該INNシャフトの右側端部を配設することで、該Fフォークが右にスライド可能になり、該Fフォークと該Mフレームがぶつからずに折りたためる二輪車用折りたたみ機構。
続きを表示(約 640 文字)
【請求項2】
請求項1のOUTシャフトの側面に該OUTシャフトの中心を原点とする極座標系で表した螺旋線に沿ったガイドホールを設け、該ガイドホールに通した固定ボルトで請求項1のFフォークの折りたたみ部分を右側と左側の二股に分けた左側に請求項1のINNシャフトの左側端部を繋ぎ、該Fフォークの自重を利用することで、請求項1のMフレームを持ち上げると該Fフォークが縦回転し、該固定ボルトが該ガイドホールに誘導され該INNシャフトが自動的にスライド可能になるため、該Fフォークもスライド可能になり、該Fフォークと該Mフレームがぶつからずに折りたたむことが可能な、請求項1に記載の二輪車用折りたたみ機構。
【請求項3】
リアフレーム(以降、Rフレームと呼びます)のシートステーを請求項1のMフレームから切り離して、ロック機構により緊結と分離を可能にし、かつ該Rフレームのチェーンステーを該Mフレームから切り離して蝶番で繋ぎ、該蝶番に請求項1に記載の二輪車用折りたたみ機構と同一構造の折りたたみ機構を配設し、請求項1のFフォークと該Rフレームの自重を利用して折りたたみと組み立てを行う手段において、該Fフォークと該Rフレームの蝶番に同一構造の折りたたみ機構を対向して配設したことで、該Mフレームを持ち上げるだけで、該Fフォークと該Rフレームが自重により同時に縦回転しながらスライドするため、半自動的に折りたたみと組み立てが可能な、請求項1に記載の二輪車用折りたたみ機構。
発明の詳細な説明
【技術分野】
【0001】
本発明は、折りたたみが容易な二輪車用折りたたみ機構に関するものである。
続きを表示(約 2,200 文字)
【背景技術】
【0002】
二輪車用折りたたみ機構の中で、フロントフォーク(以降、Fフォークと呼びます)をヘッドチューブの下部でメインフレーム(以降、Mフレームと呼びます)から切り離し、該Mフレームと該Fフォークを蝶番で繋ぎ、リアフレーム(以降、Rフレームと呼びます)のシートステーを該Mフレームから切り離して、ロック機構により緊結と分離を可能にし、かつチェーンステーを該Mフレームから切り離して蝶番で繋ぐことで、該Fフォークと該Rフレームの蝶番のシャフトを軸に縦回転させる折りたたみ方は、比較的簡単に二輪車を折りたためる利点があるので、二輪車用折りたたみ機構として実用に供されている。
実用の二輪車用折りたたみ機構は、ハンドルを左に切り該Fフォークを左に傾けて折りたたみ、かつ該Rフレームの蝶番を左に傾けて配設し該Rフレームを左に傾けて折りたたむことで、該Fフォークと該Rフレームがぶつからずに折りたためるので実用上十分である。
【0003】
しかし、FフォークとRフレームを斜めに折りたたむため、該Fフォークと該Rフレームが左右に大きく飛び出して、コンパクトに折りたためないという欠点があった。
【0004】
公共交通機関と二輪車を併用する用途において、この欠点は通勤や通学などの忙しいシーンでは大きな障害である。具体的には、公共施設内で他の利用者の通行を妨げる可能性があり、あるいは、公共交通機関内で置き場所に困るなどの問題があった。
【0005】
この改善策として、FフォークとRフレームの蝶番のシャフトをインナーシャフト(以降、INNシャフトと呼びます)とアウターシャフト(以降、OUTシャフトと呼びます)の入れ子構造にすることで、該INNシャフトを伸縮可能して、該Fフォークと該Rフレームを左右に分ける方法がある。図4はこの方法による説明図であって、図4で、1~16は、図1と同様である。該Fフォークの折りたたみ部分に該FフォークのINNシャフトの右側端部を配設し、該Fフォークを右にスライド可能にする。同様に該Rフレームの折りたたみ部分に該RフレームのINNシャフトの左側端部を配設し、該Rフレームを左にスライド可能にすることで、該Fフォークと該RフレームがMフレームとぶつからずに折りたたみ可能になるが、このように折りたたみ機構が複雑になるので、折りたたみ操作が煩雑になり、折りたたみ操作時間が長くなる。
【先行技術文献】
【特許文献】
【0006】
特願2024-26006
【発明の概要】
【発明が解決しようとする課題】
【0007】
解決しようとする問題点は、FフォークとRフレームの折りたたみ機構が複雑なため、折りたたみ操作が煩雑で、折りたたみ操作時間が長くなる点であり、一度の操作で、該Fフォークと該Rフレームを同時に折りたためる二輪車用折りたたみ機構を提供することを課題とする。
【課題を解決するための手段】
【0008】
本発明は、一度の操作でFフォークとRフレームを同時に折りたたみ可能とするため、該Fフォークと該Rフレームの自重を利用して折りたたむ手段において、縦回転しながら自動的にスライドする同一の折りたたみ機構を該FフォークとMフレームを繋ぐ蝶番と該Mフレームと該Rフレームを繋ぐ蝶番に対向して配設することを最も主要な特徴とする。
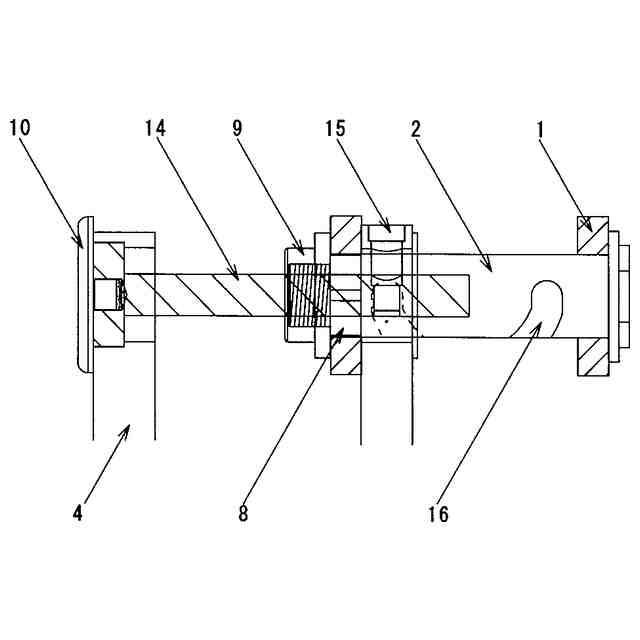
図1は、本発明を実施した二輪車用折りたたみ機構の説明図であり、1はMフレーム、2はRフレームのOUTシャフト、3はFフォークのINNシャフト、4はRフレーム、5はコラム、6はFフォーク、7は輪行キャスター、8はブッシュ、9はOUTシャフトナット、10はINNシャフトキャップボルト、11はFフォークの固定ボルト、12はFフォークのガイドホール、13はFフォークのOUTシャフト、14はRフレームのINNシャフト、15はRフレームの固定ボルト、16はRフレームのガイドホールを表す。
【発明の効果】
【0009】
本発明は、二輪車を折りたたむ際にMフレーム1を持ち上げるだけでFフォーク6とRフレーム4が自重により縦回転しながら自動的に左右にスライドするため、該Fフォーク6と該Rフレーム4が交差する瞬間に該Mフレーム1を迅速に下すと、該Fフォーク6と該Rフレーム4が自動的に左右に分かれ、一度に折りたためるという利点がある。同様に、二輪車を組み立てる際にも該Mフレーム1を持ち上げると、該Fフォーク6と該Rフレーム4が自重により縦回転しながら自動的に左右にスライドするため、該Fフォーク6と該Rフレーム4が前後に広がり一直線になる瞬間に該Mフレーム1を迅速に下すと、一度に組み立てられるという利点がある。
【図面の簡単な説明】
【0010】
本発明の実施方法を示した説明図である。
本発明を実施した折りたたみ状態の説明図である。
OUTシャフト13の円筒表面を展開した図である。
従来の折りたたみ機構を実施した折りたたみ状態の説明図である。
本発明がFフォーク6を右にスライドした折りたたみ機構の断面図である。
本発明がRフレーム4を左にスライドした折りたたみ機構の断面図である。
【発明を実施するための形態】
(【0011】以降は省略されています)
この特許をJ-PlatPat(特許庁公式サイト)で参照する
関連特許
他の特許を見る