TOP
|
特許
|
意匠
|
商標
特許ウォッチ
Twitter
他の特許を見る
公開番号
2025178990
公報種別
公開特許公報(A)
公開日
2025-12-09
出願番号
2024094713
出願日
2024-05-27
発明の名称
医療用麻薬等の薬剤のカウント袋とその製造方法、および使用済の麻薬回収用紙
出願人
個人
代理人
主分類
A61J
7/00 20060101AFI20251202BHJP(医学または獣医学;衛生学)
要約
【課題】患者個々に処方された麻薬等の薬剤の残数を、一目で簡単に確認し管理できるカウント袋を提供すること。
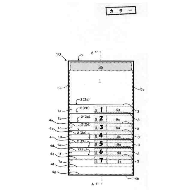
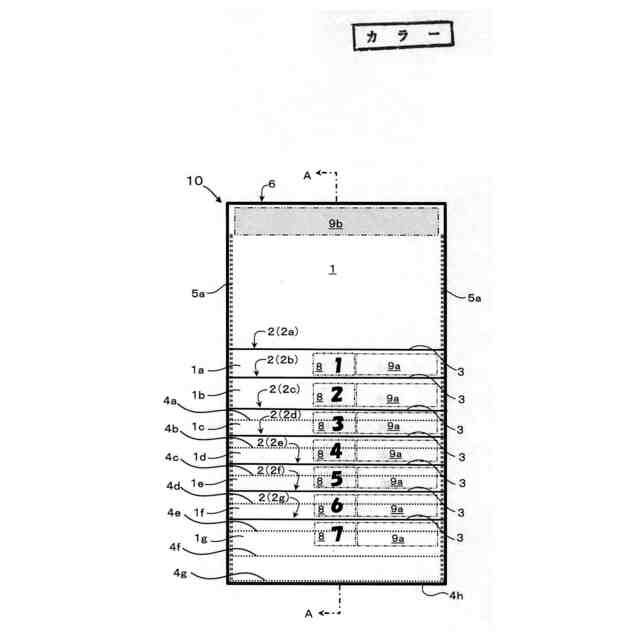
【解決手段】カウント袋は、樹脂フィルム等を使用した基板をなすシート本体の表面側に、ポケットシートが複数行n列の様態で規則的に配列され、一端を開口してシート本体に袋状に固着された未使用薬剤を収納する複数の第1ポケット部を設け、個々の袋には残数の確認が一目で簡単にできるように残数表示部に自然数をナンバリングし、薬剤名や患者名、曜日等を筆記用具で記載できるフリー記載スペースも設け、さらにシート本体の裏面側には、使用済の麻薬回収用紙や未開封の薬剤を収納できる一端を開口した第2ポケット部を設けたシートタイプの3種類(貼付剤用、レスキュー薬用、薬シート用)のカウント袋としている。
【選択図】図1A
特許請求の範囲
【請求項1】
収納する未使用の医療用麻薬等の薬剤の残数を目視により確認可能とする樹脂フィルム等のフィルム素材を用いた薬剤のカウント袋であって、
基板をなす正方形または長方形に形成され、一側端側と該一側端側と反対の他側端側とを上下方向とし、前記上下方向と直交する方向を左右方向とするシート状のシート本体と、
前記シート本体の表面側に前記薬剤を収納する複数の第1ポケット部を前記シート本体の一端側に開口部を向け、前記開口部と反対側に底辺部を形成する複数のポケットシート部と、
前記ポケットシート部の前面に設けられ、複数の前記第1ポケット部に対応して収納する前記薬剤の残数を表示する残数表示部と、
を有し、
前記複数の第1ポケット部は、前記シート本体の上下方向に複数行で左右方向に一列または複数列の態様で配置され、前記各第1ポケット部に設けた残数表示部に表示する残数値は、前記第1ポケット部の総数に対して前記第1ポケット部に収納される前記未使用薬剤に含まれる薬数を乗じた値である最大の残数値と、前記最大の残数値から前記薬数毎に順次繰り下がる減少の残数値とし、複数の前記第1ポケット部の所定の並び順序に従って前記残数値の大きい数値から小さい数値を順に表示することを特徴とする薬剤のカウント袋。
続きを表示(約 1,800 文字)
【請求項2】
請求項1に記載の薬剤のカウント袋において、
前記シート本体の裏面側に背面シート部により上方を開口し、使用済みの前記麻薬を回収する麻薬回収用紙を収納する第2ポケット部を形成することを特徴とする薬剤のカウント袋。
【請求項3】
請求項1または2に記載の薬剤のカウント袋において、
前記複数の第1ポケット部は、前記シート本体に対し、左右方向に一列で上下方向に複数行に間隔を有して配置され、最下行の前記第1ポケット部に対応して最大の残数値を表示し、上方の向けて並ぶ前記第1ポケット部に対応して前記残数値の大きい数値から小さい数値の残数値を表示し、
下行の前記第1ポケット部に前記薬剤を収納した状態において、その上の行の前記第1ポケット部の残数表示部に表示される残数値は、前記下の行の前記第1ポケット部に収納される前記薬剤により隠される位置に表示されることを特徴とする薬剤のカウント袋。
【請求項4】
請求項1または2に記載の薬剤のカウント袋において、
前記ポケットシート部は透明シートにより構成され、
前記複数の第1ポケット部は、前記シート本体に対し、左右方向に複数列で上下方向に複数行に間隔を有して配置され、
前記残数表示部に表示される残数値は、前記各行に複数配置される第1ポケット部の一端側から他端に向けて残数値が順次減少し、前記最上行に前記最大の残数値を表示し、下の行に移るに従って上の行の前記第1ポケット部に対応して表示した最小の残数値の次に小さい残数値を下の行の前記第1ポケット部に対応して表示させることを特徴とする薬剤のカウント袋。
【請求項5】
請求項1に記載の薬剤のカウント袋において、
前記複数の各第1ポケット部の表面側には曜日や日時などの事項を表示できる第1フリー記載スペースが設けられ、前記シート本体の表面側上部に第1ポケット部に収納する薬剤名と患者名を表示できる第2フリー記載スペースが設けられたことを特徴とする薬剤のカウント袋。
【請求項6】
請求項2に記載の前記麻薬回収用紙であって、
用紙本体の片面に前記複数の各第1ポケット部に設けられた前記残数表示部に表示される残数値と同じ数値を上下方向に沿って表示する使用済薬剤番号と、前記使用済薬剤番号に対応して左右方向に沿って設けられる使用済みの薬剤を貼付する貼付部とを有することを特徴とする麻薬回収用紙。
【請求項7】
請求項2に記載の医療用麻薬等の薬剤のカウント袋の製造方法であって、
帯状に形成された長尺のシート材の一端を前記シート本体の上端とし、前記上端から最上行の前記第1ポケット部の底に相当する位置で谷折りする初期工程と、
谷折りした前記シート部材を前記シート本体の一端側に向に前記シート本体上に重ねて折り畳み、さらに前記第1ポケット部の深さに相当する長さで前記シート部材を山折して該第1ポケット部の底位置まで折り畳んで該第1ポケット部を仮形成する折り畳み工程と、
前記折り畳み工程を複数回行った後、最下行の前記第1ポケット部の底位置から前記シート本体の裏面側に前記シート材を折り返し、終端を前記シート本体の一端側に向けて延ばして前記第2ポケット部を仮形成する折り返し工程と、
前記シート本体の左右方向両端部で前記シート本体の表裏面に重なる前記シート材を上下方向に沿って固着することで、前記シート本体の表面側に左右方向で一列、上下方向に沿って複数行の前記第1ポケット部を形成すると共に、前記シート本体の裏面側に前記第2ポケット部を形成する第1固着工程と、を有する薬剤のカウント袋の製造方法。
【請求項8】
請求項7に記載の医療用麻薬等の薬剤のカウント袋の製造方法において、
前記シート本体の左右方向両端間で所定の間隔で上下方向に沿って前記シート本体の表面に重なる前記シート材を固着する第2固着工程を前記折り返し工程の前工程、または前記第1固着工程の後に行うことにより、前記シート本体の表面側に上下方向に複数行で、左右方向複数列の前記第1ポケット部を形成することを特徴とする薬剤のカウント袋の製造方法。
発明の詳細な説明
【技術分野】
【0001】
本発明は、患者さん個々に処方された医療用麻薬等の薬剤を管理できる袋であって、薬の残数を一目で簡単に確認できるシートタイプのカウント袋と、使用済の麻薬を回収する用紙に関するものである。
続きを表示(約 2,300 文字)
【背景技術】
【0002】
医療用麻薬(以下、麻薬とする)は、オピオイド鎮痛剤(痛みを和らげる医療用鎮痛剤の総称)とも呼ばれ、がんによる痛みや呼吸困難感を緩和する薬剤であり、麻薬及び向精神薬取締法により取り扱いが厳しく定められている。麻薬は金庫での厳重な管理が求められており、病院の薬剤部では麻薬帳簿で管理している。薬剤部から麻薬を受領する時と返納時には、薬剤師と看護師で、麻薬施用箋と麻薬を照合している。患者に使用する際は、その都度、病棟など各部署の麻薬専用金庫から取り出し、看護師2名でダブルチェックを行い、麻薬施用箋に使用日時、使用数、残数、サイン(押印)等を記載している。さらに、各勤務の交代時には、全ての麻薬をダブルチェックし、部署用の麻薬管理簿等で引継ぎを行っている。麻薬の破損、紛失、盗難等が生じた際は、都道府県知事への麻薬事故届が必要となり、盗難や詐取の疑いがある場合には警察への届出も必要となる。患者が麻薬を自宅で管理する場合も、紛失や盗難に十分に注意する必要があり、残数を確認すること、他者に譲渡しないこと、中止時は薬局や病院に持参するように指導している薬剤である。
【0003】
麻薬には、主にモルヒネ、オキシコドン、ヒドロモルフォン、フェンタニル等があり、それぞれ定時使用薬と、レスキュー・ドーズと呼ばれる臨時追加投与できる即効性製剤がある。定時使用するフェンタニルの経皮的吸収剤(以下、貼付剤とする)は、1日用が1箱7枚入り、3日用は1箱5枚入り、モルヒネとオキシコドンの即効性製剤(以下、レスキュー薬とする)は1袋10包入りであり、箱や包装パックを開封し、中の薬を取り出した後はバラバラになる。そのため、市販の透明のチャック付きポリ袋を活用し、薬剤が見えるように工夫している病院もある。使用時や引継時は、薬袋やチャック付きポリ袋からその都度取り出し、一つ一つ残数を数える必要がある。麻薬の使用患者が多数いると、一日に何回も薬袋から取り出しダブルチェックで確認作業をするという煩わしさがあり、地味に時間と手間のかかる面倒な業務である。麻薬事故を発生しないように神経を使い慎重に確認する必要があるため、看護師や薬剤師等の医療関係者の負担にもなっている。
【0004】
これまで、薬の服用を容易にしたり、飲み忘れを防止したりするための薬袋や薬ケース、服薬カレンダー等の提案はあったが、金庫で管理している麻薬の残数を、簡単にカウントし確認できる袋やシート、ケース等の入れ物はなかった。また、各病院で使用している薬袋や市販のチャック付きポリ袋の中に入るサイズのもので、一目で麻薬の残数が分かるシートタイプの麻薬カウンター(オピオイドカウンター)としてのカウント袋は、これまで提案されていなかった。
【0005】
例えば、服薬したかどうかを容易に確認しながら薬を服薬できる服薬カレンダー(特許文献1)では、薬剤を一包化した1週間分の帯状の薬分包体を服用時間帯別に並列に吊り下げ、下方から薬分包体を切り離して取り除くごとに、1から7までの数字や曜日文字が服用時間帯別にそれぞれ露呈するようになっており、一包化になっていない薬はポケットに収納できるようになっている。そのため、飲み忘れ防止には有効である。
【0006】
また例えば、薬飲み忘れ防止用シールとそれを補助する薬袋(特許文献2)は、飲みかけの薬シートを分別できる外ポケットがあり、すぐに薬シートを取り出せる薬袋である。
【0007】
貼付剤にはパッチとテープがあるが、使用済麻薬のテープ内には6~8割程度のフェンタニルが残っているとも言われており、病院では、テープの粘着面を二つ折りにするなど再利用できないようにして回収する必要がある。フェントステープ(登録商標)については、専用のフェントステープ回収袋(入院用)と使用済のテープを貼る廃棄シートがある。
【先行技術文献】
【特許文献】
【0008】
特開2022-103835号公報
特開2004-267732号公報
【発明の概要】
【発明が解決しようとする課題】
【0009】
本発明が解決しようとする課題は、患者個々に処方された麻薬等の薬剤の残数を、一目で簡単に確認し管理できるようにすることである。
【0010】
特許文献1に開示の服薬カレンダーは、麻薬の残数を管理するには不都合がある。麻薬は、一般薬とは別々に取り扱い、病棟の金庫内で複数人分を保管し管理するため、吊り下げタイプやプラスチックケース等の大きいサイズのものは嵩張り、金庫での管理に適していない。この服薬カレンダーでは、吊り下げた帯状分包体を切り離すことで、覆われた数字や曜日等の文字が露呈するようになっているが、麻薬は一包化し吊り下げて管理することはできないため、表示部の文字を使用ごとに露呈させることはできない。
また、麻薬は、麻薬施用箋と一緒に一種類ずつ管理し、残数を数えるため、種類が違う麻薬を同じポケットに収納することはできないという問題がある。特にレスキュー薬は、10本単位での処方が多く、臨時で内服するため、服用時間帯別のポケットへの収納には適していない。服用時間帯別のポケット部にそれぞれ表示された1から7までの数字は、1週間分の意味合いが強い数字であり、何曜日のいつの時間帯のものかを容易に知ることができるようになっているが、処方された麻薬の残薬を一目で確認するのには適していない。そのため、麻薬のカウント袋としては活用できない。
(【0011】以降は省略されています)
この特許をJ-PlatPat(特許庁公式サイト)で参照する
関連特許
個人
貼付剤
1か月前
個人
簡易担架
25日前
個人
腋臭防止剤
25日前
個人
足踏み器具
1か月前
個人
短下肢装具
4か月前
個人
排尿補助器具
1か月前
個人
嚥下鍛錬装置
5か月前
個人
前腕誘導装置
4か月前
個人
腰ベルト
1か月前
個人
胸骨圧迫補助具
3か月前
個人
矯正椅子
6か月前
個人
歯の修復用材料
5か月前
個人
バッグ式オムツ
5か月前
個人
テスト肺
6日前
個人
水分吸収性物品
4日前
個人
ホバーアイロン
8か月前
個人
アイマスク装置
3か月前
個人
汚れ防止シート
2か月前
個人
ウォート指圧法
1か月前
個人
陣痛緩和具
5か月前
個人
介護移乗アシスト
4日前
個人
美容セット
1か月前
個人
湿布連続貼り機。
3か月前
個人
哺乳瓶冷まし容器
4か月前
個人
歯の保護用シール
6か月前
個人
排尿排便補助器具
27日前
個人
シャンプー
7か月前
個人
治療用酸化防御装置
2か月前
株式会社大野
骨壷
5か月前
株式会社八光
剥離吸引管
6か月前
株式会社コーセー
化粧料
1か月前
個人
エア誘導コルセット
3か月前
個人
性行為補助具
4か月前
株式会社ニデック
眼科装置
2か月前
株式会社ニデック
眼科装置
2か月前
株式会社ダリヤ
毛髪化粧料
4日前
続きを見る
他の特許を見る