TOP
|
特許
|
意匠
|
商標
特許ウォッチ
Twitter
他の特許を見る
10個以上の画像は省略されています。
公開番号
2025178981
公報種別
公開特許公報(A)
公開日
2025-12-09
出願番号
2024085906
出願日
2024-05-27
発明の名称
設計変更支援装置、設計変更支援システム、設計変更支援方法、及び、プログラム
出願人
三菱電機株式会社
代理人
個人
,
個人
,
個人
,
個人
,
個人
,
個人
主分類
G06F
30/27 20200101AFI20251202BHJP(計算;計数)
要約
【課題】部品の置換を伴う組立品の設計変更を支援する。
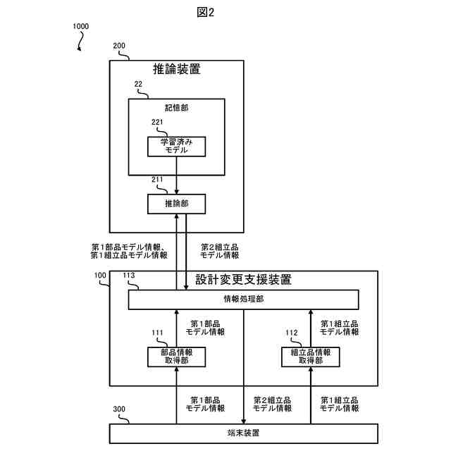
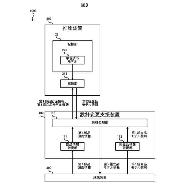
【解決手段】部品情報取得部111は、第1部品の3次元モデルを表す第1部品モデル情報又は第1部品の2次元図面を表す第1部品図面情報を取得する。組立品情報取得部112は、設計変更前の組立品である第1組立品の3次元モデルを表す第1組立品モデル情報を取得する。情報処理部113は、部品情報取得部111が取得した第1部品モデル情報又は第1部品図面情報と組立品情報取得部112が取得した第1組立品モデル情報とを人工知能に供給することで、第1組立品が備える第2部品が第1部品に置換された設計変更後の組立品である第2組立品の3次元モデルを表す第2組立品モデル情報を生成し、生成した第2組立品モデル情報を出力する。
【選択図】図2
特許請求の範囲
【請求項1】
第1部品の3次元モデルを表す第1部品モデル情報又は前記第1部品の2次元図面を表す第1部品図面情報を取得する部品情報取得手段と、
設計変更前の組立品である第1組立品の3次元モデルを表す第1組立品モデル情報を取得する組立品情報取得手段と、
前記部品情報取得手段が取得した前記第1部品モデル情報又は前記第1部品図面情報と前記組立品情報取得手段が取得した前記第1組立品モデル情報とを人工知能に供給することで、前記第1組立品が備える第2部品が前記第1部品に置換された設計変更後の組立品である第2組立品の3次元モデルを表す第2組立品モデル情報を生成し、生成した前記第2組立品モデル情報を出力する情報処理手段と、を備える、
設計変更支援装置。
続きを表示(約 1,800 文字)
【請求項2】
前記部品情報取得手段は、前記第1部品モデル情報を取得し、
前記情報処理手段は、前記第1部品モデル情報と前記第1組立品モデル情報とを前記人工知能に供給することで、前記第2組立品モデル情報を生成する、
請求項1に記載の設計変更支援装置。
【請求項3】
前記情報処理手段は、前記第1部品の立体形状を表す形状情報と前記第1部品のサイズを示すサイズ情報と前記第1部品の質量と密度と強度と素材と識別子とのうち少なくとも1つを示す付加情報とを含む前記第1部品モデル情報と、前記第1組立品が備える部品の立体形状を表す形状情報と前記第1組立品が備える部品のサイズを示すサイズ情報と前記第1組立品が備える部品の質量と密度と強度と素材と識別子とのうち少なくとも1つを示す付加情報とを含む前記第1組立品モデル情報とを前記人工知能に供給することで、前記第2組立品モデル情報を生成する、
請求項2に記載の設計変更支援装置。
【請求項4】
前記部品情報取得手段は、前記第1部品図面情報を取得し、
前記情報処理手段は、前記第1部品図面情報を前記人工知能に供給することで、前記第1部品モデル情報を生成し、生成した前記第1部品モデル情報と前記第1組立品モデル情報とを前記人工知能に供給することで、前記第2組立品モデル情報を生成する、
請求項1に記載の設計変更支援装置。
【請求項5】
前記情報処理手段は、前記第1部品の投影図を表す投影図情報と前記投影図の投影法を示す投影法情報と前記第1部品のサイズを示すサイズ情報と前記第1部品の質量と密度と強度と素材と識別子とのうち少なくとも1つを示す付加情報とを含む前記第1部品図面情報を前記人工知能に供給することで、前記第1部品の立体形状を表す形状情報と前記第1部品の前記サイズ情報と前記第1部品の前記付加情報とを含む前記第1部品モデル情報を生成する、
請求項4に記載の設計変更支援装置。
【請求項6】
前記第1部品の2次元図面には、前記第1部品の投影図と、前記投影図の投影法を示す記号又は文字列と、前記第1部品のサイズを示す文字列と、前記第1部品の前記付加情報を示す文字列とが含まれている、
請求項5に記載の設計変更支援装置。
【請求項7】
前記情報処理手段は、前記第1部品モデル情報と、前記第1組立品が備える部品の立体形状を表す形状情報と前記第1組立品が備える部品のサイズを示すサイズ情報と前記第1組立品が備える部品の質量と密度と強度と素材と識別子とのうち少なくとも1つを示す付加情報とを含む前記第1組立品モデル情報とを前記人工知能に供給することで、前記第2組立品モデル情報を生成する、
請求項5又は6に記載の設計変更支援装置。
【請求項8】
前記情報処理手段は、前記第1部品モデル情報と前記第1組立品モデル情報とを前記人工知能に供給することで、前記第2組立品が備える部品の立体形状を表す形状情報と前記第2組立品が備える部品のサイズを示すサイズ情報と前記第2組立品が備える部品の質量と密度と強度と素材と識別子とのうち少なくとも1つを示す付加情報とを含む前記第2組立品モデル情報を生成する、
請求項3に記載の設計変更支援装置。
【請求項9】
前記部品情報取得手段は、前記第1部品図面情報を取得し、
前記情報処理手段は、前記第1部品図面情報と前記第1組立品モデル情報とを前記人工知能に供給することで、前記第2組立品モデル情報を生成する、
請求項1に記載の設計変更支援装置。
【請求項10】
前記情報処理手段は、前記第1部品の投影図を表す投影図情報と前記投影図の投影法を示す投影法情報と前記第1部品のサイズを示すサイズ情報と前記第1部品の質量と密度と強度と素材と識別子とのうち少なくとも1つを示す付加情報とを含む前記第1部品図面情報と、前記第1組立品が備える部品の立体形状を表す形状情報と前記第1組立品が備える部品のサイズを示すサイズ情報と前記第1組立品が備える部品の質量と密度と強度と素材と識別子とのうち少なくとも1つを示す付加情報とを含む前記第1組立品モデル情報とを前記人工知能に供給することで、前記第2組立品モデル情報を生成する、
請求項9に記載の設計変更支援装置。
(【請求項11】以降は省略されています)
発明の詳細な説明
【技術分野】
【0001】
本開示は、設計変更支援装置、設計変更支援システム、設計変更支援方法、及び、プログラムに関する。
続きを表示(約 1,800 文字)
【背景技術】
【0002】
現在、物体の立体形状を表す三次元モデルを用いて、複数の部品を組み立てることにより完成する組立品を設計する技術が知られている。例えば、設計者は、CAD(Computer Aided Design)に代表される設計支援ツールを用いて、各部品又は組立品の三次元モデルを参照しながら各部品の形状、サイズ、位置関係等を調整する。また、例えば、設計者は、組立品の3次元モデルを用いたシミュレーションで組立品の動作、強度等を検証した後、組立品の実物を用いて組立品の動作、強度等を検証する。
【0003】
このため、組立品の設計に三次元モデルはかかせないものとなりつつある。現在、三次元モデルを自動で生成する種々の技術が知られている。例えば、特許文献1には、入力された深度画像に基づいて、三次元モデルである3DプリミティブCADオブジェクトを生成するニューラルネットワークが記載されている。
【先行技術文献】
【特許文献】
【0004】
特開2023-160791号公報
【発明の概要】
【発明が解決しようとする課題】
【0005】
ところで、組立品の動作、強度等を検証した結果、部品の置換を伴う組立品の設計変更を余儀なくされる場合がある。しかしながら、設計者が、組立品の三次元モデルを用いて手動で部品の置換を実施すると、設計者に多大な手間がかかる。また、特許文献1には、このような設計変更に対応可能な技術は記載されていない。このため、部品の置換を伴う組立品の設計変更を支援する技術が望まれている。
【0006】
本開示は、上記問題に鑑みてなされたものであり、部品の置換を伴う組立品の設計変更を支援する設計変更支援装置、設計変更支援システム、設計変更支援方法、及び、プログラムを提供することを目的とする。
【課題を解決するための手段】
【0007】
上記目的を達成するために、本開示に係る設計変更支援装置は、第1部品の3次元モデルを表す第1部品モデル情報又は第1部品の2次元図面を表す第1部品図面情報を取得する部品情報取得手段と、設計変更前の組立品である第1組立品の3次元モデルを表す第1組立品モデル情報を取得する組立品情報取得手段と、部品情報取得手段が取得した第1部品モデル情報又は第1部品図面情報と組立品情報取得手段が取得した第1組立品モデル情報とを人工知能に供給することで、第1組立品が備える第2部品が第1部品に置換された設計変更後の組立品である第2組立品の3次元モデルを表す第2組立品モデル情報を生成し、生成した第2組立品モデル情報を出力する情報処理手段と、を備える。
【発明の効果】
【0008】
本開示では、第1部品モデル情報又は第1部品図面情報と第1組立品モデル情報とが人工知能に供給されることで、第1組立品が備える第2部品が第1部品に置換された設計変更後の組立品である第2組立品の3次元モデルを表す第2組立品モデル情報が生成され、生成された第2組立品モデル情報が出力される。従って、本開示によれば、部品の置換を伴う組立品の設計変更を支援することができる。
【図面の簡単な説明】
【0009】
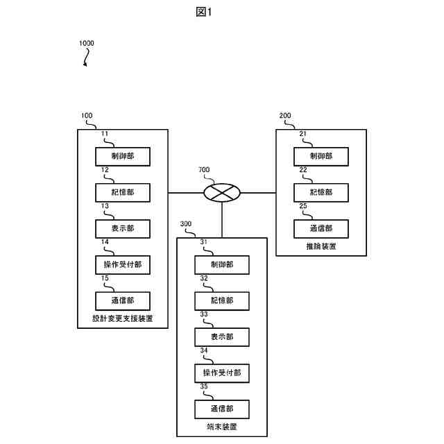
実施の形態1に係る設計変更支援システムの構成図
実施の形態1に係る設計変更支援システムの機能構成図
組立品における部品の置換の説明図
実施の形態1に係る設計変更支援装置が実行する設計変更支援処理を示すフローチャート
実施の形態2に係る設計変更支援システムの機能構成図
第1部品の2次元図面を示す図
実施の形態2に係る設計変更支援装置が実行する設計変更支援処理を示すフローチャート
実施の形態3に係る設計変更支援システムの機能構成図
実施の形態3に係る設計変更支援装置が実行する設計変更支援処理を示すフローチャート
【発明を実施するための形態】
【0010】
以下、本開示の実施の形態について、図面を参照しながら詳細に説明する。なお、図中同一または相当部分には同一符号を付す。
(【0011】以降は省略されています)
この特許をJ-PlatPat(特許庁公式サイト)で参照する
関連特許
三菱電機株式会社
換気扇
12日前
三菱電機株式会社
換気扇
1か月前
三菱電機株式会社
換気扇
1か月前
三菱電機株式会社
換気扇
1か月前
三菱電機株式会社
増幅器
1か月前
三菱電機株式会社
冷蔵庫
1か月前
三菱電機株式会社
冷蔵庫
19日前
三菱電機株式会社
扇風機
1か月前
三菱電機株式会社
回転電機
2か月前
三菱電機株式会社
換気装置
11日前
三菱電機株式会社
照明器具
13日前
三菱電機株式会社
電子機器
1か月前
三菱電機株式会社
収集装置
1か月前
三菱電機株式会社
電気機器
19日前
三菱電機株式会社
照明装置
2か月前
三菱電機株式会社
送風装置
今日
三菱電機株式会社
回転電機
2か月前
三菱電機株式会社
照明装置
1か月前
三菱電機株式会社
送風装置
今日
三菱電機株式会社
加熱調理器
2か月前
三菱電機株式会社
半導体装置
2か月前
三菱電機株式会社
電動送風機
11日前
三菱電機株式会社
空気調和機
1か月前
三菱電機株式会社
半導体装置
今日
三菱電機株式会社
半導体装置
今日
三菱電機株式会社
半導体装置
6日前
三菱電機株式会社
回路遮断器
27日前
三菱電機株式会社
半導体装置
6日前
三菱電機株式会社
半導体装置
4日前
三菱電機株式会社
保護リレー
1か月前
三菱電機株式会社
加熱調理器
27日前
三菱電機株式会社
半導体装置
2か月前
三菱電機株式会社
半導体装置
1か月前
三菱電機株式会社
冷凍冷蔵庫
4日前
三菱電機株式会社
半導体装置
19日前
三菱電機株式会社
制御システム
1か月前
続きを見る
他の特許を見る