TOP
|
特許
|
意匠
|
商標
特許ウォッチ
Twitter
他の特許を見る
公開番号
2025178919
公報種別
公開特許公報(A)
公開日
2025-12-09
出願番号
2024085797
出願日
2024-05-27
発明の名称
装置、装置が行う方法及びプログラム
出願人
キヤノン株式会社
代理人
個人
,
個人
,
個人
,
個人
,
個人
主分類
H02J
50/80 20160101AFI20251202BHJP(電力の発電,変換,配電)
要約
【課題】送電モードと受電モードとを有する電子機器がより適切に動作モードを選択する装置を提供する。
【解決手段】送受電装置は、Near Field Communication(NFC)を用いて物体を検出する検出手段の検出結果に基づいて、受電手段が動作するモードと、送電手段が動作するモードと、のいずれかを選択する選択手段を有する。
【選択図】図7
特許請求の範囲
【請求項1】
無線で送電する送電手段と、
無線で受電する受電手段と、
Near Field Communication(NFC)を用いて物体を検出する検出手段と、
前記NFCを用いて物体が検出された場合、前記送電手段が動作するモードを選択する選択手段と、を有する装置。
続きを表示(約 780 文字)
【請求項2】
前記検出手段は、検出された前記物体から識別子情報を取得する、請求項1に記載の装置。
【請求項3】
送電対象である装置と通信を行う通信手段を有し、
前記通信手段は、前記送電手段が動作するモードにおいて、前記送電対象である装置から識別子情報を取得する、請求項2に記載の装置。
【請求項4】
前記通信手段は、前記検出手段が取得した識別子情報と前記通信手段が取得した識別子情報との比較に基づいて、前記送電対象である装置と交渉を行う、請求項3に記載の装置。
【請求項5】
前記通信手段は、前記検出手段が取得した識別子情報と前記通信手段が取得した識別子情報とが異なる場合、Negotiable load Powerを制限する、請求項4に記載の装置。
【請求項6】
前記選択手段は、前記NFCを用いて物体が検出された場合は、前記受電手段が動作するモードを選択する、請求項1に記載の装置。
【請求項7】
前記受電手段が動作するモードが選択された場合、前記受電手段は、他の装置から無線で電力を受電する、請求項6に記載の装置。
【請求項8】
前記送電手段が動作するモードが選択された場合、前記送電手段は、物体を検出する電力信号を印可する、請求項1に記載の装置。
【請求項9】
前記選択手段は、所定回数以上で印可された前記電力信号により物体を検出されなかった場合には、前記受電手段が動作するモードに切り替える、請求項8に記載の装置。
【請求項10】
前記送電手段が動作するモードが選択された場合、前記送電手段は、受電装置を起動する電力信号を印可する、請求項1に記載の装置。
(【請求項11】以降は省略されています)
発明の詳細な説明
【技術分野】
【0001】
本開示は、無線電力伝送に関する。
続きを表示(約 1,900 文字)
【背景技術】
【0002】
近年、無線電力伝送システムの技術開発が広く行われている。特許文献1では、非接触充電規格の標準化団体Wireless Power Consortium(以下、「WPC」と称する)が策定する規格(以下、「WPC規格」と称する)に準拠した送電装置および受電装置が開示されている。また、最近では、他の装置から無線で受電する受電モードと他の装置に無線で送電を行う送電モードの両方のモードを有する電子機器も販売されている。例えば、そのような電子機器は、大容量のバッテリーを搭載したスマートフォンやタブレット、ポータブル充電器等である。
【0003】
特許文献2では、送受電装置の無線電力伝送の設定に必要なユーザー操作を減らすため、送電対象である受電装置が送電対象装置に載置されたことを検出し、その旨を無線通信によって送受電装置に通知することが開示されている。
【先行技術文献】
【特許文献】
【0004】
特開2015-56959号公報
特開2017-85855号公報
【発明の概要】
【発明が解決しようとする課題】
【0005】
無線で送電する送電モードと無線で受電する受電モードとを有する装置が、より適切に動作モードを選択する技術を提供する。
【課題を解決するための手段】
【0006】
本開示の一態様である装置は、無線で送電する送電手段と、無線で受電する受電手段と、Near Field Communication(NFC)を用いて物体を検出する検出手段と、前記物体の検出結果に基づいて、前記受電手段が動作するモードと前記送電手段が動作するモードのいずれかを選択する選択手段と、を有する。
【発明の効果】
【0007】
無線で送電する送電モードと無線で受電する受電モードとを有する装置が、より適切に動作モードを選択することできる。
【図面の簡単な説明】
【0008】
送受電装置の構成例を示す図である。
受電装置の構成例を示す図である。
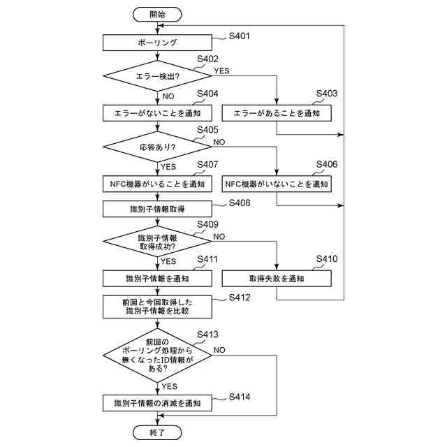
NFCによる物体検出処理を示すフローチャートである。
動作モードの切り替え動作を示すフローチャートである。
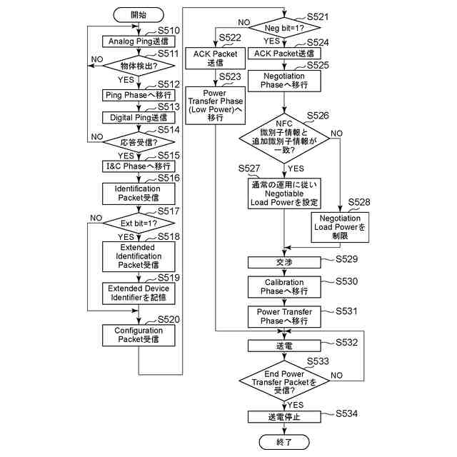
送電モード処理を示すフローチャートである。
受電モード処理を示すフローチャートである。
無線電力伝送システムのシーケンスである。
【発明を実施するための形態】
【0009】
<実施形態>
以下、本開示の実施形態について、添付図面を参照しつつ詳細に説明する。実施形態では無線電力伝送システムの一例として、WPC規格に基づく無線電力伝送について説明する。なお、以下では、別の装置に対して無線電力伝送による送電を行う送電モードと別の装置から無線電力伝送による受電を行う受電モードの両方を有する装置を送受電装置という。典型的には、送受電装置は、スマートフォンやタブレット、充電器等の電子機器であるが、これに限られない。また、受電装置は、他の装置から無線電力伝送による受電を行う装置をいう。例えば、受電装置は、撮像装置、スマートフォン、スマートウォッチ、タブレットPC等である。なお、以下では、受電装置は、受電モードで動作する送受電装置を指すこともある。また、送電装置は、他の装置に対して無線電力伝送により送電を行う装置をいう。例えば、送電装置は、車載用を含む種々の充電器、複合機等である。なお、以下では、送電装置は、送電モードで動作する送受電装置を指すこともある。送電装置は、受電装置あるいは送受電装置に対して無線電力伝送により送電を行うことができる。また、受電装置は、送電装置あるいは送受電装置から無線電力伝送から受電を行うことができる。送受電装置は、受電モードで動作する場合は、送電装置あるいは送電モードで動作する別の送受電装置から受電することができる。また、送受電装置は、送電モードで動作する場合は、受電装置あるいは受電モードで動作する別の送受電装置に送電することができる。
【0010】
以下の実施形態は本開示の技術的思想を説明するための一例にすぎず、本開示を実施形態で説明される構成や方法に限定することを意図していない。また、実施形態には複数の特徴が記載されているが、これらの複数の特徴全てが本開示に必須のものとは限らず、また、複数の特徴は任意に組み合わせられてもよい。さらに、添付図面においては、同一若しくは同様の構成に同一の参照番号を付し、重複した説明を省略する。
(【0011】以降は省略されています)
この特許をJ-PlatPat(特許庁公式サイト)で参照する
関連特許
他の特許を見る