TOP
|
特許
|
意匠
|
商標
特許ウォッチ
Twitter
他の特許を見る
10個以上の画像は省略されています。
公開番号
2025178916
公報種別
公開特許公報(A)
公開日
2025-12-09
出願番号
2024085794
出願日
2024-05-27
発明の名称
露光装置および画像形成装置
出願人
キヤノン株式会社
代理人
弁理士法人中川国際特許事務所
主分類
B41J
2/447 20060101AFI20251202BHJP(印刷;線画機;タイプライター;スタンプ)
要約
【課題】露光装置の隙間から気流が流出するのを抑制する。
【解決手段】感光体を露光する光を発する複数の発光素子が前記感光体の軸線方向に沿って配列された基板と、前記発光素子から出射された光を前記感光体に集光する複数のレンズを有するレンズアレイと、開口を含み、前記基板と前記レンズアレイを保持する筐体と、前記筐体の開口を覆うように前記筐体に一体に設けられ、前記筐体との間に空気を流通させる空間を形成する筐体支持部材と、前記レンズの光軸に沿った光軸方向および前記軸線方向に直交する方向において前記基板の一方側と他方側でそれぞれ対向する前記筐体と前記筐体支持部材との間の隙間を封止する封止部材と、を備える。
【選択図】 図16
特許請求の範囲
【請求項1】
感光体を露光する光を発する複数の発光素子が前記感光体の軸線方向に沿って配列された基板と、
前記発光素子から出射された光を前記感光体に集光する複数のレンズを有するレンズアレイと、
開口を含み、前記基板と前記レンズアレイを保持する筐体と、
前記筐体の開口を覆うように前記筐体に一体に設けられ、前記筐体との間に空気を流通させる空間を形成する筐体支持部材と、
前記レンズの光軸に沿った光軸方向および前記軸線方向に直交する方向において前記基板の一方側と他方側でそれぞれ対向する前記筐体と前記筐体支持部材との間の隙間を封止する封止部材と、を備える、
ことを特徴とする露光装置。
続きを表示(約 1,100 文字)
【請求項2】
前記筐体の開口は、前記レンズの光軸に沿った光軸方向および前記軸線方向に直交する方向において前記基板の一方側と他方側を支持する基板支持部の間に形成されており、
前記筐体支持部材は、
前記直交する方向において前記筐体の一方側の基板支持部に対向する第1対向部と、
前記直交する方向において前記筐体の他方側の基板支持部に対向し、前記筐体を挟んで前記第1対向部に対向する第2対向部と、を有し、
前記封止部材は、前記直交する方向において対向する前記一方側の基板支持部と前記第1対向部との間の隙間、および前記他方側の基板支持部と前記第2対向部との間の隙間を前記軸線方向にわたって封止する、
ことを特徴とする請求項1に記載の露光装置。
【請求項3】
前記筐体支持部材は、前記露光装置を冷却する気流を生成する露光冷却ユニットに連通する開口を有し、
前記筐体支持部材の開口は、前記筐体に保持された基板の前記発光素子が実装された面とは反対側の面に対向する位置に設けられている、
ことを特徴とする請求項1に記載の露光装置。
【請求項4】
前記封止部材は、前記軸線方向において前記筐体支持部材の開口を設けた領域の一方の端部から他方の端部までの長さより長い、ことを特徴とする請求項3に記載の露光装置。
【請求項5】
前記封止部材は、シート部材である、ことを特徴とする請求項1に記載の露光装置。
【請求項6】
前記シート部材は、前記直交する方向において一方側が前記筐体支持部材に貼り付けて保持され、他方側が前記筐体と前記筐体支持部材との間に向けて屈曲されて前記隙間に挿入され、前記屈曲された際の反力によって前記筐体に当接している、ことを特徴とする請求項5に記載の露光装置。
【請求項7】
前記筐体支持部材は、前記直交する方向において前記筐体に対向する面とは反対側の面に前記シート部材を貼り付ける貼り付け部を有し、
前記貼り付け部は、前記貼り付け部に隣接する部位に比べて、前記直交する方向において筐体側に向けて凹み形状である、ことを特徴とする請求項6に記載の露光装置。
【請求項8】
前記シート部材は、厚み100μm以下のポリエステルフィルムである、ことを特徴とする請求項5に記載の露光装置。
【請求項9】
前記封止部材は、充填剤である、ことを特徴とする請求項1に記載の露光装置。
【請求項10】
前記発光素子は、有機ELである、ことを特徴とする請求項1に記載の露光装置。
(【請求項11】以降は省略されています)
発明の詳細な説明
【技術分野】
【0001】
本発明は、感光体を露光する露光装置および露光装置を備える画像形成装置に関する。
続きを表示(約 1,600 文字)
【背景技術】
【0002】
従来、電子写真方式の画像形成装置に用いられる露光装置としては、感光体の軸線方向に沿って複数の発光素子が配置されたLEDアレイ方式の露光装置が知られている。
【0003】
この方式の露光装置は、発光素子の発光時間の長さや発光量の大きさに応じて熱を放散することが知られている。また、露光装置は、感光体に形成される潜像をトナーにより現像する現像装置に近接して配置される。そのため、露光装置からの熱によるトナーへの影響を抑制するために、露光装置の昇温を抑制する技術が知られている。
【0004】
特許文献1では、発光素子が実装された基板とレンズアレイを保持する筐体と、その筐体を支持する筐体支持部材とによって、露光装置に気流を流通させるダクトを形成し、その気流により基板を冷却して露光装置の昇温を抑制している。
【先行技術文献】
【特許文献】
【0005】
特開2023-132358号公報
【発明の概要】
【発明が解決しようとする課題】
【0006】
しかしながら、従来技術において、露光装置にてダクトを構成する筐体と筐体支持部材との間には、部品構成上の隙間が存在し、その隙間から前述した気流が流出するおそれがある。この場合、レンズアレイ付近のトナーや微小なゴミ等が飛散してしまい、レンズアレイ表面に付着することで画像不良を発生するおそれがある。
【0007】
本発明の目的は、露光装置の隙間から気流が流出するのを抑制することである。
【課題を解決するための手段】
【0008】
本発明の代表的な構成は、感光体を露光する光を発する複数の発光素子が前記感光体の軸線方向に沿って配列された基板と、前記発光素子から出射された光を前記感光体に集光する複数のレンズを有するレンズアレイと、開口を含み、前記基板と前記レンズアレイを保持する筐体と、前記筐体の開口を覆うように前記筐体に一体に設けられ、前記筐体との間に空気を流通させる空間を形成する筐体支持部材と、前記レンズの光軸に沿った光軸方向および前記軸線方向に直交する方向において前記基板の一方側と他方側でそれぞれ対向する前記筐体と前記筐体支持部材との間の隙間を封止する封止部材と、を備える、ことを特徴とする。
【発明の効果】
【0009】
本発明によれば、露光装置の隙間から気流が流出するのを抑制することができる。
【図面の簡単な説明】
【0010】
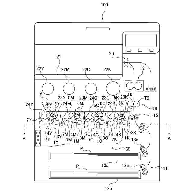
画像形成装置の斜視図
画像形成装置の概略断面図
画像形成装置の概略断面図
(a)、(b)はドラムユニットおよび現像ユニット周辺の構成を示す斜視図
露光ヘッドの概略断面図
露光ヘッドを上面から見た斜視図
露光ヘッドを下面から見た斜視図
(a)、(b)、(c)は露光ヘッドにおける基板を示す図、(d)、(e)はレンズアレイを示す図
カートリッジトレイと閉状態の内扉と露光位置の露光ヘッドを示す斜視図
カートリッジトレイと開状態の内扉と退避位置の露光ヘッドを示す斜視図
図2におけるA-A矢視による断面図
ダクトユニットの斜視図
カートリッジトレイと昇降ダクトを下側から見た斜視図
図13におけるX-X矢視による断面図
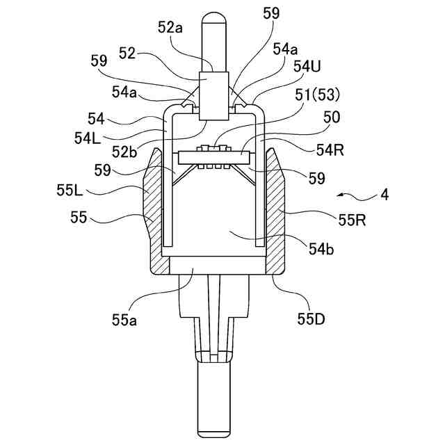
実施例1に係る露光ヘッドのシートと開口の長手方向の長さを示す図
実施例1に係る露光ヘッドの断面図
実施例1に係る露光ヘッドの斜視図
実施例1に係る露光ヘッド、昇降ダクト、ダクトユニットの斜視図
実施例2に係る露光ヘッドの断面図
実施例3に係る露光ヘッドの断面図
【発明を実施するための形態】
(【0011】以降は省略されています)
この特許をJ-PlatPat(特許庁公式サイト)で参照する
関連特許
キヤノン株式会社
撮像装置
12日前
キヤノン株式会社
定着装置
20日前
キヤノン株式会社
撮像装置
12日前
キヤノン株式会社
表示装置
12日前
キヤノン株式会社
撮像装置
5日前
キヤノン株式会社
撮像装置
5日前
キヤノン株式会社
表示装置
12日前
キヤノン株式会社
電子機器
5日前
キヤノン株式会社
表示装置
12日前
キヤノン株式会社
記録装置
6日前
キヤノン株式会社
撮像装置
5日前
キヤノン株式会社
電子機器
1日前
キヤノン株式会社
表示装置
5日前
キヤノン株式会社
撮像装置
14日前
キヤノン株式会社
撮像装置
5日前
キヤノン株式会社
二次電池
7日前
キヤノン株式会社
撮像装置
5日前
キヤノン株式会社
発光装置
12日前
キヤノン株式会社
記録装置
6日前
キヤノン株式会社
インク容器
6日前
キヤノン株式会社
画像形成装置
5日前
キヤノン株式会社
画像形成装置
12日前
キヤノン株式会社
画像形成装置
20日前
キヤノン株式会社
情報処理装置
5日前
キヤノン株式会社
画像形成装置
13日前
キヤノン株式会社
画像形成装置
15日前
キヤノン株式会社
画像形成装置
15日前
キヤノン株式会社
画像形成装置
5日前
キヤノン株式会社
検査システム
12日前
キヤノン株式会社
情報処理装置
20日前
キヤノン株式会社
二成分現像剤
12日前
キヤノン株式会社
インク収納体
14日前
キヤノン株式会社
画像形成装置
1日前
キヤノン株式会社
画像認識装置
20日前
キヤノン株式会社
画像記録装置
7日前
キヤノン株式会社
画像形成装置
7日前
続きを見る
他の特許を見る