TOP
|
特許
|
意匠
|
商標
特許ウォッチ
Twitter
他の特許を見る
公開番号
2025178832
公報種別
公開特許公報(A)
公開日
2025-12-09
出願番号
2024085662
出願日
2024-05-27
発明の名称
放射線撮像装置及びその制御方法、並びに、プログラム
出願人
キヤノン株式会社
代理人
個人
主分類
A61B
6/00 20240101AFI20251202BHJP(医学または獣医学;衛生学)
要約
【課題】放射線撮影の撮影時間を安定させることができるようにして、効率的な放射線撮影を行える仕組みを提供する。
【解決手段】放射線撮像装置100において、放射線画像に係る電気信号を取得する撮像画素101と放射線の線量を電気信号に基づき検出する検出画素104とを含む複数の画素を備えた画素アレイIRと、検出画素104で検出された放射線の線量に基づいて、放射線発生装置における放射線の照射を停止させるための停止要求信号を制御装置に送信する制御を行うとともに、放射線の照射が停止した照射停止判定を行う制御部180と、制御部180において照射停止判定が行われた場合に、撮像画素101から放射線画像に係る電気信号を読み出す読み出し回路160を備える。
【選択図】図1
特許請求の範囲
【請求項1】
放射線を照射する放射線発生装置を制御する制御装置と通信可能に構成された放射線撮像装置であって、
入射した前記放射線に応じた電気信号を取得する複数の画素であって放射線画像に係る前記電気信号を取得する撮像画素と前記放射線の線量を前記電気信号に基づき検出する検出画素とを含む複数の画素を備えた画素アレイと、
前記検出画素で検出された前記放射線の線量に基づいて、前記放射線発生装置における前記放射線の照射を停止させるための停止要求信号を前記制御装置に送信する制御を行うとともに、前記放射線の照射が停止した照射停止判定を行う制御手段と、
前記制御手段において前記照射停止判定が行われた場合に、前記撮像画素から前記放射線画像に係る前記電気信号を読み出す読出手段と、
を有することを特徴とする放射線撮像装置。
続きを表示(約 1,100 文字)
【請求項2】
前記制御手段は、前記検出画素で検出された前記放射線の線量と、予め設定された閾値とを比較して、前記照射停止判定を行う
ことを特徴とする請求項1に記載の放射線撮像装置。
【請求項3】
前記制御手段は、前記検出画素で検出された前記放射線の線量を、前記検出画素で取得した前記電気信号の平均値、積算値および微分値のうちのいずれかの値から算出する
ことを特徴とする請求項2に記載の放射線撮像装置。
【請求項4】
前記制御手段は、前記放射線の照射に係る情報があったことに基づいて、前記照射停止判定を行う
ことを特徴とする請求項1に記載の放射線撮像装置。
【請求項5】
前記制御手段は、前記停止要求信号を前記制御装置に送信した場合、または、前記制御装置が前記停止要求信号を受信した場合に、前記放射線の照射に係る情報があったと判定する
ことを特徴とする請求項4に記載の放射線撮像装置。
【請求項6】
前記制御手段は、前記放射線発生装置における前記放射線の照射を開始させるための開始要求信号を前記制御装置に送信した場合、または、前記制御装置が前記開始要求信号を受信した場合に、前記放射線の照射に係る情報があったと判定する
ことを特徴とする請求項4に記載の放射線撮像装置。
【請求項7】
前記制御手段は、前記放射線発生装置における前記放射線の照射を開始させるための開始要求信号を前記放射線発生装置が受信した場合、または、前記放射線発生装置が前記制御装置に前記開始要求信号の応答を送信した場合に、前記放射線の照射に係る情報があったと判定する
ことを特徴とする請求項4に記載の放射線撮像装置。
【請求項8】
前記制御手段は、前記制御装置から前記放射線の照射を停止したことを受信した場合、または、前記検出画素で検出された前記放射線の線量に基づき前記放射線の照射が停止したことを検出した場合に、前記放射線の照射に係る情報があったと判定する
ことを特徴とする請求項4に記載の放射線撮像装置。
【請求項9】
前記制御手段は、前記放射線を用いた撮影条件または前記放射線の照射条件に基づいて、前記照射停止判定を行うか否かを切り替える
ことを特徴とする請求項1に記載の放射線撮像装置。
【請求項10】
前記制御手段は、給電の情報に基づいて、前記照射停止判定を行うか否かを切り替える
ことを特徴とする請求項1に記載の放射線撮像装置。
(【請求項11】以降は省略されています)
発明の詳細な説明
【技術分野】
【0001】
本発明は、放射線撮像装置及びその制御方法、並びに、プログラムに関する。
続きを表示(約 2,200 文字)
【背景技術】
【0002】
従来から、放射線撮像装置の一種として、自動露出制御(Automatic Exposure Control:AEC)機能を有する放射線撮像装置が知られている。このAEC機能を有する放射線撮像装置は、放射線の照射中に放射線の線量を測定し、その測定の結果に応じて放射線の照射を停止させることができる。このようなAEC機能を有する放射線撮像装置は、例えば、複数の画素を備えた画素アレイのうち、放射線の線量検出用に設定された検出画素のみを放射線の照射中に高速で動作させることによって放射線の線量を監視する。
【0003】
このような放射線撮像装置の一例として、特許文献1には、放射線撮像装置の撮像領域内に、撮像領域に到達する放射線の線量を検出する線量検出部を備える放射線撮像装置が記載されている。具体的に、特許文献1では、線量検出部で検出する線量と予め設定された線量目標値とに基づいて、放射線発生装置において放射線の照射を停止すべき停止タイミングを予測している。そして、特許文献1では、放射線発生装置に対して放射線照射の停止タイミングを知らせるための停止タイミング通知を、通信遅延時間を考慮して停止タイミングが到来する所定の時間前に発信している。
【先行技術文献】
【特許文献】
【0004】
特開2013-138829号公報
【発明の概要】
【発明が解決しようとする課題】
【0005】
しかしながら、特許文献1に記載の技術において、通信遅延時間は通信環境などの影響によりその時々でばらつきを持つ値であるため、放射線の照射を停止すべき停止タイミングに対して実際に放射線の照射が停止するタイミングがずれることがありうる。そして、この場合、放射線撮影の撮影時間が安定せずに、効率的な放射線撮影を行えないという課題がある。
【0006】
本発明は、このような課題に鑑みてなされたものであり、放射線撮影の撮影時間を安定させることができるようにして、効率的な放射線撮影を行える仕組みを提供することを目的とする。
【課題を解決するための手段】
【0007】
本発明の放射線撮像装置は、放射線を照射する放射線発生装置を制御する制御装置と通信可能に構成された放射線撮像装置であって、入射した前記放射線に応じた電気信号を取得する複数の画素であって放射線画像に係る前記電気信号を取得する撮像画素と前記放射線の線量を前記電気信号に基づき検出する検出画素とを含む複数の画素を備えた画素アレイと、前記検出画素で検出された前記放射線の線量に基づいて、前記放射線発生装置における前記放射線の照射を停止させるための停止要求信号を前記制御装置に送信する制御を行うとともに、前記放射線の照射が停止した照射停止判定を行う制御手段と、前記制御手段において前記照射停止判定が行われた場合に、前記撮像画素から前記放射線画像に係る前記電気信号を読み出す読出手段と、を有する。
【発明の効果】
【0008】
本発明によれば、放射線撮影の撮影時間を安定させることができ、効率的な放射線撮影を行うことが可能になる。
【図面の簡単な説明】
【0009】
本発明の実施形態に係る放射線撮像装置の概略構成の一例を示す図である。
図1に示す増幅部の詳細な回路構成例を示す図である。
図1に示す放射線撮像装置の画素アレイ領域(撮像領域)に含まれる撮像画素、検出画素及び補正画素の概略構成の一例を示す平面図である。
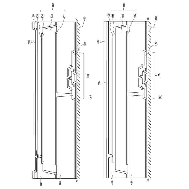
図3のA-A'線に沿った撮像画素の断面図、及び、図3のB-B'線に沿った補正画素の断面図である。
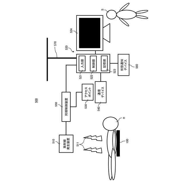
本発明の実施形態に係る放射線撮像装置を含む放射線撮影システムの概略構成の一例を示す図である。
本発明の実施形態に係る放射線撮像装置を含む放射線撮影システムの動作例を示すタイミングチャートである。
本発明の実施形態に係る放射線撮像装置の制御方法における処理手順の一例を示すフローチャートである。
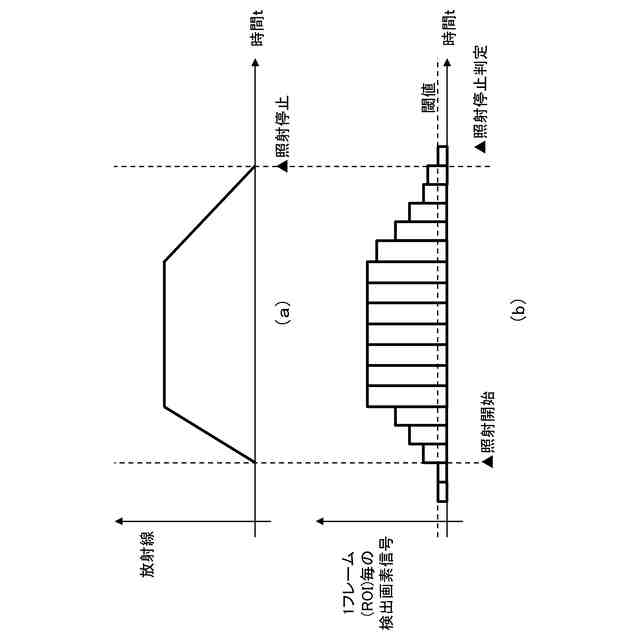
本発明の実施形態を示し、図1の制御部において検出画素から取得した電気信号(検出画素信号)に基づいて放射線の照射停止判定を行う場合を説明するための図である。
本発明の実施形態を示し、図1の制御部において検出画素から取得した放射線の積算照射線量に基づいて放射線の照射停止判定を行う場合を説明するための図である。
本発明の実施形態に係る放射線撮像装置において、放射線の照射開始と照射停止の検出及び照射停止要求信号を制御し、放射線の照射停止判定を行う場合を説明するための図である。
本発明の実施形態に係る放射線撮像装置に配置される採光野の一例を示す図である。
【発明を実施するための形態】
【0010】
以下に、図面を参照しながら、本発明を実施するための形態(実施形態)について説明する。なお、以下に記載の本発明の実施形態は、特許請求の範囲を限定するものでなく、また、本発明の実施形態で説明されている特徴の組み合わせの全てが本発明の課題を解決するための解決手段に必須のものとは限らない。
(【0011】以降は省略されています)
この特許をJ-PlatPat(特許庁公式サイト)で参照する
関連特許
個人
貼付剤
1か月前
個人
簡易担架
25日前
個人
腋臭防止剤
25日前
個人
足踏み器具
1か月前
個人
短下肢装具
4か月前
個人
嚥下鍛錬装置
5か月前
個人
前腕誘導装置
4か月前
個人
排尿補助器具
1か月前
個人
汚れ防止シート
2か月前
個人
胸骨圧迫補助具
3か月前
個人
テスト肺
6日前
個人
水分吸収性物品
4日前
個人
腰ベルト
1か月前
個人
アイマスク装置
3か月前
個人
歯の修復用材料
5か月前
個人
ウォート指圧法
1か月前
個人
哺乳瓶冷まし容器
4か月前
個人
排尿排便補助器具
27日前
個人
美容セット
1か月前
個人
介護移乗アシスト
4日前
個人
湿布連続貼り機。
3か月前
個人
陣痛緩和具
5か月前
個人
治療用酸化防御装置
2か月前
株式会社大野
骨壷
5か月前
個人
性行為補助具
4か月前
株式会社コーセー
化粧料
1か月前
個人
エア誘導コルセット
3か月前
株式会社ダリヤ
毛髪化粧料
2か月前
株式会社松風
口腔用組成物
5か月前
株式会社ニデック
眼科装置
2か月前
個人
シリンダ式歩行補助具
4か月前
株式会社ニデック
眼科装置
2か月前
個人
こむら返り応急治し具
1か月前
株式会社ダリヤ
毛髪化粧料
4日前
個人
精力増強キット
2か月前
株式会社ニデック
検眼装置
5か月前
続きを見る
他の特許を見る