TOP
|
特許
|
意匠
|
商標
特許ウォッチ
Twitter
他の特許を見る
公開番号
2025178828
公報種別
公開特許公報(A)
公開日
2025-12-09
出願番号
2024085656
出願日
2024-05-27
発明の名称
画像形成装置とその制御方法、並びにプログラム
出願人
キヤノン株式会社
代理人
弁理士法人大塚国際特許事務所
主分類
B41J
29/38 20060101AFI20251202BHJP(印刷;線画機;タイプライター;スタンプ)
要約
【課題】シート積載部にセットされた用紙サイズを検知するセンサが搭載されていない画像形成装置では、先に搬送した用紙の終端を検知できない。このため、先行シートの搬送開始から通紙可能な最長用紙を想定した時間間隔を空けて、後続のシートの搬送が開始される。このため最長用紙の長さが長いほど、紙間の搬送間隔が長くなり印刷速度が低下する。
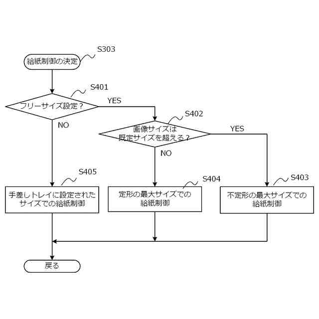
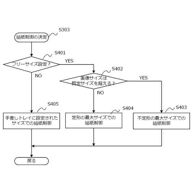
【解決手段】シート積載部の用紙情報にフリーサイズが設定されていると、印刷ジョブの画像サイズが既定サイズを超えているかどうか判定し、印刷ジョブの画像サイズが既定サイズを超えていると判定すると、印刷ジョブで使用するシートのサイズを、印刷手段が印刷可能な不定形用紙の最大サイズとする。一方、印刷ジョブの画像サイズが既定サイズを超えていないと判定すると、印刷ジョブで使用するシートのサイズを、印刷手段が印刷可能な定形用紙の最大サイズとする。
【選択図】図4
特許請求の範囲
【請求項1】
画像形成装置であって、
シート積載部から給紙されるシートに画像を印刷可能な印刷手段と、
前記シート積載部の用紙情報にフリーサイズを設定可能な第1設定手段と、
前記シート積載部のシートを使用した印刷ジョブの実行する際、前記シート積載部の用紙情報にフリーサイズが設定されているかどうか判定する第1判定手段と、
前記第1判定手段によりフリーサイズが設定されていると判定すると前記印刷ジョブの画像サイズが既定サイズを超えているかどうか判定する第2判定手段と、
前記第2判定手段が前記印刷ジョブの画像サイズが既定サイズを超えていると判定すると、前記印刷ジョブで使用するシートのサイズを、前記印刷手段が印刷可能な不定形用紙の最大サイズとして前記印刷手段による印刷を制御し、
前記第2判定手段が前記印刷ジョブの画像サイズが既定サイズを超えていないと判定すると、前記印刷ジョブで使用するシートのサイズを、前記印刷手段が印刷可能な定形用紙の最大サイズとして前記印刷手段による印刷を制御する制御手段と、
を有することを特徴とする画像形成装置。
続きを表示(約 1,300 文字)
【請求項2】
前記第2判定手段による判定結果に応じた前記制御手段による前記制御を有効にするか否かを設定可能な第2設定手段を、更に有し、
前記制御手段は、前記第2設定手段による設定に基づいて、前記第2判定手段による判定結果に応じた前記印刷手段による印刷の制御を行うことを特徴とする請求項1に記載の画像形成装置。
【請求項3】
前記第2設定手段による設定が、前記第2判定手段による判定結果に応じた前記制御手段による前記制御を無効にする設定の場合、前記制御手段は、前記印刷ジョブで使用するシートのサイズを、前記印刷手段が印刷可能な定形用紙の最大サイズとして前記印刷手段による印刷を制御することを特徴とする請求項2に記載の画像形成装置。
【請求項4】
前記既定サイズは、前記印刷手段が印刷可能な定形用紙の最大サイズであることを特徴とする請求項1に記載の画像形成装置。
【請求項5】
ユーザの操作に応じて前記既定サイズを指定する指定手段を、更に有することを特徴とする請求項1に記載の画像形成装置。
【請求項6】
前記シート積載部は、手差しトレイであることを特徴とする請求項1に記載の画像形成装置。
【請求項7】
前記定形用紙の最大サイズは、A3サイズであることを特徴とする請求項1に記載の画像形成装置。
【請求項8】
前記不定形用紙の最大サイズは、長尺用紙のサイズであることを特徴とする請求項1に記載の画像形成装置。
【請求項9】
前記画像形成装置は、前記シート積載部に積載されたシート、或いは前記シート積載部から給紙されるシートのサイズを検知するセンサを有していない画像形成装置であることを特徴とする請求項1に記載の画像形成装置。
【請求項10】
シート積載部から給紙されるシートに画像を印刷可能な印刷手段を有する画像形成装置の制御方法であって、
前記シート積載部の用紙情報にフリーサイズを設定する設定工程と、
前記シート積載部のシートを使用した印刷ジョブの実行する際、前記シート積載部の用紙情報にフリーサイズが設定されているかどうか判定する第1判定工程と、
前記第1判定工程でフリーサイズが設定されていると判定すると前記印刷ジョブの画像サイズが既定サイズを超えているかどうか判定する第2判定工程と、
前記第2判定工程が前記印刷ジョブの画像サイズが既定サイズを超えていると判定すると、前記印刷ジョブで使用するシートのサイズを、前記印刷手段が印刷可能な不定形用紙の最大サイズとして前記印刷手段による印刷を制御する工程と、
前記第2判定工程が前記印刷ジョブの画像サイズが既定サイズを超えていないと判定すると、前記印刷ジョブで使用するシートのサイズを、前記印刷手段が印刷可能な定形用紙の最大サイズとして前記印刷手段による印刷を制御する工程と、
を有することを特徴とする制御方法。
(【請求項11】以降は省略されています)
発明の詳細な説明
【技術分野】
【0001】
本発明は、画像形成装置とその制御方法、並びにプログラムに関する。
続きを表示(約 1,700 文字)
【背景技術】
【0002】
シート積載部を備える画像形成装置では、シート積載部から搬送されるシートに画像を印刷している。シート積載部には、複数のサイズのシートを積載することが可能である。また、複数のサイズのシートには、A4やB5などと呼ばれる縦横の寸法が定められた定形シートの他に、縦横が予め定められた寸法ではない不定形のシートが含まれる。定形シートは一般的なオフィス文書の印刷で用いられ、不定形シートは特殊な文書の印刷で用いられることが多い。また画像形成装置によっては、シートの短辺を先端として(即ち、縦向き)搬送することと、シートの長辺を先端として(即ち、横向き)搬送することが可能となっている。
【0003】
シート積載部にシートを装填したユーザは、どのシート積載部にどの種類のシート(A5やB5などの定形シート、縦横のサイズを予め指定した不定形シート等)を装填したかを、それらを対応付けて用紙情報として設定する必要がある。またシートの短辺を先端として搬送されるようにシートをセットしたか、シートの長辺を先端として搬送されるようにシートをセットしたかを設定することも必要である。
【0004】
このようにしてユーザが画像形成装置に設定した用紙情報と、印刷対象の画像に対して設定された情報(どのサイズのシートにどの向きで印刷するか)とに基づいて、その画像形成装置のシート積載部に装填されたシートで印刷できるかどうか判定される。また或いは印刷が実行できない場合に、エラー表示を行うかが判定される。このようにして、誤ってセットされたシート(印刷対象の画像のサイズや向きに合わないシート)に画像が印刷されてしまうといった印刷ミスの発生を防止することができる。
【0005】
また、シートのサイズを「フリーサイズ」として設定することが知られている。異なるサイズのシートを頻繁に切り替えて使用するユーザにとっては、シート積載部にシートを装填する毎にシートのサイズや向きを設定するのが煩わしいという問題がある。この問題に対して「フリーサイズ」という選択肢を設け、ユーザによって「フリーサイズ」が設定されると、印刷対象の画像に対して設定された情報(どのサイズのシートにどの向きで印刷するか、定形か不定形か)に関わらず印刷を実行することが知られている。
【0006】
一方、フリーサイズの設定では、シート積載部に積載されたシートの種類が設定されていないため、積載されているシートに応じて異なる印刷動作を実行することが考えられる。シートの種類に応じた異なる印刷動作とは、例えば電子写真方式での印刷では、シートに画像を定着させるときの搬送速度を変更して印刷することなどが挙げられる。
【0007】
特許文献1は、印刷に使用する用紙のサイズを指定しない印刷モードにおいて、積載されたシートの1枚目を搬送し、その搬送経路に設置されたセンサにより1枚目のシートのサイズを検知するまでに2枚目のシート用の画像データを生成しておく。これにより、2枚目の画像データの印刷の開始を速めることができることが記載されている。
【先行技術文献】
【特許文献】
【0008】
特開2020-142527号公報
【発明の概要】
【発明が解決しようとする課題】
【0009】
しかしながら、コスト低減にのためにシート積載部にセットされた用紙サイズを検知するセンサなどが搭載されていない画像形成装置では、先に搬送した用紙の終端を検知できない。このため後続のシートの搬送は、先行シートの搬送開始から、通紙可能な最長用紙を想定した時間間隔を空けて開始される。このため最長用紙の長さが長いほど、紙間の搬送間隔が長くなり印刷速度が低下するという課題がある。例えば、通紙可能な最長の用紙が、例えば長尺用紙のような1200mmでは、フリーサイズ設定では、シートの種類に関わらず、その長尺用紙に印刷する場合の印刷速度となってしまう。
【0010】
本発明の目的は、上記従来技術の課題の少なくとも一つを解決することにある。
(【0011】以降は省略されています)
この特許をJ-PlatPat(特許庁公式サイト)で参照する
関連特許
キヤノン株式会社
撮像装置
4日前
キヤノン株式会社
定着装置
25日前
キヤノン株式会社
撮像装置
4日前
キヤノン株式会社
撮像装置
27日前
キヤノン株式会社
記録装置
5日前
キヤノン株式会社
記録装置
5日前
キヤノン株式会社
撮像装置
13日前
キヤノン株式会社
定着装置
25日前
キヤノン株式会社
撮像装置
19日前
キヤノン株式会社
電子機器
今日
キヤノン株式会社
電子機器
27日前
キヤノン株式会社
撮像装置
19日前
キヤノン株式会社
二次電池
6日前
キヤノン株式会社
電子機器
4日前
キヤノン株式会社
撮像装置
4日前
キヤノン株式会社
定着装置
19日前
キヤノン株式会社
定着装置
19日前
キヤノン株式会社
撮像装置
4日前
キヤノン株式会社
撮像装置
11日前
キヤノン株式会社
表示装置
11日前
キヤノン株式会社
表示装置
11日前
キヤノン株式会社
記録装置
25日前
キヤノン株式会社
表示装置
4日前
キヤノン株式会社
撮像装置
4日前
キヤノン株式会社
発光装置
11日前
キヤノン株式会社
撮像装置
11日前
キヤノン株式会社
表示装置
11日前
キヤノン株式会社
定着装置
25日前
キヤノン株式会社
インク容器
5日前
キヤノン株式会社
露光ヘッド
25日前
キヤノン株式会社
画像形成装置
4日前
キヤノン株式会社
情報処理装置
19日前
キヤノン株式会社
画像形成装置
19日前
キヤノン株式会社
画像形成装置
14日前
キヤノン株式会社
画像形成装置
25日前
キヤノン株式会社
画像形成装置
14日前
続きを見る
他の特許を見る