TOP
|
特許
|
意匠
|
商標
特許ウォッチ
Twitter
他の特許を見る
公開番号
2025178815
公報種別
公開特許公報(A)
公開日
2025-12-09
出願番号
2024085640
出願日
2024-05-27
発明の名称
表面高さ分布測定方法および該装置
出願人
株式会社コベルコ科研
代理人
弁理士法人三協国際特許事務所
主分類
G01B
21/20 20060101AFI20251202BHJP(測定;試験)
要約
【課題】本発明は、測定時間を短縮化できる表面高さ分布測定方法および該装置を提供する。
【解決手段】本発明は、円板状の測定対象における表面高さ分布を測定する表面高さ分布測定方法であって、第1位置から第2位置までの間を、前記測定対象の表面までの距離を測定する変位計と前記測定対象とを相対的に移動させながら前記変位計で測定することによって、前記測定対象の第1直線上の第1表面高さ分布を測定し、その後、前記第2位置で前記測定対象を周方向に所定角度だけ回転し、前記第2位置から前記第1位置までの間を、前記変位計と前記測定対象とを相対的に移動させながら前記変位計で測定することによって、前記測定対象の中心を通る第2直線上の第2表面高さ分布を測定し、その後、前記第1位置で前記測定対象を周方向に所定角度だけ回転する。
【選択図】図1
特許請求の範囲
【請求項1】
円板状の測定対象における表面高さ分布を測定する表面高さ分布測定方法であって、
互いに異なる第1および第2位置における前記第1位置から前記第2位置までの間を、前記測定対象の表面までの距離を測定する変位計と前記測定対象とを相対的に移動させながら前記変位計で測定することによって、前記測定対象の第1直線上の第1表面高さ分布を測定する第1測定工程と、
前記第1測定工程の終了後に、前記第2位置で前記測定対象を周方向に所定角度だけ回転する第1回転工程と、
前記第2位置から前記第1位置までの間を、前記変位計と前記測定対象とを相対的に移動させながら前記変位計で測定することによって、前記測定対象の中心を通る第2直線上の第2表面高さ分布を測定する第2測定工程と、
前記第2測定工程の終了後に、前記第1位置で前記測定対象を周方向に所定角度だけ回転する第2回転工程とを備える、
表面高さ分布測定方法。
続きを表示(約 1,000 文字)
【請求項2】
前記変位計は、前記測定対象における一方の表面までの第1距離を測定する第1変位計と、前記測定対象における前記一方の表面に対向する他方の表面までの第2距離を測定する第2変位計とを備え、
前記第1測定工程は、前記第1表面高さ分布として前記一方の表面および前記他方の表面それぞれの各表面高さ分布を測定し、
前記第2測定工程は、前記第2表面高さ分布として前記一方の表面および前記他方の表面それぞれの各表面高さ分布を測定する、
請求項1に記載の表面高さ分布測定方法。
【請求項3】
前記第1位置における前記測定対象を周方向に所定角度を回転させる中心と、前記第2位置における前記測定対象を周方向に所定角度を回転させる中心と、前記円板状の測定対象の中心が、直線上に並ぶ、
請求項1に記載の表面高さ分布測定方法。
【請求項4】
前記変位計が、円板状の前記測定対象の中心を通る位置に配置されている、
請求項3に記載の表面高さ分布測定方法。
【請求項5】
円板状の測定対象における表面高さ分布を測定する表面高さ分布測定装置であって、
前記測定対象の表面までの距離を測定する変位計と、
第1位置に配置され、前記測定対象を周方向に所定角度だけ回転する第1回転部と、
前記第1位置と異なる第2位置に配置され、前記測定対象を周方向に前記所定角度だけ回転する第2回転部と、
前記第1および第2位置間を前記測定対象と前記変位計とを相対的に移動させる移動部とを備える、
表面高さ分布測定装置。
【請求項6】
前記変位計は、前記測定対象における一方の表面までの第1距離を測定する第1変位計と、前記測定対象における前記一方の表面に対向する他方の表面までの第2距離を測定する第2変位計とを備える、
請求項5に記載の表面高さ分布測定装置。
【請求項7】
前記第1位置における前記測定対象を周方向に所定角度を回転させる中心と、前記第2位置における前記測定対象を周方向に所定角度を回転させる中心と、前記円板状の測定対象の中心が、直線上に並ぶように備えられている、
請求項5に記載の表面高さ分布測定装置。
【請求項8】
前記変位計が、円板状の前記測定対象の中心を通る位置に備えられている、
請求項7に記載の表面高さ分布測定装置。
発明の詳細な説明
【技術分野】
【0001】
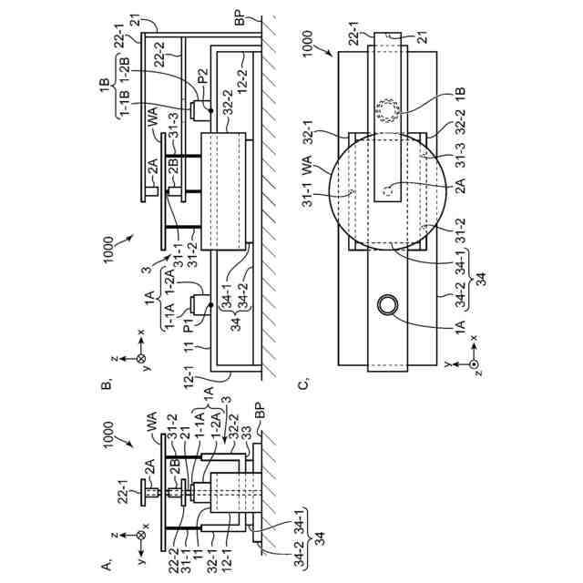
本発明は、円板状の測定対象における表面高さ分布を測定する表面高さ分布測定方法および表面高さ分布測定装置に関する。
続きを表示(約 1,700 文字)
【背景技術】
【0002】
円板状の測定対象における表面高さを測定する形状測定方法は、例えば、特許文献1に開示されている。この特許文献1に開示された平坦度測定方法は、円板状の測定対象を3点で支持するための3個の各支持部と、前記測定対象を上下それぞれから前記測定対象の上下面それぞれまでの距離を測定するための1対の静電容量式変位センサと、昇降回転装置と、計算機とを備え、前記昇降回転装置で前記測定対象を持ち上げて所定角度だけ回転させた後に降ろして前記各支持部に支持させ、前記測定対象の中心を通る直線上を走査して前記1対の静電容量式変位センサそれぞれで測定し、前記計算機で上面側の測定値および下面側の測定値に基づいて前記測定対象の厚さを求め、前記測定対象を前記昇降回転装置に戻し、前記昇降回転装置で前記測定対象を持ち上げ、回転および降すことで、次の直線上を走査、測定している。
【先行技術文献】
【特許文献】
【0003】
特開2003-75147号公報
【発明の概要】
【発明が解決しようとする課題】
【0004】
ところで、前記特許文献1に開示された平坦度測定方法は、前記昇降回転装置から往路で1個の直線上を走査して測定し、次の直線上を走査して測定するために、復路で前記昇降回転装置に戻しているので、測定時間の短縮化の観点から、改善の余地がある。
【0005】
本発明は、上述の事情に鑑みて為された発明であり、その目的は、測定時間を短縮化できる表面高さ分布測定方法および表面高さ分布測定装置を提供することである。
【課題を解決するための手段】
【0006】
本発明者は、種々検討した結果、上記目的は、以下の本発明により達成されることを見出した。すなわち、本発明の一態様にかかる表面高さ測定方法は、円板状の測定対象における表面高さ分布を測定する方法であって、互いに異なる第1および第2位置における前記第1位置から前記第2位置までの間を、前記測定対象の表面までの距離を測定する変位計と前記測定対象とを相対的に移動させながら前記変位計で測定することによって、前記測定対象の第1直線上の第1表面高さ分布を測定する第1測定工程と、前記第1測定工程の終了後に、前記第2位置で前記測定対象を周方向に所定角度だけ回転する第1回転工程と、前記第2位置から前記第1位置までの間を、前記変位計と前記測定対象とを相対的に移動させながら前記変位計で測定することによって、前記測定対象の中心を通る第2直線上の第2表面高さ分布を測定する第2測定工程と、前記第2測定工程の終了後に、前記第1位置で前記測定対象を周方向に所定角度だけ回転する第2回転工程とを備える。
【0007】
このような表面高さ分布測定方法は、第1位置から第2位置へ移動する往路および前記第2位置から前記第1位置へ移動する復路それぞれで各表面高さ分布を測定するので、測定時間を短縮化できる。
【0008】
他の一態様では、上述の表面高さ分布測定方法において、前記変位計は、前記測定対象における一方の表面までの第1距離を測定する第1変位計と、前記測定対象における前記一方の表面に対向する他方の表面までの第2距離を測定する第2変位計とを備え、前記第1測定工程は、前記第1表面高さ分布として前記一方の表面および前記他方の表面それぞれの各表面高さ分布を測定し、前記第2測定工程は、前記第2表面高さ分布として前記一方の表面および前記他方の表面それぞれの各表面高さ分布を測定する。
【0009】
このような表面高さ分布測定方法は、測定対象を介した第1および第2変位計を備えるので、測定対象における一方の表面および他方の表面それぞれの各表面高さ分布を同時に測定できる。
【0010】
他の一態様では、上述の表面高さ分布測定方法において、前記第1位置における前記測定対象を周方向に所定角度を回転させる中心と、前記第2位置における前記測定対象を周方向に所定角度を回転させる中心と、前記円板状の測定対象の中心が、直線上に並ぶ。
(【0011】以降は省略されています)
この特許をJ-PlatPat(特許庁公式サイト)で参照する
関連特許
他の特許を見る