TOP
|
特許
|
意匠
|
商標
特許ウォッチ
Twitter
他の特許を見る
10個以上の画像は省略されています。
公開番号
2025178780
公報種別
公開特許公報(A)
公開日
2025-12-09
出願番号
2024085590
出願日
2024-05-27
発明の名称
遊技機
出願人
株式会社大一商会
代理人
藤央弁理士法人
主分類
A63F
7/02 20060101AFI20251202BHJP(スポーツ;ゲーム;娯楽)
要約
【課題】遊技興趣の低下を抑制することが可能な遊技機を提供する。
【解決手段】遊技機は、第1演出、第2演出、及び第3演出を含む事前演出を実行可能であり、第1演出及び第2演出は、それぞれ始動口への遊技球の入球のタイミングで実行可能であり、第3演出は当該入球のタイミングよりもあとに実行可能とされ、第2演出は、当りとなる期待度が異なる複数の態様のうちのいずれかで表示され、所定の演出状態が開始してからの図柄変動の実行回数に基づく所定の条件が満たされた場合に、事前演出の実行が抑制される演出抑制区間が開始し、演出抑制区間において当該入球があると、事前演出のうち第2演出のみが実行可能であり、当該第2演出において当該複数の態様のうち特定態様のみが表示可能である。
【選択図】図96
特許請求の範囲
【請求項1】
始動口への入球によって抽選情報を取得し、開始条件が成立した前記抽選情報に基づいて当りであるかを判定する判定手段と、
前記開始条件の成立に基づいて図柄変動を実行する図柄変動実行手段と、
前記始動口への入球によって取得された前記抽選情報を、所定数を上限として記憶可能な記憶手段と、
前記記憶手段によって記憶されていることを表示する記憶表示手段と、
前記抽選情報に基づいて、前記判定手段による判定が行われる以前に前記当りであるかを判定する事前判定手段と、
演出を制御可能な演出制御手段と、
前記演出が実行される演出実行手段と、を備え、
前記演出は、少なくとも前記開始条件が成立する前の前記抽選情報に基づいて実行可能な事前演出、を含み、
前記事前演出は、第1演出、第2演出、及び第3演出を少なくとも含み、
前記第2演出は、前記記憶表示手段による表示とは異なり、
前記第1演出及び前記第2演出は、それぞれ前記入球があったタイミングに実行され得るのに対し、前記第3演出は前記入球があったタイミングよりもあとの所定のタイミングで実行可能とされ、
少なくとも前記第2演出は、当該第2演出が実行される契機となった入球に対応する抽選情報に基づく前記判定手段による判定結果が当りとなる期待度が異なる複数の態様のうちのいずれかで表示されるものであり、
少なくとも所定の演出状態を含む複数の演出状態のいずれかに制御可能に構成され、
前記所定の演出状態が開始してからの前記図柄変動の実行回数に基づく所定の条件が満たされた場合に、前記事前演出の実行が抑制される演出抑制区間が開始し、
前記演出抑制区間において前記入球があると、前記事前演出のうち前記第2演出のみが実行可能であり、当該第2演出において前記複数の態様のうち特定態様のみが表示開始されうる
ことを特徴とする遊技機。
発明の詳細な説明
【技術分野】
【0001】
本発明は、ぱちんこ遊技機(一般的に「パチンコ機」とも称する)や回胴式遊技機(一般的に「パチスロ機」とも称する)等の遊技機に関するものである。
続きを表示(約 5,600 文字)
【背景技術】
【0002】
従来、始動口に遊技球が入賞したことに基づいて大当りとするか否かの抽選を行うと共に表示装置に図柄を変動表示して抽選結果に応じた態様で図柄を停止表示するようにし、抽選結果が大当りとなった場合には、表示装置に大当り図柄を停止表示して大当り遊技状態を発生させる遊技機が知られている。
【0003】
また、表示装置に図柄を変動表示して抽選結果に応じた態様で図柄を停止表示する間に、当りに対する期待を示す演出を実行する遊技機が多数提案されている(例えば、特許文献1)。
【先行技術文献】
【特許文献】
【0004】
特開2010-220861号公報
【発明の概要】
【発明が解決しようとする課題】
【0005】
しかしながら、このような演出には、さらなる工夫の余地がある。そこで、本発明は、演出について工夫が施されていることにより、遊技興趣の低下を抑制することが可能な遊技機を提供することを目的とする。
【課題を解決するための手段】
【0006】
手段1:始動口への入球によって抽選情報を取得し、開始条件が成立した前記抽選情報に基づいて当りであるかを判定する判定手段と、
前記開始条件の成立に基づいて図柄変動を実行する図柄変動実行手段と、
前記始動口への入球によって取得された前記抽選情報を、所定数を上限として記憶可能な記憶手段と、
前記記憶手段によって記憶されていることを表示する記憶表示手段と、
前記抽選情報に基づいて、前記判定手段による判定が行われる以前に前記当りであるかを判定する事前判定手段と、
演出を制御可能な演出制御手段と、
前記演出が実行される演出実行手段と、を備え、
前記演出は、少なくとも前記開始条件が成立する前の前記抽選情報に基づいて実行可能な事前演出、を含み、
前記事前演出は、第1演出、第2演出、及び第3演出を少なくとも含み、
前記第2演出は、前記記憶表示手段による表示とは異なり、
前記第1演出及び前記第2演出は、それぞれ前記入球があったタイミングに実行され得るのに対し、前記第3演出は前記入球があったタイミングよりもあとの所定のタイミングで実行可能とされ、
少なくとも前記第2演出は、当該第2演出が実行される契機となった入球に対応する抽選情報に基づく前記判定手段による判定結果が当りとなる期待度が異なる複数の態様のうちのいずれかで表示されるものであり、
少なくとも所定の演出状態を含む複数の演出状態のいずれかに制御可能に構成され、
前記所定の演出状態が開始してからの前記図柄変動の実行回数に基づく所定の条件が満たされた場合に、前記事前演出の実行が抑制される演出抑制区間が開始し、
前記演出抑制区間において前記入球があると、前記事前演出のうち前記第2演出のみが実行可能であり、当該第2演出において前記複数の態様のうち特定態様のみが表示開始されうる
ことを特徴とする遊技機。
【0007】
本発明の一態様における遊技機は、
いずれも始動口への遊技球の入球に基づく第1演出、第2演出、及び第3演出を含む事前演出を実行可能であり、事前演出の少なくとも一部について、実行タイミングや実行態様や実行可能な状況が異なることにより、遊技興趣の低下を抑制することができる(例えば、段落[1231]~[1561]、図70~図101等を参照)。
【発明の効果】
【0008】
本発明によれば、遊技興趣の低下を抑制することが可能な遊技機を提供することができる。
【図面の簡単な説明】
【0009】
パチンコ機の外観の概略の一例を示す正面図である。
パチンコ機の制御構成を概略で示すブロック図である。
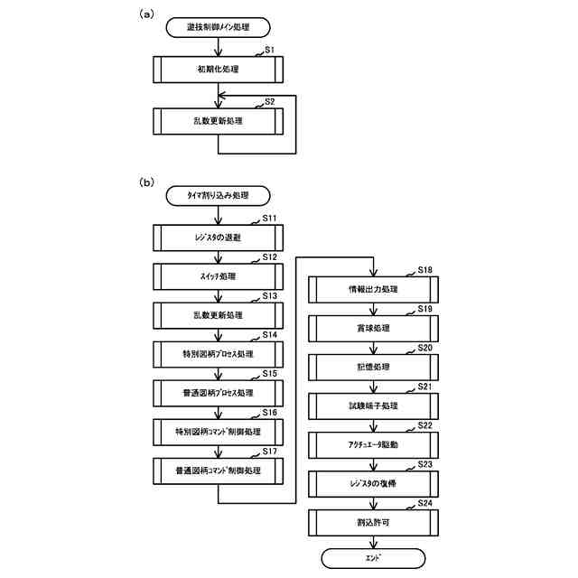
図3(a)はパチンコ機に電源が投入されたとき、主制御基板の主制御MPUによって行われる制御処理の手順を示すフローチャートであり、図3(b)は主制御基板の主制御MPUによって定期的に行われるタイマ割込制御についてその処理手順を示すフローチャートである。
特別図柄プロセス処理についてその手順を示すフローチャートである。
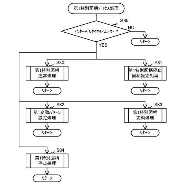
第一特別図柄プロセス処理についてその手順を示すフローチャートである。
大当り制御処理についてその手順を示すフローチャートである。
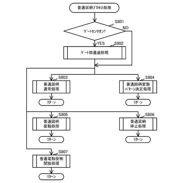
上記普通図柄プロセス処理についてその手順を示すフローチャートである。
パチンコ機に電源が投入されるとき、周辺制御基板に搭載される周辺制御MPUによって行われる制御についてその処理手順を示すフローチャートである。
サブメイン処理にて16mS毎に実行される16mS定常処理の一例を示すフローチャートである。
演出制御処理の一例を示すフローチャートである。
攻撃演出の操作有効期間(当該期間中に所定の操作部に対する所定の操作が検出される、又は当該期間の開始から所定時間が経過することで終了する期間)が発生して、当該操作有効期間中に攻撃を放つための操作がされる場合の演出例を示す説明図である。
攻撃演出の操作有効期間(当該期間中に所定の操作部に対する所定の操作が検出される、又は当該期間の開始から所定時間が経過することで終了する期間)が発生して、当該操作有効期間中に攻撃を放つための操作がされる場合の演出例を示す説明図である。
攻撃演出において、操作部を操作しない場合の演出例を示す説明図である。
攻撃演出の操作有効期間の開始時には操作部の操作が開始している場合の演出例を示す説明図である。
攻撃演出の操作有効期間の開始時には操作部の操作が開始している場合の演出例を示す説明図である。
攻撃演出の第2演出パターンの別例において、操作有効期間の前から回転操作部302が操作される演出例を示す説明図である。
押圧操作部及び回転操作部の別の構成例を示す概略図である。
キャンセル可能な攻撃演出の一例を示す説明図である。
キャンセル可能な攻撃演出の一例を示す説明図である。
探索クエスト演出において強ボスに遭遇する演出の一例を示す説明図である。
探索クエスト演出において強ボスに遭遇する演出の一例を示す説明図である。
探索クエスト演出において、珍獣である弱ボスをキャラクタが発見した場合の演出例を示す説明図である。
探索クエスト演出の別例を示す説明図である。
探索クエスト演出において、選択された2人のキャラクタが珍獣を発見できない場合の演出例を示す説明図である。
探索クエスト演出の別例を示す説明図である。
探索クエスト演出の別例を示す説明図である。
探索クエスト演出の別例である。
だるまさんが転んだ最終決戦リーチの一例を示す説明図である。
だるまさんが転んだ最終決戦リーチの一例を示す説明図である。
だるまさんが転んだチャンスの一例を示す説明図である。
駅伝演出の一例を示す説明図である。
駅伝演出の別例を示す説明図である。
駅伝演出の別例を示す説明図である。
駅伝演出の別例を示す説明図である。
駅伝演出の別例を示す説明図である。
駅伝演出に含まれる中継所演出及び区間突破演出の別例を示す図である。
駅伝演出の別例を示す説明図である。
駅伝演出の別例を示す説明図である。
変動パターンテーブルのデータ構成例を示す図である。
リーチ選択予告演出のタイミングチャートの一例を示す図である。
リーチ選択予告演出の一例を示す説明図である。
リーチ選択予告演出の一例を示す説明図である。
リーチ選択予告演出の別例を示す説明図である。
リーチ選択予告演出中に実行される星変更演出の一例を示す説明図である。
リーチ昇格予告演出のタイミングチャートの一例を示す図である。
リーチ昇格予告演出の一例を示す説明図である。
リーチ昇格予告演出の一例を示す説明図である。
リーチ実行予告演出のタイミングチャートの一例を示す図である。
リーチ実行予告演出の一例を示す説明図である。
リーチ実行予告演出の一例を示す説明図である。
リーチ実行予告演出の一例を示す説明図である。
リーチ実行予告演出において武器が選択されなかった場合の演出例を示す説明図である。
リーチ実行予告演出で用いられるキャラ装備振り分けテーブルのデータ構成例を示す図である。
カップル演出の一例を示す説明図である。
スマートボールクルーン演出の演出パターンを決定するためのパターン振り分けテーブルのデータ構成例を示す図である。
スマートボールクルーン演出の一例を示す説明図である。
スマートボールクルーン演出の一例を示す説明図である。
スマートボールクルーン演出におけるクルーン上で球が周回する演出の一例を示す説明図である。
バトル演出の一例を示す説明図である。
バトル演出の一例を示す説明図である。
バトル演出の別例を示す説明図である。
バトル演出の別例を示す説明図である。
バトル演出の別例を示す説明図である。
バトル演出の別例を示す説明図である。
バトル演出の別例を示す説明図である。
バトル演出の別例を示す説明図である。
バトル演出の別例を示す説明図である。
バトル演出の別例を示す説明図である。
バトル演出の別例を示す説明図である。
お見合いSPリーチを含む演出の一例を示す説明図である。
お見合いSPリーチを含む演出の一例を示す説明図である。
お見合いSPリーチを含む演出の一例を示す説明図である。
お見合いSPリーチを含む演出の一例を示す説明図である。
大当り変動におけるお見合いSPリーチ演出の一例を示す説明図である。
第一始動口への1回の入球に基づいて、相談所演出、男性キャラクタ演出、及び申し込み演出が実行される場合のタイミングチャートの一例である。
お見合いSPリーチではずれが報知された後の演出の一例を示す説明図である。
相談所演出及び男性キャラクタ演出の一例を示す説明図である。
お見合いSPリーチが実行されて、当該お見合いSPリーチではずれが報知される変動のタイミングチャートの一例である。
お見合いアポ取り演出が実行されて、当該お見合いアポ取り演出ではずれが報知される変動のタイミングチャートの一例である。
リーチ演出が実行されずに(装飾図柄がリーチを形成することなく)はずれが報知される変動のタイミングチャートの一例である。
お見合いクイズ演出を含む演出の一例を示す説明図である。
お見合いクイズ演出を含む演出の一例を示す説明図である。
相談所演出及び男性キャラクタ演出が実行されるものの、申し込み演出が実行されない場合の演出の一例を示す説明図である。
お見合いクイズ演出を含む演出の別例を示す説明図である。
お見合いクイズ演出を含む演出の別例を示す説明図である。
お見合いSPリーチを含む演出の別例を示す説明図である。
お見合いSPリーチを含む演出の別例を示す説明図である。
乗り物演出を含む演出の一例を示す説明図である。
乗り物演出を含む演出の一例を示す説明図である。
乗り物演出を含む演出の一例を示す説明図である。
第一始動口への1回の入球に基づいて、相談所演出、男性キャラクタ演出、乗り物演出、及び申し込み演出が実行される場合のタイミングチャートの一例である。
演出モード選択を含む演出の一例を示す説明図である。
演出モード選択を含む演出の別例を示す説明図である。
可動体が動作する演出が実行されているときの先読み演出の一例を示す説明図である。
可動体が動作する演出が実行されているときの先読み演出の一例を示す説明図である。
荒野ステージから森ステージへ遷移するときの演出の一例を示す説明図である。
森ステージから大都会ステージへ遷移するときの演出の一例を示す説明図である。
大都会ステージから都会ステージへ遷移するときの演出の一例を示す説明図である。
都会ステージから荒野ステージへ遷移するときの演出の一例を示す説明図である。
相談所演出選択テーブルの一例を示す図である。
【発明を実施するための形態】
【0010】
[1.パチンコ機の構成例]
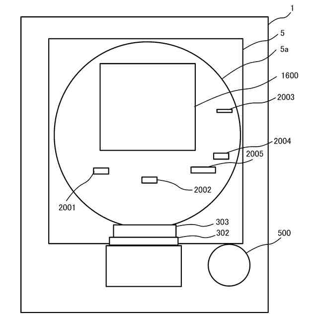
図1は、パチンコ機1の外観の概略の一例を示す正面図である。パチンコ機1は、遊技ホールの島設備(図示しない)に設置される。パチンコ機1は、遊技者側から視認可能とされ遊技者によって遊技球が打込まれ、遊技球が流下可能な遊技領域5aを有した遊技盤5を備える。
(【0011】以降は省略されています)
この特許をJ-PlatPat(特許庁公式サイト)で参照する
関連特許
個人
玩具
2か月前
個人
自走玩具
2か月前
個人
小型卓球台
1か月前
個人
パズル
1か月前
個人
打撃練習用具
2か月前
株式会社三共
遊技機
2か月前
株式会社三共
遊技機
2か月前
株式会社三共
遊技機
2か月前
株式会社三共
遊技機
2か月前
株式会社三共
遊技機
2か月前
株式会社三共
遊技機
2か月前
株式会社三共
遊技機
2か月前
株式会社三共
遊技機
2か月前
株式会社三共
遊技機
2か月前
株式会社三共
遊技機
2か月前
株式会社三共
遊技機
2か月前
株式会社三共
遊技機
2か月前
株式会社三共
遊技機
2か月前
株式会社三共
遊技機
2か月前
株式会社三共
遊技機
2か月前
株式会社三共
遊技機
2か月前
株式会社三共
遊技機
2か月前
株式会社三共
遊技機
2か月前
株式会社三共
遊技機
1か月前
株式会社三共
遊技機
1か月前
株式会社三共
遊技機
1か月前
株式会社三共
遊技機
2か月前
株式会社三共
遊技機
3か月前
株式会社三共
遊技機
1か月前
株式会社三共
遊技機
3か月前
株式会社三共
遊技機
2か月前
株式会社三共
遊技機
2か月前
株式会社三共
遊技機
2か月前
株式会社三共
遊技機
2か月前
株式会社三共
遊技機
2か月前
株式会社三共
遊技機
2か月前
続きを見る
他の特許を見る