TOP
|
特許
|
意匠
|
商標
特許ウォッチ
Twitter
他の特許を見る
公開番号
2025178736
公報種別
公開特許公報(A)
公開日
2025-12-09
出願番号
2024085521
出願日
2024-05-27
発明の名称
画像形成装置、画像形成装置の制御方法及びプログラム
出願人
キヤノン株式会社
代理人
個人
主分類
B41J
29/42 20060101AFI20251202BHJP(印刷;線画機;タイプライター;スタンプ)
要約
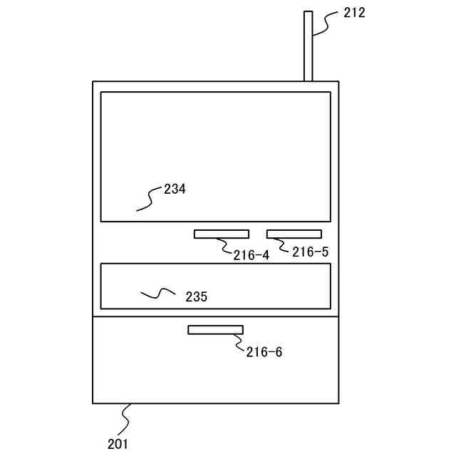
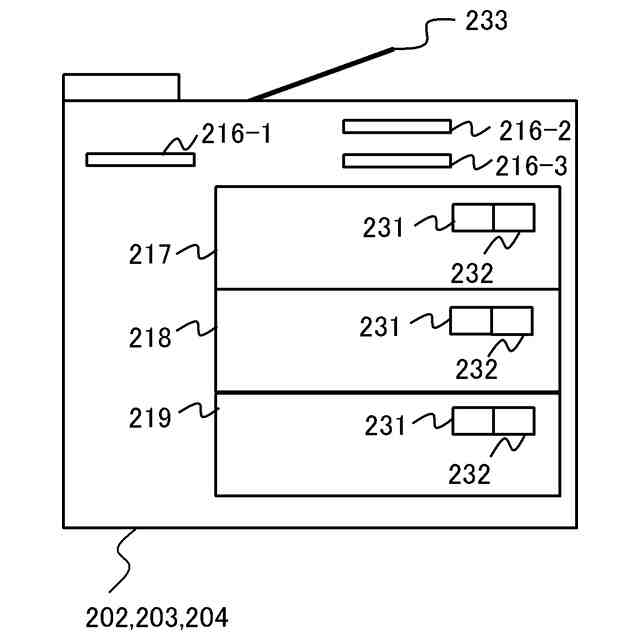
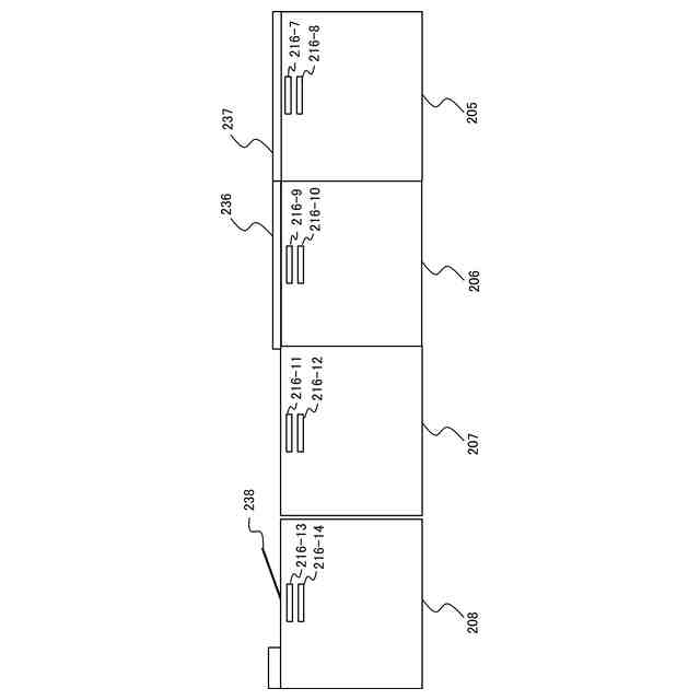
【課題】排紙された用紙の枚数が閾値に達した排紙先を簡単に把握できるようにする。
【解決手段】画像形成装置は、複数の排紙先の各々ごとに、排紙先に排紙された用紙の枚数をカウントするカウント手段と、前記排紙先に排紙された用紙の枚数が第一の閾値に達した場合、前記排紙先に排紙された用紙の枚数が前記第一の閾値に達した排紙先に備えられた発光装置が点灯するように制御する制御手段とを有する。
【選択図】図9A
特許請求の範囲
【請求項1】
複数の排紙先の各々ごとに、排紙先に排紙された用紙の枚数をカウントするカウント手段と、
前記排紙先に排紙された用紙の枚数が第一の閾値に達した場合、前記排紙先に排紙された用紙の枚数が前記第一の閾値に達した排紙先に備えられた発光装置が点灯するように制御する制御手段と
を有することを特徴とする画像形成装置。
続きを表示(約 1,500 文字)
【請求項2】
前記制御手段は、
前記排紙先に排紙された用紙の枚数が前記第一の閾値に達した場合、前記排紙先に排紙された用紙の枚数が前記第一の閾値に達した排紙先に備えられた発光装置が第一の態様で点灯するように制御し、
前記排紙先に排紙された用紙の枚数が前記第一の閾値とは異なる第二の閾値に達した場合、前記排紙先に排紙された用紙の枚数が前記第二の閾値に達した排紙先に備えられた発光装置が前記第一の態様とは異なる第二の態様で点灯するように制御することを特徴とする請求項1に記載の画像形成装置。
【請求項3】
前記第一の態様は、第一の色であり、
前記第二の態様は、前記第一の色とは異なる第二の色であることを特徴とする請求項2に記載の画像形成装置。
【請求項4】
前記制御手段は、前記排紙先に排紙された用紙の枚数が前記第一の閾値に達した排紙先に備えられた発光装置が点灯するように制御した後、前記排紙先に排紙された用紙の枚数が前記第一の閾値に達した排紙先の用紙が取り除かれた場合、前記用紙が取り除かれた排紙先に備えられた発光装置が消灯するように制御することを特徴とする請求項1に記載の画像形成装置。
【請求項5】
前記カウント手段は、前記排紙先に排紙された用紙の枚数が前記第一の閾値に達した排紙先の用紙が取り除かれた場合、前記用紙が取り除かれた排紙先に排紙された用紙の枚数をリセットすることを特徴とする請求項4に記載の画像形成装置。
【請求項6】
前記排紙先に排紙された用紙の枚数が前記第一の閾値に達した場合、前記排紙先に排紙された用紙の枚数が前記第一の閾値に達した排紙先に備えられた発光装置が点灯し、前記画像形成装置に備えられた発光装置が点灯するように制御することを特徴とする請求項1に記載の画像形成装置。
【請求項7】
前記制御手段は、
前記排紙先に排紙された用紙の枚数が前記第一の閾値に達した場合、前記排紙先に排紙された用紙の枚数が前記第一の閾値に達した排紙先に備えられた発光装置が第一の態様で点灯し、前記画像形成装置に備えられた発光装置が第三の態様で点灯するように制御し、
前記排紙先に排紙された用紙の枚数が前記第一の閾値とは異なる第二の閾値に達した場合、前記排紙先に排紙された用紙の枚数が前記第二の閾値に達した排紙先に備えられた発光装置が前記第一の態様とは異なる第二の態様で点灯し、前記画像形成装置に備えられた発光装置が第四の態様で点灯するように制御することを特徴とする請求項2に記載の画像形成装置。
【請求項8】
前記第一の態様は、第一の色であり、
前記第二の態様は、前記第一の色とは異なる第二の色であり、
前記第三の態様は、第三の色であり、
前記第四の態様は、前記第三の色とは異なる第四の色であることを特徴とする請求項7に記載の画像形成装置。
【請求項9】
前記第三の色は、前記第一の色と同じであり、
前記第四の色は、前記第二の色と同じであることを特徴とする請求項8に記載の画像形成装置。
【請求項10】
前記制御手段は、前記排紙先に排紙された用紙の枚数が前記第二の閾値に達し、かつ、前記排紙先に排紙された用紙の枚数が前記第二の閾値に達した排紙先がスタッカ内である場合、前記スタッカに備えられた用紙排出ボタンが点灯するように制御することを特徴とする請求項2に記載の画像形成装置。
(【請求項11】以降は省略されています)
発明の詳細な説明
【技術分野】
【0001】
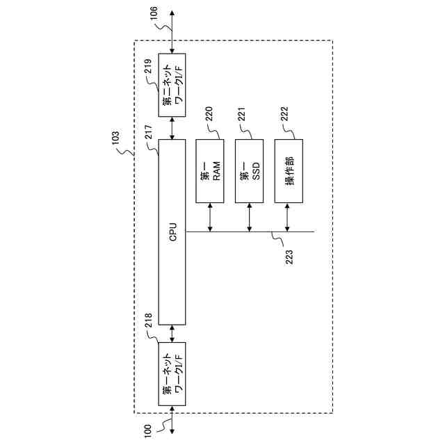
本発明は、画像形成装置、画像形成装置の制御方法及びプログラムに関する。
続きを表示(約 1,300 文字)
【背景技術】
【0002】
従来、画像形成装置は、ジャムや紙無し、トレイフル等を含むエラー事象を各種通知手段、表示手段によって情報提示を行っていた。具体的には、操作部にメッセージを表示、又はランプを画像形成装置に装着させ、該ランプの点灯並びに点灯色によってエラー事象の発生とその種別に関する情報提示を行っていた。また、印刷状況を操作部に表示させ、各排紙先がいつ頃満載になるのかをオペレータに視認させていた。
【0003】
特許文献1には、シートに画像を形成して印刷物を作成する画像形成手段と、画像形成手段によって作成された印刷物を収納する複数の収納部と、印刷物をグループ毎に異なった収納部に排出する仕分け手段を有する印刷装置が開示されている。この印刷装置は、複数の収納部の全てに印刷物が収納された状態に近づいたニアフル状態となったか否かを判断する判断手段を有する。
【先行技術文献】
【特許文献】
【0004】
特開2011-201676号公報
【発明の概要】
【発明が解決しようとする課題】
【0005】
画像形成装置に生じるエラー事象は、様々であり、かつ、画像形成装置のエラー発生個所は画像形成装置に備わる給排紙装置や搬送パスなどにも及ぶ。一方で、従来技術においては、画像形成装置のみが操作部やランプを有し、操作部上の表示や、ランプ点灯によってエラー通知を行っていたため、次に示すような課題が存在していた。
【0006】
第一に、ランプ等は、情報提供手段が単純であるために、複雑な事象を通知することができない。換言すれば、エラーが発生した旨、並びにエラーの深刻度(装置の停止を引き起こしたエラーもしくは警告)の情報を提示するにとどまっていた。そのために、画像形成装置のどの部位に如何なる内容のエラー事象が生じたのかに関する情報を提供することができなかった。
【0007】
第二に、操作部は、豊富な情報提示を行える一方で、情報を取得しようとする操作者が情報を得るためには操作部が設置された箇所まで移動することを要する。すなわち、装置に生じたエラーの箇所とその内容に関する情報を得るために、都度操作部が設置された場所まで移動する必要があった。
【0008】
上述した従来技術におけるいずれの情報提示手段も画像形成装置に生じるエラー事象の場所並びにエラー事象情報の提示手段として効率的なものではないために、操作者に画像形成装置を効率的に利用する上で効果的な手段を提供することができていなかった。
【0009】
本発明の目的は、排紙された用紙の枚数が閾値に達した排紙先を簡単に把握できるようにすることである。
【課題を解決するための手段】
【0010】
画像形成装置は、複数の排紙先の各々ごとに、排紙先に排紙された用紙の枚数をカウントするカウント手段と、前記排紙先に排紙された用紙の枚数が第一の閾値に達した場合、前記排紙先に排紙された用紙の枚数が前記第一の閾値に達した排紙先に備えられた発光装置が点灯するように制御する制御手段とを有する。
【発明の効果】
(【0011】以降は省略されています)
この特許をJ-PlatPat(特許庁公式サイト)で参照する
関連特許
キヤノン株式会社
容器
1か月前
キヤノン株式会社
容器
1か月前
キヤノン株式会社
トナー
1か月前
キヤノン株式会社
トナー
1か月前
キヤノン株式会社
記録装置
1か月前
キヤノン株式会社
撮像装置
5日前
キヤノン株式会社
表示装置
5日前
キヤノン株式会社
記録装置
1か月前
キヤノン株式会社
電子機器
1か月前
キヤノン株式会社
記録装置
1か月前
キヤノン株式会社
定着装置
26日前
キヤノン株式会社
電子機器
1か月前
キヤノン株式会社
撮像装置
1か月前
キヤノン株式会社
撮像装置
1か月前
キヤノン株式会社
撮像装置
1か月前
キヤノン株式会社
撮像装置
1か月前
キヤノン株式会社
電子機器
5日前
キヤノン株式会社
撮像装置
5日前
キヤノン株式会社
表示装置
12日前
キヤノン株式会社
二次電池
7日前
キヤノン株式会社
発光装置
12日前
キヤノン株式会社
測距装置
1か月前
キヤノン株式会社
定着装置
26日前
キヤノン株式会社
雲台装置
1か月前
キヤノン株式会社
撮像装置
1か月前
キヤノン株式会社
電子機器
28日前
キヤノン株式会社
記録装置
26日前
キヤノン株式会社
撮像装置
5日前
キヤノン株式会社
撮像装置
5日前
キヤノン株式会社
撮像装置
5日前
キヤノン株式会社
撮像装置
12日前
キヤノン株式会社
撮像装置
28日前
キヤノン株式会社
記録装置
6日前
キヤノン株式会社
記録装置
6日前
キヤノン株式会社
現像装置
1か月前
キヤノン株式会社
定着装置
26日前
続きを見る
他の特許を見る