TOP
|
特許
|
意匠
|
商標
特許ウォッチ
Twitter
他の特許を見る
公開番号
2025178709
公報種別
公開特許公報(A)
公開日
2025-12-09
出願番号
2024085478
出願日
2024-05-27
発明の名称
気吹き装置、装炭車、炉頂の清掃方法
出願人
住友重機械プロセス機器株式会社
,
日本製鉄株式会社
代理人
個人
,
個人
主分類
C10B
43/02 20060101AFI20251202BHJP(石油,ガスまたはコークス工業;一酸化炭素を含有する工業ガス;燃料;潤滑剤;でい炭)
要約
【課題】本開示は、炉頂の清掃効率を向上可能な炉頂クリーナを提供することを目的の一つとしている。
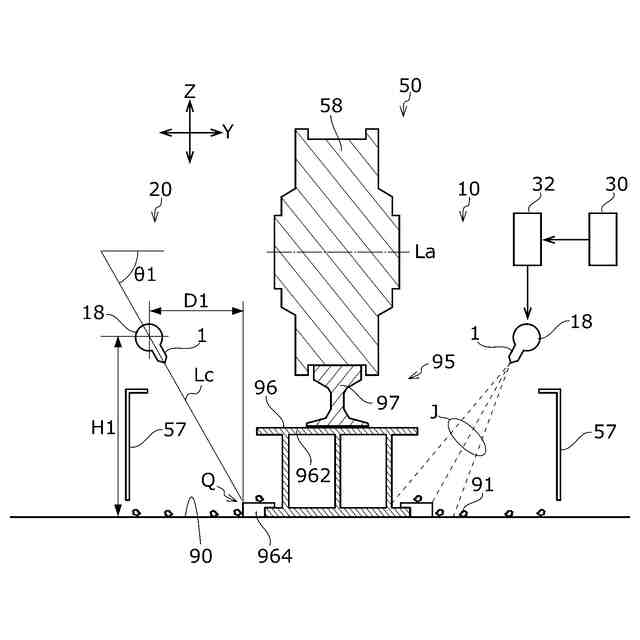
【解決手段】本開示の気吹き装置10は、コークス炉100の装入口92に石炭を装入する装炭部52を有する装炭車50に搭載され、装炭車50の走行用の軌条95の周囲を気吹く気吹き装置であって、装炭部52により石炭が装入された対象装入口92Aの近傍領域94で軌条の周囲に圧縮空気を気吹く気吹ノズル1を備える。気吹ノズル1は、装炭車50が第1方向に走行するとき、対象装入口92Aに接近したら気吹きを開始し、対象装入口92Aを通過したら気吹きを停止する。
【選択図】図1
特許請求の範囲
【請求項1】
コークス炉の装入口に石炭を装入する装炭部を有する装炭車に搭載され、前記装炭車の走行用の軌条の周囲を気吹く気吹き装置であって、
前記装炭部により石炭が装入された対象装入口の近傍領域で前記軌条の周囲に圧縮空気を気吹く気吹ノズルを備え、
前記気吹ノズルは、前記装炭車が第1方向に走行するとき、前記対象装入口に接近したら気吹きを開始し、前記対象装入口を通過したら気吹きを停止する、気吹き装置。
続きを表示(約 900 文字)
【請求項2】
前記気吹ノズルは、圧縮空気の主流が、前記装炭車の走行用の軌条と炉頂面とに介在する軌条架台に到達するように気吹きする、請求項1に記載の気吹き装置。
【請求項3】
前記気吹ノズルの先端は、前記装炭車の走行用の車輪の回転軸線よりも低位置であって、前記軌条架台よりも高位置に配置される、請求項2に記載の気吹き装置。
【請求項4】
前記気吹ノズルは、前記気吹ノズルに圧縮空気を供給する給気パイプの第1方向に沿って延びる水平部分に装着される、請求項1に記載の気吹き装置。
【請求項5】
前記気吹ノズルは、水平面に対して斜め下向きに0°よりも大きく90°よりも小さい範囲で傾斜する、請求項4に記載の気吹き装置。
【請求項6】
前記水平部分の炉頂面からの高さは、300mm以上で600mm以下である、請求項4に記載の気吹き装置。
【請求項7】
前記気吹ノズルは、第1方向に沿って互いに間隔を隔てて複数設けられる、請求項5に記載の気吹き装置。
【請求項8】
前記気吹ノズルの気吹きによる石炭の飛散範囲を規制するための飛散規制部材を有する、請求項1に記載の気吹き装置。
【請求項9】
軌条を走行する走行部と、
コークス炉の装入口に石炭を装入する装炭部と、
前記装炭部により石炭が装入された対象装入口の近傍領域で前記軌条の周囲に圧縮空気を気吹きする気吹ノズルと、
前記気吹ノズルにより気吹された石炭を吸引する吸気ノズルと、
を備える装炭車。
【請求項10】
コークス炉の装入口に石炭を装入する装炭部と、圧縮空気を気吹きする気吹ノズルと、吸気ノズルと、を有し、軌条を走行する装炭車によって炉頂を清掃する方法であって、
前記装炭部により石炭が装入された装入口の近傍領域で前記軌条に前記気吹ノズルから圧縮空気を気吹きする気吹工程と、
前記気吹ノズルにより気吹された石炭を前記吸気ノズルにより吸引する工程と、
を含む清掃方法。
発明の詳細な説明
【技術分野】
【0001】
本発明は、気吹き装置、装炭車および炉頂の清掃方法に関する。
続きを表示(約 1,300 文字)
【背景技術】
【0002】
コークス炉の炉上を掃除するクリーナが知られている。例えば、特許文献1には、装炭車走行軌条の両側面近傍に堆積する粉塵を回収するためのコークス炉の炉上クリーナが記載されている。このクリーナは、装炭車上に装炭車軌条と直交する軌条上を走行する台車を備える。この台車は、走行しながら粉塵を吸引する吸引ノズルと、吸引ノズルの両側面に圧縮空気噴出ノズルとを有する。
【先行技術文献】
【特許文献】
【0003】
実全昭56-146745号公報
【発明の概要】
【発明が解決しようとする課題】
【0004】
炉頂クリーナは、コークス炉の装炭車に搭載され、吸気ノズルを移動させながら装入口周辺にこぼれた石炭を吸引する装置である。また、炉頂クリーナは吹出ノズルから圧縮空気を吹き出し、こぼれた石炭を吸気ノズルに近づける。
【0005】
しかし、装炭車に搭載可能なコンプレッサの能力には制限があり、走行中に常に圧縮空気を吹き出す場合、吹き出す空気の圧力が下がる。そのため、こぼれた石炭を効率的に移動させることは難しい。
【0006】
本開示は、このような課題に鑑みてなされたもので、炉頂の清掃効率を向上可能な気吹き装置を提供することを目的の一つとしている。
【課題を解決するための手段】
【0007】
上記課題を解決するために、本発明のある態様の気吹き装置は、コークス炉の装入口に石炭を装入する装炭部を有する装炭車に搭載され、装炭車の走行用の軌条の周囲を気吹く気吹き装置であって、装炭部により石炭が装入された対象装入口の近傍領域で軌条の周囲に圧縮空気を気吹く気吹ノズルを備える。気吹ノズルは、装炭車が第1方向に走行するとき、対象装入口に接近したら気吹きを開始し、対象装入口を通過したら気吹きを停止する。
【0008】
本発明の別の態様は装炭車である。この装炭車は、軌条を走行する走行部と、コークス炉の装入口に石炭を装入する装炭部と、装炭部により石炭が装入された対象装入口の近傍領域で軌条の周囲に圧縮空気を気吹きする気吹ノズルと、気吹ノズルにより気吹された石炭を吸引する吸気ノズルと、を備える。
【0009】
本発明のさらに別の態様は、炉頂の清掃方法である。この方法は、コークス炉の装入口に石炭を装入する装炭部と、圧縮空気を気吹きする気吹ノズルと、吸気ノズルと、を有し、軌条を走行する装炭車によって炉頂を清掃する方法であって、装炭部により石炭が装入された装入口の近傍領域で軌条に気吹ノズルから圧縮空気を気吹きする気吹工程と、気吹ノズルにより気吹された石炭を吸気ノズルにより吸引する工程と、を含む。
【0010】
なお、以上の構成要素の任意の組み合わせや、本発明の構成要素や表現を方法、システムなどの間で相互に置換したものもまた、本発明の態様として有効である。
【発明の効果】
(【0011】以降は省略されています)
この特許をJ-PlatPat(特許庁公式サイト)で参照する
関連特許
日油株式会社
潤滑油組成物
11日前
株式会社クボタ
竪型の反応炉
19日前
三菱重工業株式会社
炭化炉
6日前
株式会社アイシン
潤滑油
4日前
出光興産株式会社
ディーゼル燃料油組成物
5日前
ENEOS株式会社
炭化水素製造装置
19日前
日本製鉄株式会社
煉瓦プレハブブロックの配置構造、配置方法
6日前
日本製鉄株式会社
電気炉用炭材および電気炉用炭材の製造方法
11日前
協同油脂株式会社
グリース組成物及びそれを封入した等速ジョイント
今日
住友重機械プロセス機器株式会社
気吹き装置、装炭車、炉頂の清掃方法
今日
株式会社ダイセル
アルミニウム合金製摺動部材用潤滑剤
4日前
日鉄エンジニアリング株式会社
コークス乾式消火設備及びそのスローピングフリュー部構造
19日前
日本製鉄株式会社
煉瓦プレハブブロック、及びその製造方法、配置構造、配置方法
6日前
鉄建建設株式会社
ガス化方法及び半炭化燃料材の製造方法
19日前
株式会社神鋼環境ソリューション
炭化物処理装置及び炭化物処理方法
4日前
一般財団法人カーボンニュートラル燃料技術センター
原油サンプルの特性情報をコンピュータにより予測する方法
19日前
アフトン・ケミカル・コーポレーション
高温堆積物を低減するための潤滑組成物
13日前
アネロテック・インコーポレイテッド
プラスチックの流動床触媒熱分解プロセスにおける触媒及びガスから充填剤を分離する高効率プロセス
21日前
シェブロン ユー.エス.エー. インコーポレイテッド
直接噴射火花点火エンジンにおける低速過早点火を防止または低減するための組成物及び方法
今日
シェブロン・オロナイト・カンパニー・エルエルシー
直接噴射火花点火ガソリンエンジンの噴射装置の付着物を低減するための燃料添加剤としてのアリールオキシアルキルアミン
13日前
キヤノン株式会社
情報処理装置、情報処理装置の制御方法、及びプログラム
4日前
ブラザー工業株式会社
ラベルプリンタおよび印刷システム
今日
メクテック株式会社
電装品及び補強板
4日前
株式会社デンソー
電子制御装置
4日前
株式会社村田製作所
積層コイル部品
21日前
花王株式会社
減量効果を予測するための方法
13日前
三星エスディアイ株式会社
レジスト下層膜用組成物およびこれを利用したパターン形成方法
4日前
エンドポイント ヘルス インコーポレイテッド
宿主反応調節不全の治療を誘導するためのバイオマーカーパネル
4日前
三星エスディアイ株式会社
感光性樹脂組成物、感光性樹脂膜、ディスプレイ装置、および感光性樹脂膜の製造方法
6日前
上海施江生物科技有限公司
ベンゼン環系化合物
13日前
フロンティア・ラボ株式会社
高分子試料分析装置
4日前
JFEプラントエンジ株式会社
電気設備の検電実習装置及び検電実習方法
6日前
ウェラ ジャーマニー ゲーエムベーハー
頭皮のマイクロバイオームを維持及び/又は回復するための化粧料組成物の使用
11日前
ザンクト アンナ キンダークレプスフォルシュング
キメラ抗原受容体(CAR)の群
1日前
シャープ株式会社
表示装置の取付構造および表示装置
4日前
キヤノン株式会社
画像形成装置、情報処理装置、それらの制御方法及びプログラム
4日前
続きを見る
他の特許を見る