TOP
|
特許
|
意匠
|
商標
特許ウォッチ
Twitter
他の特許を見る
10個以上の画像は省略されています。
公開番号
2025178690
公報種別
公開特許公報(A)
公開日
2025-12-09
出願番号
2024085446
出願日
2024-05-27
発明の名称
アプリケーションプログラム、情報処理装置の制御方法、及び情報処理装置
出願人
キヤノン株式会社
代理人
個人
主分類
G06F
3/12 20060101AFI20251202BHJP(計算;計数)
要約
【課題】汎用印刷ソフトウェアを使った印刷において、メーカー独自の機能である解像度での印刷を実現することができる仕組みを提供する。
【解決手段】ホストコンピュータ101は、複数のメーカーの提供する印刷装置で共通して利用可能な汎用印刷ソフトウェアの機能を拡張アプリケーションにより拡張し、メーカー独自のラスタライズ処理を実現するための制御を行う際、汎用印刷ソフトウェアの機能によりユーザから印刷設定が指示された際、詳細設定画面300cでユーザからラスタライズ処理の際の解像度設定を受け付け、印刷データ及び詳細設定画面300cで受け付けた解像度設定を、ホストコンピュータ101に通信可能に接続される印刷装置102に送信する。
【選択図】図8
特許請求の範囲
【請求項1】
情報処理装置において、複数のメーカーの提供する印刷装置で共通して利用可能な汎用印刷ソフトウェアの機能を拡張し、メーカー独自のラスタライズ処理を実現するための制御を行うためのプログラムであって、
前記情報処理装置のコンピュータを、
前記汎用印刷ソフトウェアの機能によりユーザから印刷設定が指示された際、前記ユーザからラスタライズ処理の際の解像度設定を受け付ける受付手段と、
印刷データ及び前記受付手段で受け付けた解像度設定を、前記情報処理装置に通信可能に接続される第1の印刷装置に送信する送信手段として、
機能させるためのプログラム。
続きを表示(約 2,200 文字)
【請求項2】
前記受付手段は、前記ラスタライズ処理の際の解像度設定として、2以上の解像度設定のうちの1つを前記ユーザから受け付けることを特徴とする請求項1記載のプログラム。
【請求項3】
前記コンピュータを、
前記第1の印刷装置から、前記第1の印刷装置の能力情報を取得する取得手段としてさらに機能させることを特徴とする請求項2記載のプログラム。
【請求項4】
前記コンピュータを、
前記メーカー独自のラスタライズ処理を含む画像処理を実行する画像処理手段としてさらに機能させ、
前記取得手段で取得された前記第1の印刷装置の能力情報が、前記2以上の解像度設定の1つである第1の解像度でのラスタライズ処理は、前記画像処理手段より前記第1の印刷装置の方が高速に実行できることを示す情報であった場合、
前記画像処理手段は、
前記受付手段で受け付けた解像度設定が前記第1の解像度以外の解像度である場合のみ、前記受付手段で受け付けた解像度設定でのラスタライズ処理を含む画像処理を前記印刷データに対して行い、
前記送信手段は、
前記受付手段で受け付けた解像度設定が前記第1の解像度である場合のみ、印刷データ及び前記受付手段で受け付けた解像度設定を前記第1の印刷装置に送信し、
前記受付手段で受け付けた解像度設定が前記第1の解像度以外の解像度である場合、前記解像度設定を前記第1の印刷装置に送信することなく、前記受付手段で受け付けた解像度設定でのラスタライズ処理を含む画像処理が前記画像処理手段で行われた後の前記印刷データを前記第1の印刷装置に送信することを特徴とする請求項3記載のプログラム。
【請求項5】
前記送信手段は、前記取得手段で取得された前記第1の印刷装置の能力情報が、前記2以上の解像度設定のいずれのラスタライズ処理を行う手段も前記第1の印刷装置が有さないことを示す情報であった場合、前記解像度設定を前記第1の印刷装置に送信することなく、前記受付手段で受け付けた解像度設定でのラスタライズ処理を含む画像処理が前記画像処理手段で行われた後の前記印刷データを前記第1の印刷装置に送信することを特徴とする請求項4記載のプログラム。
【請求項6】
前記印刷データは、2以上のオブジェクトからなるベクタ画像を含み、
前記コンピュータを、
前記印刷データ内の、前記2以上のオブジェクトの夫々のデータサイズを算出する第1の算出手段と、
前記受付手段で受け付けた解像度設定に基づいて、前記2以上のオブジェクトの夫々に対してラスタライズ処理を行うオブジェクトラスタライズ手段と、
前記2以上のオブジェクトに対して前記オブジェクトラスタライズ手段によるラスタライズ処理後のオブジェクトのデータサイズを算出する第2の算出手段と、
前記2以上のオブジェクトのうち、前記第1の算出手段で算出されたデータサイズが、前記第2の算出手段で算出されたデータサイズより小さい第1のオブジェクトについては、前記オブジェクトラスタライズ手段によるラスタライズ処理前のオブジェクトを選択し、前記2以上のオブジェクトのうち、前記第1の算出手段で算出されたデータサイズが、前記第2の算出手段で算出されたデータサイズと同じまたはそれより大きい第2のオブジェクトについては、前記オブジェクトラスタライズ手段によるラスタライズ処理後のオブジェクトを選択するオブジェクト選択手段と、
前記オブジェクト選択手段により選択された全てのオブジェクトを含む合成画像を生成する合成画像生成手段として、
さらに機能させ、
前記送信手段は、前記2以上のオブジェクトに前記第2のオブジェクトが存在する場合、前記解像度設定から前記第2のオブジェクトの解像度設定を削除し、前記合成画像を前記印刷データとして前記第1の印刷装置に送信することを特徴とする請求項1記載のプログラム。
【請求項7】
複数のメーカーの提供する印刷装置で共通して利用可能な汎用印刷ソフトウェアの機能を拡張アプリケーションにより拡張し、メーカー独自のラスタライズ処理を実現するための制御を行う情報処理装置の制御方法であって、
前記汎用印刷ソフトウェアの機能によりユーザから印刷設定が指示された際、前記ユーザからラスタライズ処理の際の解像度設定を受け付ける受付ステップと、
印刷データ及び前記受付ステップにおいて受け付けた解像度設定を、前記情報処理装置に通信可能に接続される第1の印刷装置に送信する送信ステップと、
を有することを特徴する制御方法。
【請求項8】
複数のメーカーの提供する印刷装置で共通して利用可能な汎用印刷ソフトウェアの機能を拡張アプリケーションにより拡張し、メーカー独自のラスタライズ処理を実現するための制御を行う情報処理装置であって、
前記汎用印刷ソフトウェアの機能によりユーザから印刷設定が指示された際、前記ユーザからラスタライズ処理の際の解像度設定を受け付ける受付手段と、
印刷データ及び前記受付手段で受け付けた解像度設定を、前記情報処理装置に通信可能に接続される第1の印刷装置に送信する送信手段と、
を備えることを特徴する情報処理装置。
発明の詳細な説明
【技術分野】
【0001】
本発明は、プログラム、情報処理装置の制御方法、及び情報処理装置に関し、特に、汎用印刷ソフトウェアの機能を拡張するプログラム、情報処理装置の制御方法、及び情報処理装置に関する。
続きを表示(約 1,700 文字)
【背景技術】
【0002】
従来、印刷装置の制御用ソフトウェアとしてホストコンピュータにプリンタドライバをインストールし、そのプリンタドライバを利用してホストコンピュータに接続された印刷装置に対して印刷指示を行う構成が知られている。
【0003】
ホストコンピュータには、基本ソフトウェアであるオペレーティングシステム(OS)がインストールされており、プリンタドライバはそのOSの規定する仕様に従って構成され、OSから呼び出されて動作する。印刷装置を提供するメーカーは、OSの仕様に適合するプリンタドライバをホストコンピュータのユーザに提供することにより、ユーザがホストコンピュータ上でOSを用いて印刷装置に印刷を指示する手段を提供することができる。
【0004】
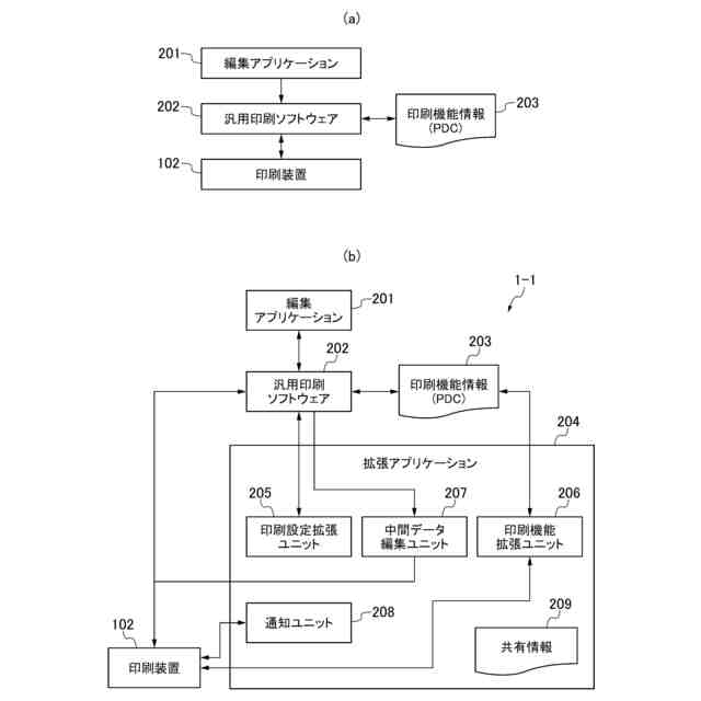
近年、Windows(登録商標)において、複数のメーカーの提供する印刷装置で共通して利用可能な標準的なソフトウェア(以下、「標準ドライバ」とも呼ぶ)が提供されている。このような標準ドライバは、OSのパッケージの中に同梱されており、ホストコンピュータに任意の印刷装置を接続するだけで、すぐにホストコンピュータからその印刷装置への印刷指示が可能となる。よって、印刷装置に適した機種固有のプリンタドライバを別途インストールする必要が無く、利便性が高い。また、標準ドライバでは、接続した印刷装置から取得した情報に基づき生成されたPrintDeviceCapabilities(以下、「PDC」)に応じて印刷機能が指定可能に構成される。これにより、標準ドライバを利用するユーザは、1つの標準ドライバを利用しているにも関わらず、接続した印刷装置の能力に応じた印刷機能を指定することができる。しかしながら、この場合に指定できる印刷機能は標準ドライバのみで実現可能な機能に留まる。このため、ホストコンピュータに接続される印刷装置で実行することのできる機能であっても、標準ドライバで実現することはできない、メーカー独自の機能が存在する。
【0005】
そこで、特許文献1には、標準ドライバの拡張アプリケーションを用いて、メーカー独自の機能を拡張する技術が開示されている。
【0006】
ここで、カラー印刷、ポスター印刷、製本印刷を実現するためのメーカー独自の機能として解像度設定機能がある。解像度設定機能は、印刷データに含まれるベクタ画像をラスタライズ処理によりラスタ画像に変換する際の解像度を切り替える機能である。ここで、ベクタ画像とは、数学的な計算に基づき、線の起点と終点の座標を数値で表す画像形式であり、ラスタ画像は、微小な画素を格子状に配置して表現する画像形式である。また、ラスタライズ処理とはベクタ画像を任意の方法で解釈し、任意の解像度のラスタ画像に変換する処理のことである。尚、ラスタライズ処理は公知の技術であるため処理の詳細説明は省略する。
【0007】
解像度設定機能を用いてラスタライズ処理の解像度を切り替えることにより、細い線や小さな文字を含む印刷データを印刷することができる。
【先行技術文献】
【特許文献】
【0008】
特開2021-33526号公報
【発明の概要】
【発明が解決しようとする課題】
【0009】
しかしながら、特許文献1の拡張アプリケーションは、標準ドライバを使った印刷においてトナー節約処理が実現可能になるものの、解像度設定機能を実現することはできない。一方、印刷時に解像度設定機能を使うことができない場合、ユーザは、ラスタライズ処理の際に印刷データに応じた解像度を変更して印刷することができず、ユーザに不便を強いることになってしまう。
【0010】
よって本発明は、汎用印刷ソフトウェアを使った印刷において、メーカー独自の機能である解像度での印刷を実現することができる仕組みを提供することを目的とする。
【課題を解決するための手段】
(【0011】以降は省略されています)
この特許をJ-PlatPat(特許庁公式サイト)で参照する
関連特許
個人
詐欺保険
1か月前
個人
縁伊達ポイン
1か月前
個人
職業自動販売機
26日前
個人
5掛けポイント
1か月前
個人
RFタグシート
1か月前
個人
QRコードの彩色
2か月前
個人
ペルソナ認証方式
1か月前
個人
自動調理装置
1か月前
個人
情報処理装置
1か月前
個人
立体グラフの利用方法
5日前
個人
残土処理システム
2か月前
個人
農作物用途分配システム
1か月前
NISSHA株式会社
入力装置
6日前
個人
知的財産出願支援システム
2か月前
個人
インターネットの利用構造
1か月前
個人
サービス情報提供システム
28日前
個人
タッチパネル操作指代替具
1か月前
個人
携帯端末障害問合せシステム
1か月前
個人
スケジュール調整プログラム
1か月前
個人
学習用データ生成装置
7日前
個人
エリアガイドナビAIシステム
1か月前
個人
帳票自動生成型SaaSシステム
2か月前
個人
音声・通知・再配達UX制御構造
2か月前
キヤノン株式会社
印刷システム
1か月前
トヨタ自動車株式会社
通知装置
1か月前
キヤノン株式会社
画像認識装置
20日前
キヤノン株式会社
情報処理装置
20日前
キラル株式会社
顧客体験提供システム
8日前
キヤノン株式会社
情報処理装置
20日前
株式会社ケアコム
項目選択装置
1か月前
キヤノン株式会社
情報処理装置
1か月前
株式会社ワコム
電子ペン
1か月前
株式会社ワコム
電子ペン
1か月前
エッグス株式会社
情報処理装置
1か月前
株式会社ケアコム
項目選択装置
1か月前
大同大學
スーパーアプリ構築方法
20日前
続きを見る
他の特許を見る