TOP
|
特許
|
意匠
|
商標
特許ウォッチ
Twitter
他の特許を見る
10個以上の画像は省略されています。
公開番号
2025178673
公報種別
公開特許公報(A)
公開日
2025-12-09
出願番号
2024085421
出願日
2024-05-27
発明の名称
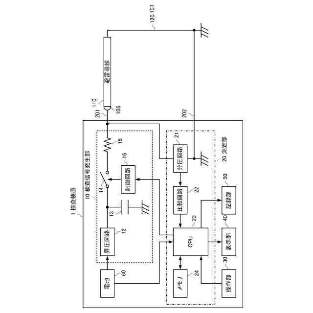
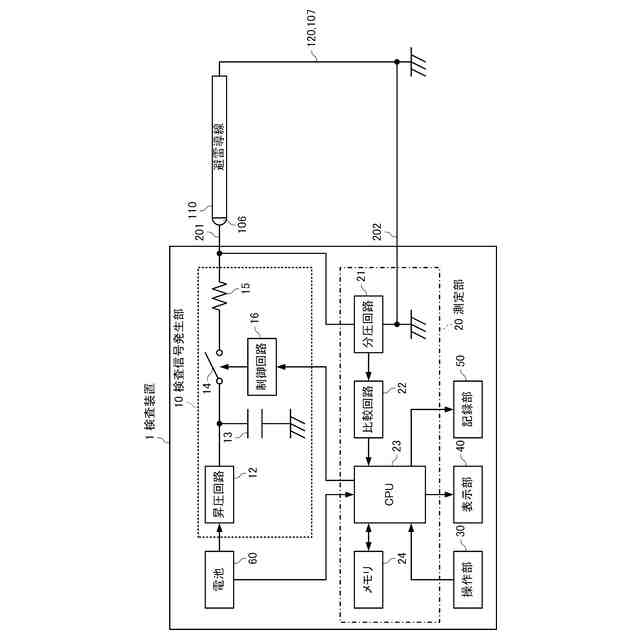
避雷導線の検査装置
出願人
株式会社昭電
代理人
個人
,
個人
,
個人
,
個人
主分類
G01R
31/54 20200101AFI20251202BHJP(測定;試験)
要約
【課題】避雷導線が先端部で断線していてもユーザーが断線の有無を誤判定しないために有用な測定結果を出力可能な検査装置を提供する。
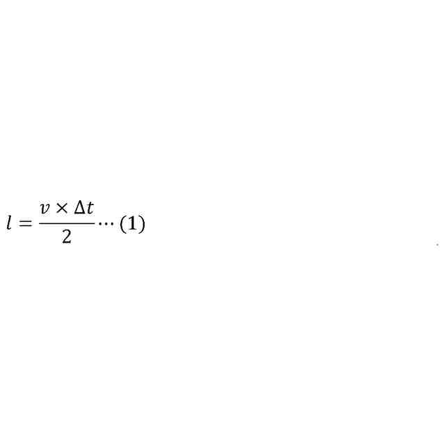
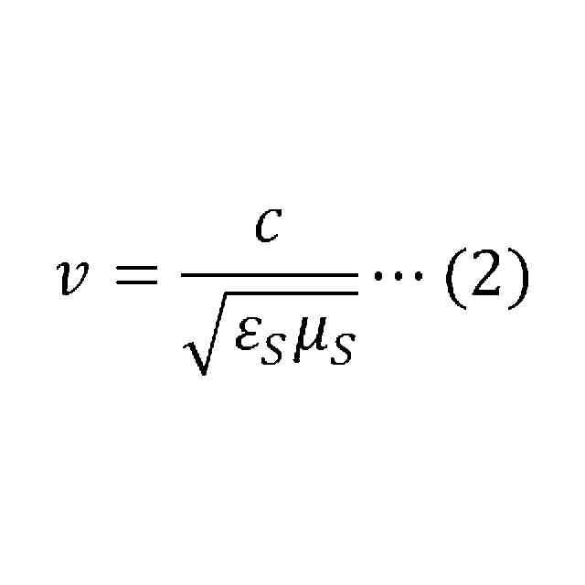
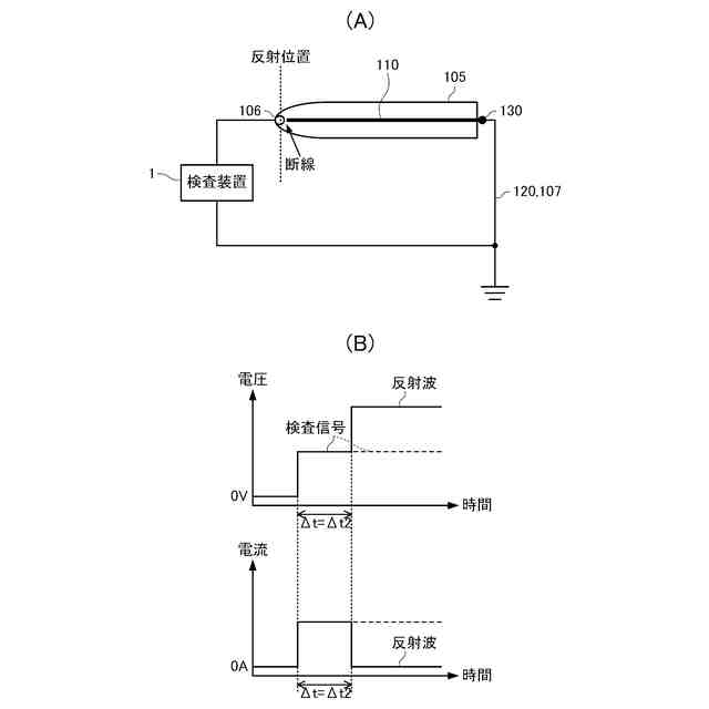
【解決手段】避雷導線の検査装置1は、検査信号を発生させ、避雷導線110の先端部と接続されるレセプター106に検査信号を出力する検査信号発生部10と、レセプター106の電圧波形又は電流波形を観測し、検査信号の到達時間と、検査信号の反射波の到達時間との時間差Δtを測定する測定部20と、を備える。
【選択図】図3
特許請求の範囲
【請求項1】
検査信号を発生させ、避雷導線の先端部と接続されるレセプターに前記検査信号を出力する検査信号発生部と、
前記レセプターの電圧波形又は電流波形を観測し、前記検査信号の到達時間と前記検査信号の反射波の到達時間との時間差を測定する測定部と、を備えることを特徴とする避雷導線の検査装置。
続きを表示(約 280 文字)
【請求項2】
請求項1に記載の避雷導線の検査装置において、
前記測定部は、測定した前記時間差を用いて、前記検査信号が伝搬した距離又は前記検査信号が反射した位置を求めることを特徴とする避雷導線の検査装置。
【請求項3】
請求項1又は2に記載の避雷導線の検査装置において、
前記測定部は、前記避雷導線の根元部を接地する接地部材と接続されることを特徴とする避雷導線の検査装置。
【請求項4】
請求項1又は2に記載の避雷導線の検査装置において、
前記検査信号は、パルス波であることを特徴とする避雷導線の検査装置。
発明の詳細な説明
【技術分野】
【0001】
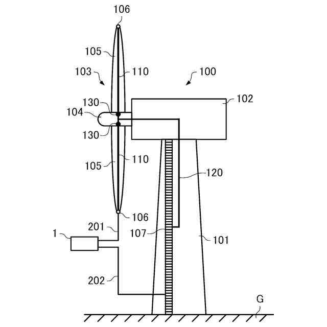
本発明は、避雷導線(ダウンコンダクター)の検査装置に関する。
続きを表示(約 1,600 文字)
【背景技術】
【0002】
特許文献1や特許文献2には、避雷導線の根元からステップ波を注入し、当該ステップ波とその反射波を観測することにより、避雷導線の断線を検出する技術が記載されている。
【先行技術文献】
【特許文献】
【0003】
特開2013-29351号公報
特開2021-25859号公報
【発明の概要】
【発明が解決しようとする課題】
【0004】
特許文献1や特許文献2に記載の技術では、図10(A)に示すように、避雷導線が断線していない場合は、ステップ波がレセプターとの接続部で反射した反射波が観測される。一方、図10(B)に示すように、避雷導線の先端部付近が断線している場合は、ステップ波が断線箇所で反射した反射波が観測される。当該断線箇所はレセプターに近接しているため、例えば、図11に示すように、避雷導線の先端部から数cmの箇所が断線している場合に観測される反射波は、避雷導線が断線していない場合に観測される反射波とほとんど差異がなく、避雷導線が断線していないと誤判定される可能性がある。また、図10(A)及び図10(B)に示すように、避雷導線と接地線との接続部を外して、避雷導線と接地線との間に検査装置を接続する必要があるが、避雷導線と接地線との接続部が劣化していると、接続部を外した際に破断し、あるいは、接続部を外すことができない事態も起こり得る。
【0005】
そこで、本発明が解決しようとする課題は、避雷導線が先端部で断線していてもユーザーが断線の有無を誤判定しないために有用な測定結果を出力可能な検査装置を提供することにある。
【課題を解決するための手段】
【0006】
本発明は前述の課題の少なくとも一部を解決するためになされたものであり、以下の態様又は適用例として実現することが可能である。
【0007】
[適用例1]
本適用例に係る避雷導線の検査装置は、検査信号を発生させ、避雷導線の先端部と接続されるレセプターに前記検査信号を出力する検査信号発生部と、前記レセプターの電圧波形又は電流波形を観測し、前記検査信号の到達時間と前記検査信号の反射波の到達時間との時間差を測定する測定部と、を備えることを特徴とする。
【0008】
本適用例に係る避雷導線の検査装置では、検査信号発生部が避雷導線の先端部と接続されるレセプターに検査信号を出力し、測定部がその応答波形を観察して検査信号の到達時間と当該検査信号の反射波の到達時間との時間差を測定する。避雷導線が断線していない場合、検査信号は避雷導線の根元部で反射し、避雷導線が断線している場合、検査信号は避雷導線の断線箇所で反射し、レセプターに到達する。したがって、避雷導線が先端部で断線している場合の反射波の到達時間は、避雷導線が先端部以外で断線している場合の反
射波の到達時間や、避雷導線が断線していない場合の反射波の到達時間よりも短くなるので、ユーザーは、測定部が測定する時間差に基づいて、避雷導線が断線しているか否かを精度よく判定することができる。このように、本適用例に係る避雷導線の検査装置によれば、避雷導線が先端部で断線していてもユーザーが断線の有無を誤判定しないために有用な測定結果を出力することができる。
【0009】
[適用例2]
上記適用例に係る避雷導線の検査装置において、前記測定部は、測定した前記時間差を用いて、前記検査信号が伝搬した距離又は前記検査信号が反射した位置を求めてもよい。
【0010】
本適用例に係る避雷導線の検査装置によれば、検査信号が伝搬した距離又は検査信号が反射した位置を求めるので、ユーザーは、当該距離又は当該位置に基づいて、避雷導線の断線の有無や断線箇所を判定することができる。
(【0011】以降は省略されています)
この特許をJ-PlatPat(特許庁公式サイト)で参照する
関連特許
株式会社昭電
避雷導線の検査装置
1日前
NTT株式会社
電荷分布推定装置、電荷分布推定方法、及びプログラム
12日前
他の特許を見る