TOP
|
特許
|
意匠
|
商標
特許ウォッチ
Twitter
他の特許を見る
10個以上の画像は省略されています。
公開番号
2025178656
公報種別
公開特許公報(A)
公開日
2025-12-09
出願番号
2024085395
出願日
2024-05-27
発明の名称
画像処理装置及び画像処理方法
出願人
株式会社三井E&S
代理人
弁理士法人磯野国際特許商標事務所
主分類
G06Q
50/08 20120101AFI20251202BHJP(計算;計数)
要約
【課題】エンジンのピストンに対する推定結果の信頼性を向上させる。
【解決手段】本発明の画像処理装置100は、エンジンのピストンの画像データ、及び前記ピストンのピストンリングの表面状態又は前記ピストンのリングランドの清浄度を関連付けた教師データを用いて訓練した学習器5と、エンジンの検査対象ピストンを撮影して得られた画像データを前記学習器5に入力して、前記検査対象ピストンを認識する認識部2と、前記認識部2の認識結果に基づいて、前記検査対象ピストンのピストンリングの表面状態又は前記検査対象ピストンのリングランドの清浄度を推定する推定部1と、を備える。
【選択図】図1
特許請求の範囲
【請求項1】
エンジンのピストンの画像データ、及び前記ピストンのピストンリングの表面状態又は前記ピストンのリングランドの清浄度を関連付けた教師データを用いて訓練した学習器と、
エンジンの検査対象ピストンを撮影して得られた画像データを前記学習器に入力して、前記検査対象ピストンを認識する認識部と、
前記認識部の認識結果に基づいて、前記検査対象ピストンのピストンリングの表面状態又は前記検査対象ピストンのリングランドの清浄度を推定する推定部と、を備える画像処理装置。
続きを表示(約 1,100 文字)
【請求項2】
前記認識部は、前記検査対象ピストンの画像データから検出されたピストンリング又はリングランドの並び順を前記認識結果として求める、請求項1に記載の画像処理装置。
【請求項3】
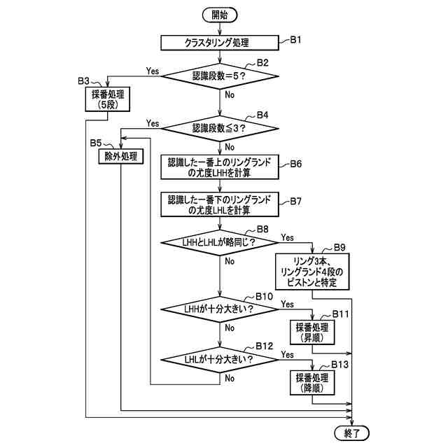
前記認識部は、前記検査対象ピストンの画像データから検出されたピストンリング又はリングランドに対してクラスタリング処理をし、前記検査対象ピストンのピストンリング又はリングランドの段数を認識し、前記認識した段数に応じて前記並び順を決定する、請求項2に記載の画像処理装置。
【請求項4】
前記認識部は、個々のピストンリング又はリングランドに対する前記認識結果やクラスタリング結果に応じた並び順を採用する、請求項3に記載の画像処理装置。
【請求項5】
前記検査対象ピストンを撮影して得られた画像データから前記検査対象ピストンの特徴量を抽出する抽出部、をさらに備える、請求項1に記載の画像処理装置。
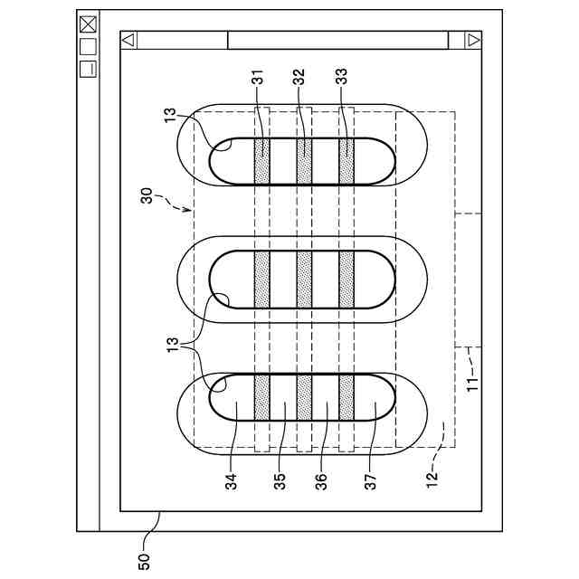
【請求項6】
前記検査対象ピストンの画像データは、掃気ポート越しに前記検査対象ピストンの一部を撮影して得られた画像データである、請求項1に記載の画像処理装置。
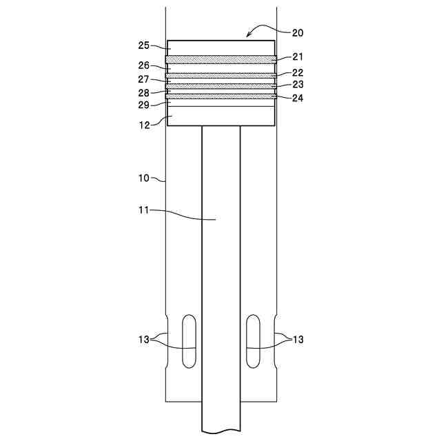
【請求項7】
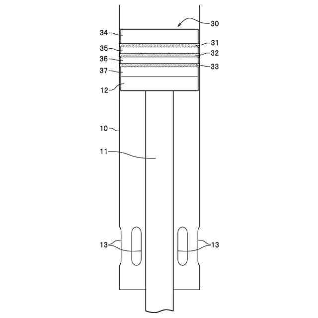
前記検査対象ピストンを撮影して得られた画像データは、前記ピストンリングが3本及び前記リングランドが4段、が少なくとも写っている画像データである、請求項1に記載の画像処理装置。
【請求項8】
前記推定部は、前記検査対象ピストンのピストンリングの表面状態、及び前記検査対象ピストンのリングランドの清浄度を同時に推定する、請求項1に記載の画像処理装置。
【請求項9】
前記推定部は、前記検査対象ピストンのピストンリングの表面状態と同時に前記画像データの画像品質を推定する、又は前記検査対象ピストンのリングランドの清浄度と同時に前記画像データの画像品質を推定する、請求項1に記載の画像処理装置。
【請求項10】
エンジンのピストンの画像データ、及び前記ピストンのピストンリングの表面状態又は前記ピストンのリングランドの清浄度を関連付けた教師データを用いて訓練した学習器を備える画像処理装置が、
エンジンの検査対象ピストンを撮影して得られた画像データを前記学習器に入力して、前記検査対象ピストンを認識する認識ステップと、
前記認識ステップの認識結果に基づいて、前記検査対象ピストンのピストンリングの表面状態又は前記検査対象ピストンのリングランドの清浄度を推定する推定ステップと、を実行する画像処理方法。
発明の詳細な説明
【技術分野】
【0001】
本発明は、画像処理装置及び画像処理方法に関する。
続きを表示(約 2,500 文字)
【背景技術】
【0002】
近年、インフラの構造物、大型設備、大型乗り物等を管理するための技術開発が盛んであり、関連する発明が公開されている。例えば、特許文献1には、構造物を点検する点検支援装置等について開示されている。特許文献1の点検支援装置は、構造物の損傷を含む画像を整理するプロセッサを備える。プロセッサは、媒体上の対象構造物の構造図と、媒体上にユーザにより追加された損傷に関する損傷識別情報及び撮影画像識別情報とを含む情報の画像データを取得する。また、プロセッサは、取得された画像データから画像認識により損傷識別情報及び撮影画像識別情報を認識する。また、プロセッサは、同じ損傷に対する損傷識別情報と撮影画像識別情報とを関連付ける。また、プロセッサは、撮影画像識別情報に対応する撮影画像を取得し、損傷識別情報と撮影画像とを関連付ける。
【先行技術文献】
【特許文献】
【0003】
特開2023-57591号公報
【発明の概要】
【発明が解決しようとする課題】
【0004】
特許文献1の発明を含め、従来技術では、現場に載置されている検査対象物を撮影した画像を用いて検査する。しかしながら、現場は、撮影条件が良好とは言い難く、現場で撮影された検査対象物の画像は鮮明とは限らない。それゆえ、検査対象物の画像認識の精度向上には限界があり、画像を利用した推定(例えば、検査対象物の表面状態の推定)の推定結果の信頼性を向上させることができない、という問題点がある。特に、検査対象物が、船体に搭載されているディーゼルエンジンのピストンである場合、ピストンの表面状態等の推定のために、ピストンを撮影した画像について、ピストンの誤認識を改善したいという要望がある。
このような観点から、本発明は、エンジンのピストンに対する推定結果の信頼性を向上させることを課題とする。
【課題を解決するための手段】
【0005】
前記課題を解決する本発明は、エンジンのピストンの画像データ、及び前記ピストンのピストンリングの表面状態又は前記ピストンのリングランドの清浄度を関連付けた教師データを用いて訓練した学習器と、エンジンの検査対象ピストンを撮影して得られた画像データを前記学習器に入力して、前記検査対象ピストンを認識する認識部と、前記認識部の認識結果に基づいて、前記検査対象ピストンのピストンリングの表面状態又は前記検査対象ピストンのリングランドの清浄度を推定する推定部と、を備える画像処理装置である。
また、本発明は、エンジンのピストンの画像データ、及び前記ピストンのピストンリングの表面状態又は前記ピストンのリングランドの清浄度を関連付けた教師データを用いて訓練した学習器を備える画像処理装置が、エンジンの検査対象ピストンを撮影して得られた画像データを前記学習器に入力して、前記検査対象ピストンを認識する認識ステップと、前記認識ステップの認識結果に基づいて、前記検査対象ピストンのピストンリングの表面状態又は前記検査対象ピストンのリングランドの清浄度を推定する推定ステップと、を実行する画像処理方法である。
かかる構成によれば、検査対象ピストンについて、ピストンリングの本数、及びリングランドの段数を特定する画像認識が可能となり、検査対象ピストンの画像誤認識を低減できる。学習器で推定する際、検査対象ピストンの認識結果を利用することで、推定結果の信頼性を向上させることができる。
【0006】
また、前記認識部は、前記検査対象ピストンの画像データから検出されたリングランドの並び順を前記認識結果として求める、ことが好ましい。
かかる構成によれば、学習器で推定する際、画像データから検出されたリングランドの並び順を利用することで、推定結果の信頼性をより向上させることができる。
【0007】
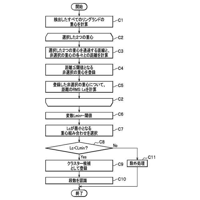
また、前記認識部は、前記検査対象ピストンの画像データから検出されたリングランドに対してクラスタリング処理をし、前記検査対象ピストンのリングランドの段数を認識し、前記認識した段数に応じて前記並び順を決定する、ことが好ましい。
かかる構成によれば、クラスタリング処理により、画像データの画角に収まったリングランドを同一ピストンのリングランドとして認識させることができる。よって、検査対象ピストンのリングランドの段数の認識精度を向上させることができる。リングランドの段数の認識精度の向上に伴い、リングランドの並び順の認識精度を向上させることができる。その結果、並び順を利用することで、推定結果の信頼性をより向上させることができる。
【0008】
前記認識部は、個々のピストンリング又はリングランドに対する前記認識結果やクラスタリング結果に応じた並び順を採用する、ことが好ましい。
かかる構成によれば、並び順を利用することで、推定結果の信頼性をより向上させることができる。
【0009】
また、前記検査対象ピストンを撮影して得られた画像データから前記検査対象ピストンの特徴量を抽出する抽出部、をさらに備える、ことが好ましい。
かかる構成によれば、特徴量の抽出結果に基づいてピストンのピストンリング及びリングランドの識別を容易にすることができる。よって、学習器で推定する際、特徴量の抽出結果も利用することで、推定結果の信頼性をより向上させることができる。
【0010】
また、前記検査対象ピストンの画像データは、掃気ポート越しに前記検査対象ピストンの一部を撮影して得られた画像データである、ことが好ましい。
かかる構成によれば、掃気ポート越しに一部しか視認できない検査対象ピストンであっても、リングの本数、及びリングランドの段数を特定する画像認識が可能となる。よって、学習器で推定する際、検査対象ピストンの認識結果を利用することで、推定結果の信頼性を向上させることができる。
(【0011】以降は省略されています)
この特許をJ-PlatPat(特許庁公式サイト)で参照する
関連特許
個人
5掛けポイント
1か月前
個人
職業自動販売機
25日前
個人
RFタグシート
1か月前
個人
ペルソナ認証方式
1か月前
個人
情報処理装置
1か月前
個人
自動調理装置
1か月前
個人
立体グラフの利用方法
4日前
個人
インターネットの利用構造
1か月前
個人
サービス情報提供システム
27日前
NISSHA株式会社
入力装置
5日前
個人
学習用データ生成装置
6日前
個人
エリアガイドナビAIシステム
1か月前
キヤノン株式会社
情報処理装置
1か月前
株式会社ケアコム
項目選択装置
1か月前
株式会社ケアコム
項目選択装置
1か月前
キヤノン株式会社
画像認識装置
19日前
キヤノン株式会社
情報処理装置
19日前
キヤノン株式会社
情報処理装置
19日前
株式会社ワコム
電子ペン
1か月前
株式会社ワコム
電子ペン
1か月前
トヨタ自動車株式会社
通知装置
1か月前
キラル株式会社
顧客体験提供システム
7日前
大同大學
スーパーアプリ構築方法
19日前
個人
請求金額算出システム
11日前
株式会社アジラ
行動推定システム
19日前
キヤノン電子株式会社
情報処理システム
4日前
株式会社ITP
仮想展示システム
13日前
株式会社フジシール
識別情報利用システム
25日前
PRONI株式会社
受発注支援装置
25日前
PRONI株式会社
受発注支援装置
25日前
株式会社ゼロワン
ケア支援システム
1か月前
トヨタ自動車株式会社
作業計画装置
20日前
村田機械株式会社
ストレージシステム
12日前
キヤノン株式会社
映像送受信システム
1か月前
株式会社三富
取引管理システム
1か月前
三菱電機株式会社
点検管理装置
1か月前
続きを見る
他の特許を見る