TOP
|
特許
|
意匠
|
商標
特許ウォッチ
Twitter
他の特許を見る
公開番号
2025178630
公報種別
公開特許公報(A)
公開日
2025-12-09
出願番号
2024085350
出願日
2024-05-27
発明の名称
検査用ソケット
出願人
株式会社エス・イー・アール
代理人
弁理士法人アズテックIP
主分類
G01R
31/26 20200101AFI20251202BHJP(測定;試験)
要約
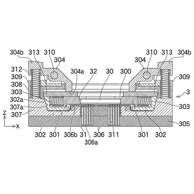
【課題】本発明は、被検査物の端子部を検査基板に接続されたコンタクトプローブと接触させる際に、被検査物が水平方向に保持されながら、被検査物の端子部をコンタクトプローブと接触させて検査を実施する検査用ソケットを提供することを目的とする。
【解決手段】被検査物10の電気特性の検査に使用される検査用ソケット1において、被検査物10を収容する収容部100と、収容部100に収容された被検査物10の側面を押圧する第1押圧部材101と、第1押圧部材101の外側に形成された斜面部を押圧する第2押圧部材102と、収容部100の方向に付勢して第2押圧部材102を押圧する第1スプリング103と、第1押圧部材101に対して垂直方向に押圧する第3押圧部材104と、を備えることを特徴とする。
【選択図】図2
特許請求の範囲
【請求項1】
被検査物の電気特性の検査に使用される検査用ソケットにおいて、
前記被検査物を収容する収容部と、
前記収容部に収容された前記被検査物の側面を押圧する第1押圧部材と、
前記第1押圧部材の外側に形成された斜面部を押圧する第2押圧部材と、
前記収容部の方向に付勢して前記第2押圧部材を押圧する第1スプリングと、
前記第1押圧部材に対して垂直方向に押圧する第3押圧部材と、を備えることを特徴とする検査用ソケット。
続きを表示(約 370 文字)
【請求項2】
被検査物の電気特性の検査に使用される検査用ソケットにおいて、
前記被検査物を収容する収容部と、
前記収容部に収容された前記被検査物の側面を押圧する第1押圧部材と、
前記第1押圧部材の外側に配置される第2押圧部材と、
前記第2押圧部材に固定され前記収容部の方向に付勢して前記第1押圧部材を押圧する第1スプリングと、
前記第1押圧部材および前記第2押圧部材に対して垂直方向に押圧する第3押圧部材と、を備え、
前記第3押圧部材に押圧された前記第2押圧部材は前記第2押圧部材に形成された斜面に沿って斜め下方に移動することを特徴とする検査用ソケット。
【請求項3】
請求項1または2に記載の前記第3押圧部材はラッチ構造であることを特徴とする検査用ソケット。
発明の詳細な説明
【技術分野】
【0001】
本発明は、被検査基板に設けられたコネクタと、検査基板に設けられたプローブピンをコンタクトとしたコネクタが電気的に接続される被検査基板を検査するための装置に関するものである。
続きを表示(約 1,500 文字)
【背景技術】
【0002】
従来の基板試験装置として、検査基板側にコンタクトプローブを配置して、被検査物の電極にコンタクトプローブを接触されることにより電気的特性を検査するものがある。コンタクトプローブに設けられたバネが、被検査物の検査面に対して垂直方向に被検査物の電極に接触することにより、検査を効率的に行うことができる。
【0003】
ここで用いられるコンタクトプローブは、円筒体と、当該円筒体の上下端に摺動自在に収容された端子と、円筒体内に収容され端子に付勢するバネと、を備え、被検査物の電極によって端子が押されたときに、端子が円筒体に接触し、被検査物と検査基板が通電する仕組みである。
【0004】
被検査物の電極にコンタクトプローブを接触させるためには、被検査物の水平方向の位置決めと、被検査物の上方からの押圧が必要となる。特許文献1に記載の電気部品用ソケットは、被検査物たる電気部品を押圧部材が側面から前進および後退をさせながら位置決めを行うとともに、当該押圧部材が電気部品の辺部を上方から押圧して電気部品の端子部とコンタクトプローブを接触させる構成となっている。
【先行技術文献】
【特許文献】
【0005】
特開2017-135027号公報
【発明の概要】
【発明が解決しようとする課題】
【0006】
近年は被検査物の精密化が進み、上面に電子回路が内蔵されている被検査物には上方から圧力をかけることが好ましくないことが多い。特に上面全体に電子回路が内蔵されている場合は、電気部品の端子部とコンタクトプローブを接触させる際の上方からの圧力の制御が困難である。
【0007】
そこで、本発明は、被検査物の端子部を検査基板に接続されたコンタクトプローブと接触させる際に、被検査物が水平方向に保持されながら、被検査物の端子部をコンタクトプローブと接触させて検査を実施する検査用ソケットを提供することを目的とする。
【課題を解決するための手段】
【0008】
すなわち、本発明は前記した目的を達成せんとするもので、請求項1の手段は、被検査物の電気特性の検査に使用される検査用ソケットにおいて、前記被検査物を収容する収容部と、前記収容部に収容された前記被検査物の側面を押圧する第1押圧部材と、前記第1押圧部材の外側に形成された斜面部を押圧する第2押圧部材と、前記収容部の方向に付勢して前記第2押圧部材を押圧する第1スプリングと、前記第1押圧部材に対して垂直方向に押圧する第3押圧部材と、を備えることを特徴とする。
【0009】
また、請求項2の手段は、被検査物の電気特性の検査に使用される検査用ソケットにおいて、前記被検査物を収容する収容部と、前記収容部に収容された前記被検査物の側面を押圧する第1押圧部材と、前記第1押圧部材の外側に配置される第2押圧部材と、前記第2押圧部材に固定され前記収容部の方向に付勢して前記第1押圧部材を押圧する第1スプリングと、前記第1押圧部材および前記第2押圧部材に対して垂直方向に押圧する第3押圧部材と、を備え、前記第3押圧部材に押圧された前記第2押圧部材は前記第2押圧部材に形成された斜面に沿って斜め下方に移動することを特徴とする。
【0010】
また、請求項3の手段は、請求項1または2に記載の前記第3押圧部材はラッチ構造であることを特徴とする。
【発明の効果】
(【0011】以降は省略されています)
この特許をJ-PlatPat(特許庁公式サイト)で参照する
関連特許
個人
視触覚センサ
5日前
個人
採尿及び採便具
1か月前
日本精機株式会社
検出装置
1か月前
個人
計量機能付き容器
1か月前
愛知電機株式会社
外観検査方法
1日前
愛知電機株式会社
外観検査装置
1日前
日本精機株式会社
発光表示装置
13日前
甲神電機株式会社
電流検出装置
1か月前
株式会社カクマル
境界杭
20日前
株式会社ミツトヨ
測定器
1か月前
ユニパルス株式会社
トルク変換器
5日前
ユニパルス株式会社
トルク変換器
5日前
株式会社トプコン
測量装置
12日前
ユニパルス株式会社
トルク変換器
5日前
アズビル株式会社
電磁流量計
1か月前
大成建設株式会社
風洞実験装置
1か月前
日本特殊陶業株式会社
ガスセンサ
5日前
日本特殊陶業株式会社
ガスセンサ
28日前
ローム株式会社
半導体装置
1か月前
ローム株式会社
半導体装置
1か月前
大和製衡株式会社
組合せ計量装置
1か月前
愛知時計電機株式会社
ガスメータ
1か月前
愛知電機株式会社
軸部材の外観検査装置
1か月前
個人
非接触による電磁パルスの測定方法
1か月前
日本特殊陶業株式会社
ガスセンサ
12日前
日本特殊陶業株式会社
ガスセンサ
6日前
個人
システム、装置及び実験方法
1か月前
日本信号株式会社
距離画像センサ
1か月前
大和製衡株式会社
組合せ計量装置
1か月前
双庸電子株式会社
誤配線検査装置
1か月前
個人
計量具及び計量機能付き容器
1か月前
個人
液位検視及び品質監視システム
28日前
株式会社タイガーカワシマ
揚穀装置
12日前
日置電機株式会社
絶縁抵抗測定装置
5日前
日本特殊陶業株式会社
センサ
1か月前
トヨタ自動車株式会社
測定システム
1か月前
続きを見る
他の特許を見る