TOP
|
特許
|
意匠
|
商標
特許ウォッチ
Twitter
他の特許を見る
10個以上の画像は省略されています。
公開番号
2025178518
公報種別
公開特許公報(A)
公開日
2025-12-08
出願番号
2024081817
出願日
2024-05-20
発明の名称
遊技機
出願人
株式会社三共
代理人
主分類
A63F
7/02 20060101AFI20251126BHJP(スポーツ;ゲーム;娯楽)
要約
【課題】結果として好適な遊技機を提供すること。
【解決手段】第1演出モードと、第2演出モードと、第3演出モードと、を備え、演出制御手段は、特定演出を実行可能であり、第1演出モードにおける特定演出の実行割合と、第2演出モードにおける特定演出の実行割合と、第3演出モードにおける特定演出の実行割合と、が異なる。
【選択図】図17-52
特許請求の範囲
【請求項1】
有利状態に制御可能な遊技機であって、
遊技制御手段と、
演出制御手段と、
発光手段と、
発光制御手段と、
を備え、
第1演出モードと、第2演出モードと、を備え、
前記発光制御手段は、
前記第1演出モードの可変表示中において、該第1演出モードに対応する輝度データテーブルを用いて、前記発光手段を制御可能であり、
前記第2演出モードの可変表示中において、該第2演出モードに対応する輝度データテーブルを用いて、前記発光手段を制御可能であり、
前記演出制御手段は、前記第1演出モードに対応する輝度データテーブルおよび前記第2演出モードに対応する輝度データテーブルよりも消灯態様を表す輝度データを多く含む輝度データテーブルが用いられる特定演出を実行可能であり、
前記第1演出モードにおける前記特定演出の実行割合と、前記第2演出モードにおける前記特定演出の実行割合と、が異なり、
さらに、
表示手段を備え、
前記表示手段は、
所定表示と特定表示を表示可能であり、
前記所定表示を表示しているときに、該所定表示とは異なる特別表示を表示可能であり、
前記特定表示を表示しているときに、前記特別表示は表示せず、
前記特別表示と前記特定表示は、共通の特別態様を用いた表示であり、
前記表示手段は、前記特別表示が表示されることを示唆する示唆表示を第1期間表示した後に、前記特別表示を第1期間よりも長い第2期間表示し、
前記特別表示が表示された方が、前記特定表示が表示されるよりも遊技者にとって有利な有利状態に制御される割合が高い、遊技機。
発明の詳細な説明
【技術分野】
【0001】
本発明は、遊技が可能な遊技機に関する。
続きを表示(約 5,100 文字)
【背景技術】
【0002】
従来より、以下の文献に示されるような遊技機が知られている。
【先行技術文献】
【特許文献】
【0003】
特開2015-70967号公報
特開2023-13195号公報
特開2018-117697号公報
特開2018-139689号公報
特開2011-200511号公報
特開2021-58381号公報(図11-7)
特開2023-89584号公報
特開2018-139689号公報
【発明の概要】
【発明が解決しようとする課題】
【0004】
上述の特許文献のような機能を有する遊技機において、商品性を高める余地があった。
【0005】
この発明は、上記の実状に鑑みてなされたものであり、商品性を高めた遊技機を提供することを目的とする。
【課題を解決するための手段】
【0006】
本発明の請求項1に記載の遊技機は、
有利状態に制御可能な遊技機であって、
遊技制御手段と、
演出制御手段と、
発光手段と、
発光制御手段と、
を備え、
第1演出モードと、第2演出モードと、を備え、
前記発光制御手段は、
前記第1演出モードの可変表示中において、該第1演出モードに対応する輝度データテーブルを用いて、前記発光手段を制御可能であり、
前記第2演出モードの可変表示中において、該第2演出モードに対応する輝度データテーブルを用いて、前記発光手段を制御可能であり、
前記演出制御手段は、前記第1演出モードに対応する輝度データテーブルおよび前記第2演出モードに対応する輝度データテーブルよりも消灯態様を表す輝度データを多く含む輝度データテーブルが用いられる特定演出を実行可能であり、
前記第1演出モードにおける前記特定演出の実行割合と、前記第2演出モードにおける前記特定演出の実行割合と、が異なり、
さらに、
表示手段を備え、
前記表示手段は、
所定表示と特定表示を表示可能であり、
前記所定表示を表示しているときに、該所定表示とは異なる特別表示を表示可能であり、
前記特定表示を表示しているときに、前記特別表示は表示せず、
前記特別表示と前記特定表示は、共通の特別態様を用いた表示であり、
前記表示手段は、前記特別表示が表示されることを示唆する示唆表示を第1期間表示した後に、前記特別表示を第1期間よりも長い第2期間表示し、
前記特別表示が表示された方が、前記特定表示が表示されるよりも遊技者にとって有利な有利状態に制御される割合が高い。
この特徴によれば、上記実情を鑑み、商品性を高めた遊技機を提供することができる。
【0007】
尚、本発明は、本発明の請求項に記載された発明特定事項のみを有するものであってもよいし、本発明の請求項に記載された発明特定事項とともに該発明特定事項以外の構成を有するものであってもよい。
【図面の簡単な説明】
【0008】
パチンコ遊技機の正面図である。
パチンコ遊技機に搭載された各種の制御基板などを示す構成図である。
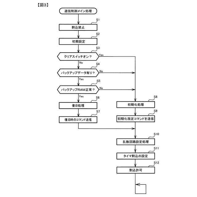
遊技制御メイン処理の一例を示すフローチャートである。
遊技制御用タイマ割込み処理の一例を示すフローチャートである。
特別図柄プロセス処理の一例を示すフローチャートである。
演出制御メイン処理の一例を示すフローチャートである。
演出制御プロセス処理の一例を示すフローチャートである。
遊技フローの具体例を示す説明図である。
パチンコ遊技機の一例である。
保留表示の表示態様の説明図である。
割れ前兆画像のパターン例を示す図である。
客待ちデモ演出の遷移図である。
中央にハンドルを備える例を示す図である。
この実施の形態におけるパチンコ遊技機の正面図である。
パチンコ遊技機に搭載された各種の制御基板などを示す構成図である。
VRAMの内容を示す説明図である
各描画領域の説明図である。
表示優先度の説明図である。
(A)、(B)は、演出制御コマンドを例示する図である。
各乱数を示す説明図である。
表示結果判定テーブルを示す説明図である。
(A)は大当り種別判定テーブルを示す説明図であり、(B)は大当り種別の説明図である。
はずれ変動パターンの説明図である。
大当り変動パターンの説明図である。
変動パターン種別判定テーブルを示す説明図である。
はずれ用変動パターン判定テーブルの説明図である。
はずれ用変動パターン判定テーブルの説明図である。
大当り用変動パターン判定テーブルの説明図である。
遊技制御用データ保持エリアの説明図である。
演出制御用データ保持エリアの説明図である。
遊技制御メイン処理の一例を示すフローチャートである。
遊技制御用タイマ割込み処理の一例を示すフローチャートである。
特別図柄プロセス処理の一例を示すフローチャートである。
始動入賞判定処理の一例を示すフローチャートである。
入賞時乱数値判定処理の一例を示すフローチャートである。
特別図柄通常処理の一例を示すフローチャートである。
変動パターン設定処理の一例を示すフローチャートである。
特別図柄停止処理の一例を示すフローチャートである。
大当り開放中処理の一例を示すフローチャートである。
大当り終了処理の一例を示すフローチャートである。
演出制御メイン処理の一例を示すフローチャートである。
演出制御プロセス処理の一例を示すフローチャートである。
保留演出設定処理の一例を示すフローチャートである。
(A)は、アクティブ表示の最終表示態様設定データを示す説明図であり、(B1)及び(B2)は、変化パターン設定データを示す説明図である。
(B3)及び(B4)は、変化パターン設定データを示す説明図である。
(A)は、アクティブ変化演出の実行有無及び演出態様設定データを示す説明図であり、(B)は、アクティブ変化煽り演出の実行有無及び演出態様設定データを示す説明図である。
可変表示開始設定処理の一例を示すフローチャートである。
低Bリーチ前演出設定処理の一例を示すフローチャートである。
低Bノーマルリーチ演出設定処理の一例を示すフローチャートである。
低B弱SPリーチ演出設定処理の一例を示すフローチャートである。
低B強SPリーチ演出設定処理の一例を示すフローチャートである。
高Bリーチ前演出設定処理の一例を示すフローチャートである。
高BSPリーチ演出設定処理の一例を示すフローチャートである。
低B状態における変動開始時レバブル演出の実行有無設定データを示す説明図である。
低B状態におけるリーチ前役物演出の実行有無設定データを示す説明図である。
第1リーチ前セリフ演出の実行有無及び演出態様設定データを示す説明図である。
第2リーチ前セリフ演出の実行有無及び演出態様設定データを示す説明図である。
第2リーチ前セリフ演出の演出態様データを示す説明図である。
ZONE演出の実行有無設定データを示す説明図である。
ZONE煽り演出の実行有無設定データを示す説明図である。
擬似連煽り演出の実行有無設定データを示す説明図である。
次回予告演出の実行有無設定データを示す説明図である。
ランプSU演出の実行有無及び演出態様設定データを示す説明図である。
第1激熱演出の実行有無設定データを示す説明図である。
カットイン演出の実行有無設定データを示す説明図である。
CUタイトル演出の実行有無設定データを示す説明図である。
CU字幕演出の実行有無設定データを示す説明図である。
CUキャラ演出の実行有無設定データを示す説明図である。
CUエフェクト演出の実行有無設定データを示す説明図である。
第2激熱演出の実行有無設定データを示す説明図である。
レバー操作促進演出の実行有無設定データを示す説明図である。
高B状態における変動開始時レバブル演出の実行有無設定データを示す説明図である。
高B状態におけるリーチ前役物演出の実行有無設定データを示す説明図である。
期待度表示演出の実行有無及び演出態様設定データを示す説明図である。
第3激熱演出の実行有無設定データを示す説明図である。
第4激熱演出の実行有無設定データを示す説明図である。
高Bボタン操作促進演出の実行有無設定データを示す説明図である。
音声データを示す説明図である。
音声データを示す説明図である。
音声データを示す説明図である。
低B状態における楽曲制限演出一覧データを示す説明図である。
高B状態における楽曲制限演出一覧データを示す説明図である。
変動中楽曲出力制限設定処理の一例を示すフローチャートである。
変動中楽曲出力制限設定処理の一例を示すフローチャートである。
変動中楽曲出力制限設定処理の一例を示すフローチャートである。
低B状態における強SPリーチ発展時のリーチフローと楽曲系音声の関連の一例を示す説明図である。
低B状態における擬似連フローと楽曲系音声の関連の一例を示す説明図である。
通常時の各ステージにおいてノーマルリーチに発展する場合に関する各演出及び各演出音の具体例を示す説明図である。
低B状態における変動開始時レバブル演出が実行される場合に関する各演出及び各演出音の具体例を示す説明図である。
低B状態におけるリーチ前役物演出が実行される場合に関する各演出及び各演出音の具体例を示す説明図である。
変化演出(青変化)が実行される場合に関する各演出及び各演出音の具体例を示す説明図である。
変化演出(赤変化)が実行される場合に関する各演出及び各演出音の具体例を示す説明図である。
変化煽り演出(弱変化煽り)が実行される場合に関する各演出及び各演出音の具体例を示す説明図である。
変化煽り演出(強変化煽り)が実行される場合に関する各演出及び各演出音の具体例を示す説明図である。
第1リーチ前セリフ演出及び通常ボタン操作促進演出が実行される場合に関する各演出及び各演出音の具体例を示す説明図である。
第1リーチ前セリフ演出及び通常ボタン操作促進演出が実行される場合に関する各演出及び各演出音の具体例を示す説明図である。
第1リーチ前セリフ演出及び通常ボタン操作促進演出が実行される場合に関する各演出及び各演出音の具体例を示す説明図である。
第1リーチ前セリフ演出及びチャンスボタン操作促進演出が実行される場合に関する各演出及び各演出音の具体例を示す説明図である。
第1リーチ前セリフ演出及びチャンスボタン操作促進演出が実行される場合に関する各演出及び各演出音の具体例を示す説明図である。
第1リーチ前セリフ演出及びチャンスボタン操作促進演出が実行される場合に関する各演出及び各演出音の具体例を示す説明図である。
【発明を実施するための形態】
【0009】
本遊技機の特徴を以下に説明する。
【0010】
(基本説明)
まず、パチンコ遊技機1の基本的な構成及び制御(一般的なパチンコ遊技機の構成及び制御でもある。)について説明する。
(【0011】以降は省略されています)
この特許をJ-PlatPat(特許庁公式サイト)で参照する
関連特許
株式会社三共
遊技機
2日前
株式会社三共
遊技機
1か月前
株式会社三共
遊技機
1か月前
株式会社三共
遊技機
1か月前
株式会社三共
遊技機
1か月前
株式会社三共
遊技機
1か月前
株式会社三共
遊技機
1か月前
株式会社三共
遊技機
1か月前
株式会社三共
遊技機
1か月前
株式会社三共
遊技機
1か月前
株式会社三共
遊技機
1か月前
株式会社三共
遊技機
1か月前
株式会社三共
遊技機
1か月前
株式会社三共
遊技機
1か月前
株式会社三共
遊技機
1か月前
株式会社三共
遊技機
1か月前
株式会社三共
遊技機
1か月前
株式会社三共
遊技機
1か月前
株式会社三共
遊技機
1か月前
株式会社三共
遊技機
1か月前
株式会社三共
遊技機
1か月前
株式会社三共
遊技機
1か月前
株式会社三共
遊技機
1か月前
株式会社三共
遊技機
1か月前
株式会社三共
遊技機
1か月前
株式会社三共
遊技機
1か月前
株式会社三共
遊技機
1か月前
株式会社三共
遊技機
1か月前
株式会社三共
遊技機
1か月前
株式会社三共
遊技機
1か月前
株式会社三共
遊技機
1か月前
株式会社三共
遊技機
1か月前
株式会社三共
遊技機
1か月前
株式会社三共
遊技機
1か月前
株式会社三共
遊技機
1か月前
株式会社三共
遊技機
1か月前
続きを見る
他の特許を見る