TOP
|
特許
|
意匠
|
商標
特許ウォッチ
Twitter
他の特許を見る
10個以上の画像は省略されています。
公開番号
2025178463
公報種別
公開特許公報(A)
公開日
2025-12-05
出願番号
2025165977,2020216009
出願日
2025-10-02,2020-12-25
発明の名称
簡易建物
出願人
三協立山株式会社
代理人
個人
主分類
E04B
1/343 20060101AFI20251128BHJP(建築物)
要約
【課題】 所定の強度を満足し、屋根の高さが低く、意匠性に優れた簡易建物の提供。
【解決手段】 桁1a,1bと、垂木2,3と、屋根材4と、柱5とを備え、桁1a,1bは、中空部6からなる本体部7と、本体部7の内周側に設けた樋部8を有し、柱5は、桁1a,1bの本体部7の下面7aと樋部8の下面8aに跨って当接して桁1a,1bを支持しており、垂木2,3は、長手方向の端部が桁1a,1bの本体部7の内周側に固定してあり、屋根材4は、垂木2,3に取付けてあり、垂木2,3及び屋根材4が桁1a,1bの上下寸法H内に納まっている。
【選択図】 図1
特許請求の範囲
【請求項1】
桁と、垂木と、屋根材と、柱とを備え、桁は、中空部からなる本体部と、本体部の内周側に設けた樋部を有し、柱は、桁の本体部の下面と樋部の下面に跨って当接して桁を支持しており、垂木は、長手方向の端部が桁の本体部の内周側に固定してあり、屋根材は、垂木に取付けてあり、垂木及び屋根材が桁の上下寸法内に納まっていることを特徴とする簡易建物。
発明の詳細な説明
【技術分野】
【0001】
本発明は、通路シェルターやカーポート等の簡易建物に関する。
続きを表示(約 2,600 文字)
【背景技術】
【0002】
従来の簡易建物は、屋根の桁の上下寸法が大きいために屋根の高さ(屋根自体の上下寸法)が高くなっており(例えば、非特許文献1参照)、大きい部材を用いることなく所定の強度が得られる簡易建物が求められていた。
【先行技術文献】
【非特許文献】
【0003】
三協立山アルミ株式会社発行のカタログ「三協立山アルミ パブリックエクステリア総合カタログ 2008→2009」(カタログNo.STX0240E)、2008年10月、p.154-155
【発明の概要】
【発明が解決しようとする課題】
【0004】
本発明は以上に述べた実情に鑑み、所定の強度を満足し、屋根の高さが低く、意匠性に優れた簡易建物の提供を目的とする。
【課題を解決するための手段】
【0005】
上記の課題を達成するために請求項1記載の発明による簡易建物は、桁と、垂木と、屋根材と、柱とを備え、桁は、中空部からなる本体部と、本体部の内周側に設けた樋部を有し、柱は、桁の本体部の下面と樋部の下面に跨って当接して桁を支持しており、垂木は、長手方向の端部が桁の本体部の内周側に固定してあり、屋根材は、垂木に取付けてあり、垂木及び屋根材が桁の上下寸法内に納まっていることを特徴とする。
【発明の効果】
【0006】
請求項1記載の発明による簡易建物は、桁に中空部からなる本体部と、本体部の内周側に設けた樋部を有し、垂木は長手方向の端部を桁の本体部の内周側に固定したことで、所定の強度を確保しつつ屋根の高さを低くすることができ、しかも垂木及び屋根材が桁の上下寸法内に納まっていることで、桁で垂木及び屋根材が隠れるため、意匠性が良い。また、柱が桁の本体部の下面と樋部の下面に跨って当接していることで、桁の樋部から柱に水を流しやすい。
【図面の簡単な説明】
【0007】
図4のA-A断面図である。
図4のB-B断面図である。
図1のC-C断面図である。
本発明に係る簡易建物の第1実施形態を示す斜視図である。
第1実施形態の簡易建物の施工手順を示す斜視図である。
第1実施形態の簡易建物の施工手順(図5-1の続き)を示す斜視図である。
垂木及び妻垂木を取付けるときの状態を示す斜視図である。
止水板を取付けるときの状態を示す斜視図である。
妻破風を取付けるときの状態を示す斜視図である。
パネル押えを取付けるときの状態を示す斜視図である。
図14のD-D断面図である。
図14のE-E断面図である。
図10のF-F断面図である。
(a)は本発明に係る簡易建物の第2実施形態を示す正面図であり、(b)は同側面図である。
第2実施形態の簡易建物の平面図である。
第2実施形態の簡易建物の施工手順を示す斜視図である。
第2実施形態の簡易建物の施工手順(図15-1の続き)を示す斜視図である。
【発明を実施するための形態】
【0008】
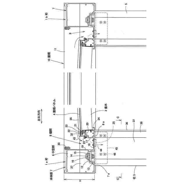
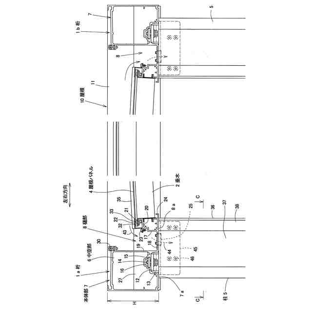
以下、本発明の実施の形態を図面に基づいて説明する。図1~9は、本発明に係る簡易建物の第1実施形態を示している。本実施形態の簡易建物は、通路シェルターに適用したものであり、図4に示すように、前後方向及び左右方向に間隔をおいて立設した4本の柱5と、柱5上に支持した屋根10とを備えている。
屋根10は、左右両側に配置された桁1a,1bと、左右の桁1a,1bの前側及び後側の端部をそれぞれ連結する妻破風11と、左右の桁1a,1bの間に前後方向に間隔をおいて架設した妻垂木3及び垂木2と、妻垂木3及び垂木2間に取付けた屋根パネル4とを備えている。左右の桁1a,1bと前後の妻破風11は水平に配置されており、周囲から見て屋根10は水平且つフラットに見える。
【0009】
桁1a,1bは、アルミニウム合金の押出形材で形成したものであって、図1に示すように、略矩形断面の中空部6からなる本体部7と、本体部7の屋根枠内周側(以下、単に「内周側」という)に設けた樋部8を一体に有している。
本体部7の下面7aには、柱5の上端部に取付けた連結金具12を受け入れる連結金具収納溝13と、連結金具13とボルト14で固定される裏板15を保持するための裏板保持溝16が、桁1a,1bの長手方向に沿って形成してある。桁1a,1bは、連結金具12と裏板15とボルト14を介して本体部7で柱5と固定してある。
樋部8は、内周側壁17と底壁18と外周側壁19とで上側が開放した略コ字型断面の溝状に形成してあり、外周側壁19は本体部7の内周側壁が兼ねており、樋部8の下面8aは本体部7の下面7aと同一平面上にある。内周側壁17は、上部が内周側にクランク状に曲がっており、内周側壁17の上端部に連結壁20が左右方向に設けてある。連結壁20の内周側端部には垂木取付部21が一段高い位置に設けてあり、連結壁20の外周側端部にはパネル押え22の取付部23が設けてある。垂木取付部21は、桁1a,1bの下面から桁1a,1bの上下寸法Hの約半分の高さ位置にある。底壁18は、内周側壁17よりも内周側に延出してあり、内周側端部に垂木2及び妻垂木3の受け部24が設けてある。底壁18には、樋部8に溜まった雨水を排水するための孔を形成し、その孔に水抜き25を取付けてある。
【0010】
従来の簡易建物(例えば、非特許文献1参照)は、桁の本体部の外周側に樋部が設けてあり、垂木の長手方向端部を桁の本体部の上面に取付けていたため、屋根の高さが高くなっていた。
本簡易建物は、桁1a,1bの外周側に中空部6からなる本体部7を設け、本体部7の内周側に樋部8を設け、樋部8の内周側に垂木取付部21を設けたことで、所定の強度を確保しながら桁1a,1bの上下寸法Hを低くすることができる。具体的には、桁1a,1bの上下寸法Hは120mmとしてある。桁1a,1bの上下寸法Hを低くすることで、屋根10の高さも低く抑えられる。樋部8が本体部7の内周側に配置されていることで、樋部8が目立たず意匠性が良い。
(【0011】以降は省略されています)
この特許をJ-PlatPat(特許庁公式サイト)で参照する
関連特許
三協立山株式会社
手摺
26日前
三協立山株式会社
構造体
26日前
三協立山株式会社
構造体
1か月前
三協立山株式会社
構造体
1か月前
三協立山株式会社
開口部装置
4日前
三協立山株式会社
開口部建材
1か月前
三協立山株式会社
開口部建材
1か月前
三協立山株式会社
上げ下げ窓
1か月前
三協立山株式会社
水耕栽培装置
2か月前
三協立山株式会社
バッテリーケース
1か月前
三協立山株式会社
フェンスの製造方法
3日前
オイレスECO株式会社
跳ね上げ式門扉
12日前
三協立山株式会社
構造体
26日前
三協立山株式会社
簡易建物
3日前
三協立山株式会社
スクリーン装置
18日前
三協立山株式会社
Mg合金、Mg合金の製造方法、及び、Mg合金を用いた土木材料及び生体材料
1か月前
個人
接合構造
2か月前
個人
タッチミー
2か月前
個人
屋台
2か月前
個人
野良猫ハウス
3か月前
個人
安心補助てすり
1か月前
個人
転落防止用手摺
3か月前
個人
ベンリナアングル
2か月前
個人
筋交自動設定装置
2か月前
積水樹脂株式会社
柵体
2か月前
個人
居住車両用駐車場
3か月前
個人
熱抵抗多層断熱建材
3か月前
個人
免震建築構造
3日前
個人
補強部材
3か月前
株式会社シンケン
住宅
1か月前
個人
防災建築物
1か月前
成友建設株式会社
建物
3か月前
個人
身体用シェルター
2か月前
株式会社フジタ
合成床
3日前
個人
身体用シェルター
2か月前
三洋工業株式会社
床構造
1か月前
続きを見る
他の特許を見る